Расположение колец на поршне приоры: ВАЗ 2170 | Установка поршневых колец
ВАЗ 2170 | Установка поршневых колец
ВАЗ 2170
Сервисное обслуживание и эксплуатация
Руководства → ВАЗ → 2170 (Приора)
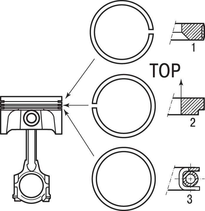
3.16.23. Установка поршневых колец
| ОБЩИЕ СВЕДЕНИЯ |
| Метка R или N на поршневом кольце должна быть направлена к вершине поршня. |
| ПОРЯДОК ВЫПОЛНЕНИЯ | ||||||||||||||||||||||||||
|
||||||||||||||||||||||||||
Реклама
Замена поршней на авто Lada Priora на безвтыковые, особенности выбора поршней
02.03.202311 610 3 4 ВАЗ Priora
Автор:Иван Баранов
Сегодня многие владельцы автомобилей ВАЗ Приора сталкиваются с такой проблемой, как обрыв ремня ГРМ, в результате чего клапана «встречаются» с поршнями.
В итоге эта проблема может обойтись владельцу транспортного средства в «копеечку». Чтобы предотвратить это, некоторые автолюбители устанавливают на свои авто безвтыковые поршни СТК, СТИ или Автрамат. О том, какие лучше поставить поршни на свое авто и как производится замена своими руками с фото, читайте далее.
Содержание
- 1 Общая информация и устройство поршня
- 2 Сравнительные характеристики
- 3 Как поменять поршни на безвтыковые или поршни «Автрамат» своими руками?
- 4 Видео «Замены элементов на безвтыковые»
[ Раскрыть]
[ Скрыть]
Общая информация и устройство поршня
Предназначение поршня заключается в передаче энергии, произведенной горючей смесью, к коленчатому валу. Когда продукты сгорания расширяются, на поверхность детали возлагаются огромные нагрузки. Максимальный показатель давления в этом случае может составлять 80 бар, а это сравнимо с силой в несколько тонн.
Температура в цилиндрах при сгорании смеси может достигать 2 600 градусов, что в несколько раз больше температуры, при которой поршень плавится.
В результате в этот момент происходит снижение прочности сплава, по поверхности элемента возникает термонапряжение из-за температурного перепада. Чтобы поршень мог функционировать в таких тяжелых условиях эксплуатации, он должен быть не только легким, но и достаточно устойчивым к износу. Кроме того, качественная кованная группа поршней должна обладать и высоким показателем теплопроводности, что позволит элементам быстро остыть при работе в высоких температурах.
Что касается самой поверхности, то она должна быть сформирована таким образом, чтобы поршень не клинил в цилиндре ни при каких обстоятельствах. В противном случае возможно попадание горячих газов в картер. Поскольку компоненты имеют бочкообразную форму, как вы видите на фото, даже большая разница в температурах днища и юбки не повлияет на его функциональность. Также следует отметить, что эти детали производятся с применением «противоэллипса», что дает возможность компенсировать деформацию юбки.
Верхним элементов поршней является головки, которая состоит из днища и канавки, при помощи которых устанавливаются кольца уплотнения. Головка должна быть более надежной, поскольку большинство нагрузок приходится именно на нее. Поэтому головки поршней обрабатываются дополнительным защитным покрытием. Сами канавки для уплотнительных колец изготовляются под небольшим углом, в результате чего наружные кромки колечек будут чуть выше внутренних. В результате этого наклон поперечного сечения канавки не появится, а это вполне возможно.
Чтобы поршень лучше скользил, его поверхность также вскрывается дополнительными материалами. Для большей приработки производитель обычно использует фосфатирование или олово, что также позволяет снизить вероятность появления царапин при запуске холодного мотора. Но такое покрытие обычно изнашивается при обкатке. Другое покрытие — антифрикционное — остается на весь срок службы, оно способствует предотвращению появления ржавчины и эрозии на рабочих поверхностях.
Юбка поршня должна быть обработана специальными резцами, чтобы обеспечить создание микрорельефа. Таким образом моторная смазывающая жидкость будет лучше держаться на поверхности элемента, а трение будет гораздо меньшим. так какие лучше поставить поршни на свое авто?
Производителя вы будете выбирать сами, но от себя мы хотим добавить, что всем перечисленным выше требованиям соответствует продукция компаний:
- СТИ;
- СТК;
- Автрамат.
Сравнительные характеристики
Чтобы вы могли понять, какая группа поршней лучше, рассмотрим сравнительные характеристики всех трех производителей с фото:
- Начнем с продукции СТИ. Кованные поршни СТИ производятся в Тольятти и изготовлены они способом горячего прессования. Как показывают отзывы потребителей, которые уже установили СТИ, эти кованные поршни во многом снижают коэффициент полезного действия мотора.
Это обусловлено тем, что детали СТИ обладают пониженной степенью сжатия и большим размером камеры сгорания. Также следует отметить, что в сплаве поршней СТИ содержится меньше кремния, в результате чего прочность компонентов при высоких температурах будет ниже.Четыре поршня СТИКроме того, в результате пониженного содержания никеля в сплаве ресурс работы элемента может быть значительно снижен. При всем этом безвтыковые поршни СТИ стоят дороже СТК и Автрамата.
- Литые поршни Автрамат производятся в Харькове, Украина. При производстве поршней используется сплав, идентичный оригинальным деталям на Приоре. Однако, в отличие от последних, продукция украинского производства может иметь глубокие циковки, а это является несомненным преимуществом Автрамата по сравнению со стандартными поршнями. В данном случае речь идет о безопасности в случае обрыва ремешка ГРМ. Что касается степени сжатия, то в случае с Автраматом она не поменялась.Два поршня Автрамат
Из-за увеличенных выборок для клапанов была незначительно расширена площадь камеры сгорания, что также способствует снижению КПД мотора.
Отечественные автомобилисты на замечают это отличие на практике. Следует отметить, что стоимость деталей Автрамат может быть ниже от 50% до 70% по сравнению с СТИ, в зависимости от автомагазина. - Теперь перейдем к безвтыковым кованным поршням СТК. Продукция СТК производится в Самаре, Россия. Безвтыковые поршни СТК обладают практически теми же свойствами, что и продукция от Автрамата. Исключением является то, что безвтыковые поршни СТК имеют больший вес, в результате чего владельцы Приор часто отмечают в своих отзывах снижение динамики транспортного средства при разгоне. В целом поршни от СТК зарекомендовали себя хорошо среди отечественных автомобилистов.
Поршень производства СТК
Как поменять поршни на безвтыковые или поршни «Автрамат» своими руками?
Таким образом мы подошли к вопросу замены поршней на автомобиль ВАЗ Приора своими руками.
Заранее подготовьте набор гаечных ключей:
- В том случае, если замена элементов осуществляется на автомобиле с большим пробегом, при помощи нутрометра вам придется замерять расстояния от верхней кромки цилиндра в поперечном и продольном направлении мотора.
От верхней кромки при этом нужно отступить 3, 10, 60 и 112 мм, соответственно, у вас должно быть в итоге четыре значения. Таким образом вы сможете выявить, насколько износились цилиндры. В том случае, если износ маленький и составляет до 0.05 мм, то такое расстояние вполне можно компенсировать монтажом элементов с чуть большим диаметром.
Однако, если износ составил от 0.15 мм и больше, то вашим цилиндрам понадобится расточка. Для этого мы советуем совместить этот процесс с установкой безвтыковых элементов. Непосредственно перед разбором мотор следует прочистить. Гаечными ключами откручиваются винты, которые крепят правую опору ДВС, а также переднюю опору и кронштейн генератора. Все кронштейны демонтируются. - Затем следует отключить трубопровод, головку блока, маховик, а также фильтрующий элемент. Подводящая трубка помпы к ГБЦ также отсоединяется. Теперь вам потребуется верстак или соответствующий стенд.
- Далее, демонтируется поддон картера, маслонасос и маслоприемник.
Винты крепления заднего сальника коленчатого вала также откручиваются при помощи гаечного ключа. Непосредственно сам держатель можно демонтировать, поддев его отверткой за канавки на корпусе. - Затем следует по очереди выкрутить все болты крышек шатунов, сами шатуны с поршянми следует демонтировать.
- После этого снимаются поршневые кольца. Само кольцо демонтируется из места установки при помощи той же отвертки. Здесь же обратите внимание на состояние колец — если они изношены, то лучше их поменять.
- При помощи оправки поршневой палец выталкивается, после чего можно демонтировать и сам поршень. После замены все действия по сборке осуществляются в обратном порядке. Следите за тем, чтобы метка на дне элемента была направлена в ту же сторону, куда смотрят стрелки на шатуне.
Видео «Замены элементов на безвтыковые»
Подробнее об этом процессе вы сможете узнать из видео.
Была ли эта статья полезна?
Спасибо за Ваше мнение!
Статья была полезнаПожалуйста, поделитесь информацией с друзьями
Да (100.00%)
Нет
Прецизионная опиловка колец — удобный инструмент для установки зазора поршневых колец Как правило, они начинаются с комплекта колец, в котором верхнее (и часто второе) кольцо изготовлено с диаметром на 0,005 дюйма больше, чем размер отверстия цилиндра. Это позволяет вам установить зазор торца кольца для вашей конкретной комбинации двигателей.
Процесс установки и опиливания колец на самом деле довольно прост, но также очень легко ошибиться. И, честно говоря, все может пойти не так в мгновение ока. Если вы режете слишком быстро, не измеряя, легко получить слишком большой зазор, а во многих случаях и не совсем квадратный.
Определение надлежащего зазора поршневого кольца Для определения начального зазора кольца поместите кольцо внутрь цилиндра ближе к верхней части отверстия.
В некоторых случаях концы могут перекрываться для этого первого теста. Если это так, необходимо будет напилить достаточно материала, чтобы разместить их в отверстии. Каждый раз, когда материал удаляется с кольца, используйте напильник с мелкими зубьями, чтобы слегка очистить разрез.
Перед проверкой зазора кольцо должно быть квадратным внутри отверстия цилиндра по отношению к поверхности деки. А 9Инструмент для выверки колец 0007 отлично работает, хотя можно использовать поршень с плоской вершиной соответствующего диаметра, чтобы протолкнуть кольцо внутрь отверстия примерно на дюйм.
Используйте качественный щуп для проверки зазора. У всех производителей поршней и/или поршневых колец есть рекомендации по желаемому зазору.
Как напилить поршневые кольца, чтобы получить правильный зазор При шлифовке колец идея состоит в том, чтобы подкрасться к правильному зазору, стараясь не удалить слишком много материала за один раз.
Кольца должны быть заточены или отшлифованы внутрь по направлению к внутреннему диаметру кольца. Если подпиливать наружу (по направлению к внешнему диаметру кольца), есть вероятность, что молибден в кольце может отслоиться. Некоторые профессионалы предлагают подпиливать только одну сторону кольца, чтобы создать необходимый зазор.
Всегда не забывайте слегка подпиливать любые заусенцы или шероховатые края перед установкой кольца в отверстие — даже для проверки.
Повторно выровняйте кольцо и еще раз проверьте торцевой зазор, чтобы убедиться, что он правильный. Убедитесь, что края колец (зазор) параллельны друг другу. При подкрадывании к разрыву может потребоваться несколько попыток, чтобы сделать это правильно. Это хорошо, потому что вы точно не сможете добавить материала к кольцу, если его слишком много будет удалено!
Выбор лучшего инструмента для заполнения зазоров поршневых колец Существует множество различных инструментов, предназначенных для заточки колец .
Некоторые дорогие. Некоторые нет. Некоторые крепкие. Некоторые из них гораздо менее прочны. Некоторые из них управляются вручную. Некоторые электрические.
А некоторые люди вообще не утруждают себя причудливым инструментом, предпочитая использовать напильник с мелкими зубьями, зажатый в тисках. Для удаления материала кольцо просто двигается вперед и назад по файлу.
На протяжении многих лет я использовал несколько различных методов заточки колец, а также различные инструменты для выполнения этой работы. Я не могу позволить себе или оправдать один из сверхдорогих электрических примеров (некоторые стоят более 1000 долларов). Но я нашел действительно хорошую альтернативу.
Прецизионный напильник для поршневых колец Summit Racing .
Изготовленный с корпусом заготовки, инструмент имеет фиксированный передний упор вместе с регулируемым локатором положения кольца. Локатор положения в сочетании с передним упором позволяет получать воспроизводимые и точные зазоры каждый раз, когда вы используете инструмент.
Шлифовальный круг имеет алмазный абразивный материал, и он абразивен только с одной стороны. ( Summit Racing предлагает сменные абразивные круги для шлифовальной машины .)
Конструкция инструмента позволяет установить его на стационарном рабочем месте или, в качестве альтернативы, закрепить в губках слесарных тисков . Рукоятку можно перемещать справа налево, сняв установочный винт колеса и вала, а затем удалив вал и переустановив его на левой стороне инструмента.
На приведенных ниже фотографиях вы увидите, как работает прецизионный инструмент для заточки поршневых колец Summit Racing. Это очень просто и понятно. Проверьте это:
Существует множество способов (и инструментов) для напильника колец. Это небольшой выбор из моего набора инструментов: напильник с мелкими зубьями, старый инструмент для напильника колец Speed Pro и шлифовальный станок Summit Racing Precision Ring Grinder. (Изображение/Уэйн Скраба) Как отмечалось в статье выше, инструмент Summit Racing можно стационарно установить на верстак.
Для этого предназначены четыре отверстия с потайной головкой в основном корпусе инструмента. (Image/Wayne Scraba) В качестве альтернативы вы можете просто зажать его в тисках. (Изображение/Wayne Scraba)Сняв колесо и установочные винты, вы можете поменять рукоятку для работы левой рукой. (Изображение/Wayne Scraba) Кольцо крепится к переднему упору и в то же время должно располагаться прямо напротив шлифовального круга. (Изображение/Wayne Scraba) Затем отрегулируйте внутренний локатор, пока обе точки контакта не коснутся внутреннего края кольца. Затяните барашковый винт. (Изображение/Wayne Scraba)Установив поршневое кольцо под прямым углом к шлифовальному кругу, используйте легкое и равномерное давление, чтобы повернуть ручку и удалить лишний материал кольца. Мы опишем эту технику более подробно в статье. (Изображение/Wayne Scraba) На этом этапе вы можете использовать небольшой напильник с мелкими зубьями или камень, чтобы удалить любые заусенцы на поверхности разреза. С инструментом Summit Racing на поверхности инструмента не должно быть заусенцев.
Теперь вы готовы проверить зазор. (Image/Wayne Scraba) Если алмазный абразивный круг изнашивается, Summit Racing предлагает сменный диск. (Изображение/Уэйн Скраба)T 0696/19 (Поршневое кольцо/NISSAN) от 04.10.2022
| Идентификатор европейской судебной практики: | ЭКЛИ:EP:BA:2022:T069619.20221004 | ||||||||
|---|---|---|---|---|---|---|---|---|---|
| Дата принятия решения: | 04 октября 2022 г. | ||||||||
| Номер дела: | Т 0696/19 | ||||||||
| Номер заявки: | 12006986.9 | ||||||||
| Класс IPC: | F16J 9/26 C22C 38/00 | ||||||||
| Язык разбирательства: | ЕН | ||||||||
| Распределение: | Д | ||||||||
| Загрузка и дополнительная информация: |
| ||||||||
| Название заявки: | Поршневое кольцо | ||||||||
| Имя заявителя: | НИССАН МОТОР КО. , ЛТД. Компания Nippon поршневых колец, ООО | ||||||||
| Имя противника: | Хоффман Эйтле | ||||||||
| Плата: | 3.3.05 | ||||||||
| Заголовок: | — | ||||||||
| Соответствующие правовые положения: | |||||||||
| Ключевые слова: | Изобретательский уровень — основное требование (нет) Изобретательский уровень — очевидное сочетание известных признаков Изобретательский уровень — бонусный эффект (да) Изобретательский уровень — вспомогательное требование (да) Изобретательский уровень — неочевидная модификация | ||||||||
| Ключевые слова: | — | ||||||||
| Процитированные решения: |
| ||||||||
| Со ссылкой на решения: | |||||||||
Краткое изложение фактов и доводов
I. Апелляция оппонента (апеллянта) направлена против решения отдела по возражениям отклонить возражение против европейского патента № 2 551 560 B1.
II. Актуальны и были среди обсуждавшихся на этапе оппозиции следующие документы:
D3 | JP S 63-140067 А |
D3a|Перевод D3 на английский язык|
D4 |EP 0 949 436 A2 |
D4a|Перевод D4 на английский язык|
D5 |JP 2004-197807 А |
D5a|Перевод D5 на английский язык|
III. Единственный самостоятельный пункт основного запроса в апелляционном производстве (патент выдан) звучит следующим образом:
«1. Кольцо поршневое (R), состоящее из:
рафинированной стали, в том числе:
углерод C в диапазоне 0,20 % масс. до 0,90 % по массе,
кремний Si в диапазоне от 0,10 % по массе до менее 0,60 % по массе,
марганец Mn в диапазоне от 0,20 % по массе до 1,50 % по массе,
хром Cr в диапазоне от 0,30 % по массе до 2,00 % масс.,
железо Fe в качестве остатка,
неизбежная примесь,
и дополнительно необязательно содержащие:
по крайней мере один элемент, выбранный из группы, состоящей из:
молибден Mo в диапазоне от 0,1 % по массе до 0,4 % масса ,
ванадий V в диапазоне от 0,05 % по массе до 0,40 % по массе,
ниобий Nb в диапазоне от 0,01 % по массе до 0,06 % по массе,
титан Ti в диапазоне от 0,01 % по массе до 0,06 % по массе,
никель Ni в диапазоне от 0,40 % по массе до 2,50 % по массе,
9000 2 бор B в диапазоне от 0,0010 % по массе до 0,0030 % по массе ифосфор P в диапазоне от 0,01 % по массе до 0,05 % по массе
и
, где
параметр A, рассчитанный из следующего выражения содержание Si, Mn и Cr 9,0 или менее:
параметр A = 8,8 Si + 1,6 Mn + 1,7 Cr
— выражение (1)
и
параметр B, рассчитанный по следующему выражению (2) на основе содержания C, Si, Mn и Cr: 10,8 или более:
параметр B = 36 C + 4,2 Si + 3,8 Mn + 4,5 Cr
— выражение (2)
где
поршневое кольцо (R) имеет твердость 26 HRC или более после рафинирование, включая закалку и отпуск,
поршневое кольцо (R) имеет теплопроводность 36 Вт/м·К или более после рафинирования, включая закалку и отпуск,
где
по крайней мере одна из следующих частей поршневого кольца (R) имеет среднюю шероховатость поверхности Rz по 10 баллам в диапазоне от 0,8 до 3,2 мкм:
верхняя поверхность (Fu) и нижняя поверхность (Fl) , и внутренней периферийной поверхности (Fi)».
IV. Независимый пункт 1 вспомогательного запроса 1 дополнительно ограничивает несколько диапазонов концентраций рафинированной стали и диапазон параметра B (выделения и опущения добавлены комиссией):
» …
углерод C в диапазоне от [удалено: 0,20]0,25 % по массе до 0,90 % по массе,
кремний Si в диапазоне от 0,10 % по массе до [удалено: менее ]0,40[удалено: 0,60] % по массе,
марганец Mn в диапазоне от [удалено: 0,20]0,60 % по массе до 1,50 % масс.,
хром Cr в диапазоне от [удалено: 0,30]0,50 % масс. до 2,00 % масс.,
параметр B, рассчитанный по следующему выражению (2) на основе содержания C, Si, Mn и Cr, составляет удалено: 10.8]14.0 или более …»
Зависимые пункты 2-9 относятся к предпочтительным вариантам осуществления.
V. На стадии апелляции заявитель представил следующие документы:
D10|»ISO 6621-4:2003(E), Двигатели внутреннего сгорания. Поршневые кольца. Часть 4: Общие технические условия», Международный стандарт ISO, второе издание.
., 2003, 1-28|
D11|Federal Mogul, «Справочник по поршневым кольцам, трибологическая микросварка», 2004 |
Д12|М. Шустер и др., «Явление микросварки поршневых колец и методы предотвращения», SAE Technical Paper Series 960745, 1996, 137-44|
D13|США 2009/0058014 A1 |
D14|»ISO 6621/1-1986(E), Двигатели внутреннего сгорания. Поршневые кольца. Часть 1. Словарь» с пометкой «отозван», Международный стандарт ISO, первое издание, 1986, 1-16|
VI. Своим ответом на заявление с изложением оснований апелляции ответчики представили чистые версии дополнительных ходатайств 1 и 2, поданных с представлением от 4 октября 2018 года на этапе возражения.
VII. Доводы истца, относящиеся к настоящему решению, можно резюмировать следующим образом.
Помимо примера A, общее раскрытие D3/D3a также представляет собой многообещающую отправную точку для оценки изобретательского уровня. Комбинация с D4/D4a сделала очевидным предмет пункта 1 формулы изобретения.
Примеры Таблицы 4 патента в иске не доказали влияния, связанного с шероховатостью поверхности. Более того, вариант полировки внутренней периферийной поверхности поршневого кольца не мог дать эффекта, так как контакта между кольцом и поршнем в этом месте не было, как показано на рисунке на странице 3 заявления ответчиков от 4 октября. 2018. Таким образом, техническая проблема, которую необходимо было решить, сводилась лишь к предоставлению альтернативы.
Общая часть D3/D3a указывала на содержание Si в пределах диапазона пункта 1 первого вспомогательного запроса, а содержание Si в примере A было лишь немного выше заявленного диапазона.
VIII. Аргументы патентообладателей (ответчиков), имеющие отношение к настоящему решению, можно резюмировать следующим образом.
Специалист в данной области техники не выбрал бы D3/D3a в качестве ближайшего предшествующего уровня техники, поскольку этот документ направлен на улучшение обрабатываемости поршневого кольца. Специалист в данной области с еще меньшей вероятностью выбрал бы изобретательский пример А D3/Da, поскольку он был направлен на улучшение обрабатываемости.
Кроме того, этот образец имел самую низкую твердость среди образцов по изобретению, даже несмотря на то, что твердость положительно влияла на сопротивление термической усталости. Вместо этого специалист в данной области техники выбрал бы примеры E или D из D3/D3a. В качестве альтернативы, D5/D5a был ближайшим прототипом, поскольку он решал проблему агглютинации алюминия.
Износ и агглютинация алюминия соответствовали разным техническим проблемам. В то время как первое связано с истиранием материала, второе связано с его адгезией.
Выявлен синергетический эффект шероховатости поверхности и состава стали на агглютинацию алюминия.
Даже комбинация D3/D3a с D4/D4a не привела к изобретению, поскольку D4/D4a не решала проблему агглютинации алюминия или теплопроводности.
IX. Заявитель просил отменить обжалуемое решение и аннулировать европейский патент.
Ответчики ходатайствовали об отклонении апелляции или, в качестве альтернативы, о сохранении патента в измененном виде на основании одного из двух дополнительных ходатайств, поданных вместе с ответом на заявление с изложением оснований апелляции.
Основания для решения
1. Основная просьба: интерпретация формулы
1.1 По мнению респондентов, «10-балльная средняя шероховатость поверхности Rz» п. 1 относится к стали поршневого кольца до любое покрытие.
Совет не разделяет это представление. Шероховатость в формуле изобретения относится к поверхности поршневого кольца. Никакой ссылки на сталь в этом отношении не делается. Таким образом, специалисту в данной области техники будет понятно, что шероховатость в пункте 1 относится к поверхности поршневого кольца, будь то стальное (если нет дополнительного покрытия) или любое другое покрытие.
Параграф [0052] патента в костюме подтверждает, что окончательная шероховатость устанавливается в сочетании с обработкой поверхности. Примеры патента в иске также не противоречат такому толкованию. Шероховатость стали в примерах патента в костюме, достигаемая шлифовкой, находится в пределах заявленного диапазона. Однако шероховатость остается неизменной при последующем покрытии четырехокисью триоксида железа и, таким образом, все еще находится в пределах заявленного диапазона (параграфы [0076]-[0078], таблица 4: примеры 42-46 по сравнению с 37-41).
1.2 Совет считает, что специалисту известно, что в контексте поршней из алюминиевого сплава в сочетании со стальными поршневыми кольцами истирание алюминия с поршней и агглютинация или прилипание алюминия тесно связаны между собой.
2. Основное требование: изобретательский уровень
По следующим причинам основное требование не соответствует требованиям статьи 56 ЕПК ввиду сочетания D3/D3a с D4/D4a.
2.1 Изобретение относится к поршневым кольцам.
2.2 Документ D3/D3a и, в частности, изобретательский пример А также относится к поршневым кольцам (см. пункт 1 формулы изобретения, стр. 1, строки 25/26 и таблицу 1 на стр. 6).
Помимо улучшения обрабатываемости, D3 направлен на достижение достаточной твердости, износостойкости и термостойкости (стр. 3, строки с 8 по 13; стр. 4, строки со 2 по 4 и с 22 по 26; стр. 5, строки с 22 по 26; стр. 8, строки с 10 по 13; таблица 3 на странице 8).
Поскольку D3/D3a и, в частности, Пример 1 относятся к той же области техники, что и настоящее изобретение, и преследуют те же цели (см.
ниже), вопреки мнению респондентов, они являются подходящей отправной точкой для оценки изобретательского уровня .
Изобретательский пример A в таблице 1 D3/D3a включает рафинированную сталь с составом, подпадающим под действие пункта 1 настоящего основного запроса, и, таким образом, также удовлетворяет заявленным параметрам A и B. Учитывая, что параметр A является мерой теплового теплопроводность (как поясняется в пункте [0041] патента по иску), теплопроводность также находится в заявляемом диапазоне. Это не оспаривалось.
Согласно стр. 8, строки 5 и 6, твердость образца A из D3/D3a также находится в заявленном диапазоне.
2.3 Согласно заявленному патенту, техническая задача, которую необходимо решить, состоит в том, чтобы создать поршневое кольцо, обладающее одновременно:
— улучшенной стойкостью к термической усталости (пункты [0001], [0011] и [0042])
— улучшенная теплопроводность контактных поверхностей [т.е. между поршневым кольцом и поршнем] (пункт [0050])
— улучшенная «стойкость к истиранию за счет улучшенной теплопроводности» (пункт [0053])
— улучшенная стойкость к слипанию алюминия, если «поршневое кольцо.
.. применяется к поршню из алюминиевого сплава» (пункт [0050])
— улучшенный компромисс между хорошим уплотнением и затратами на механическую обработку (пункт [0054])
2.4 В патенте предлагается решить эту проблему с помощью поршневого кольца по п.1, отличающегося тем, что оно имеет 10-балльную среднюю шероховатость поверхности Rz при минимум одной из верхней, нижней и внутренней периферийных поверхностей поршневого кольца в диапазоне от 0,8 до 3,2 мкм.
2.5 По мнению апеллянта, примеры Таблицы 4 патента в иске не доказывают, что поставленная задача была успешно решена, поскольку все примеры, изобретательские и сравнительные, имели шероховатость в заявленном диапазоне. Таким образом, проблема заключалась лишь в предоставлении альтернативы.
Тем не менее, параграфы [0050]-[0054] патента в иске указывают, что все улучшения, упомянутые выше в пункте 2.3, связаны с уменьшением шероховатости поверхности, и это достоверно: уменьшенная шероховатость по крайней мере одного из верхних , нижняя и внутренняя периферийные поверхности поршневого кольца действительно уменьшают физическое взаимодействие между поверхностями поршневого кольца и поршня.
Вполне вероятно, что это приводит к уменьшению истирания и сцепления между соответствующими поверхностями, тем самым уменьшая износ и, в частности, истирание.
Ссылаясь на схематический рисунок на странице 3 представления ответчиков от 4 октября 2018 года (воспроизведенный ниже), заявитель также утверждал, что альтернатива полированной поверхности «внутренней периферийной поверхности» поршневого кольца бесполезна. Это не имело никакого значения, так как в этом месте не было контакта между кольцом и поршнем, как показано на чертеже.
ФОРМУЛА/ТАБЛИЦА/ГРАФИКА
Однако это утверждение неубедительно. Хотя на схематическом рисунке показан вертикальный зазор между внутренней поверхностью кольца и поршнем, в сопроводительном тексте (первые два абзаца) указано, что «поршневое кольцо неоднократно входит в контакт (столкновение) с канавкой поршневого кольца поршня под высокая температура при вращении поршневого кольца вокруг поверхности канавки поршневого кольца, что приводит к истиранию материала поршневого кольца» (выделено комиссией).
Образовавшиеся «фрагменты алюминиевого сплава» из поршня могут вызвать «агглютинацию алюминия» «на верхней поверхности, нижней поверхности и/или на внутренней периферийной поверхности поршневого кольца».
Это означает, что зазор между кольцом и поршнем на чертеже не всегда присутствует при эксплуатации из-за соударения поршня с кольцом. Следовательно, вполне вероятно, что полировка внутренней периферийной поверхности также имеет значение.
Кроме того, апеллянт не представил встречных доказательств того, что техническая проблема не была решена. Поэтому нет оснований для сомнений на этот счет. Также нет необходимости переформулировать техническую проблему, указанную в пункте 2.3 выше.
2.6 Документ D4/D4a также относится к стальным поршневым кольцам (параграф [0001]) и касается проблемы износа поршневых колец и самого поршня, упоминая возникающее в результате ухудшение характеристик уплотнения (параграф [0003] и конец пункта [0008]).
Задиры являются формой износа, и параграф [0047] патента в иске также упоминает износ и задиры в том же контексте.
Кроме того, специалисту в данной области техники понятно, что для того, чтобы агглютинация/адгезия алюминия происходила в системе поршень-алюминиевый сплав/поршневое кольцо из стали, необходимо, в первую очередь, удалить фрагменты алюминия с поверхности поршня абразивным или аналогичным способом. Следовательно, износ и агглютинация/адгезия алюминия тесно связаны друг с другом.
Таким образом, вопросы износа и уплотнения, упомянутые в D4/D4a, связаны с несколькими аспектами проблемы, которую необходимо решить.
Для решения этих проблем D4/D4a предлагает уменьшить шероховатость поверхности Rz до 2 мкм или ниже (п.1).
Таким образом, специалист в данной области техники пришел бы очевидным образом к предмету пункта 1 формулы изобретения, объединив пример A D3/D3a с D4/D4a (статья 56 EPC).
2.7 По мнению респондентов, пример A D3/D3a не был подходящей отправной точкой для оценки изобретательского уровня, поскольку этот пример относился к первому изобретению D3/D3a, целью которого было улучшение технологичности (стр.
3, строки с 15 по 25 и стр. 5, строки 22-26) и имел самую низкую твердость из примеров по изобретению, а также относительно низкие значения модуля и предела прочности при растяжении (таблицы 2 и 3). Однако твердость оказывает положительное влияние на сопротивление термической усталости, последнее является основной целью настоящего изобретения (пункты [0016], [0042] и [0045] патента в деле). Вместо этого следует рассмотреть примеры D или E из D3/D3a, поскольку они показали повышенную твердость. Альтернативно, D5/D5a следует рассматривать как наиболее близкий уровень техники, поскольку он касается агглютинации/адгезии алюминия.
Однако, как показано выше в пункте 2.2, пример А относится к той же области техники (стальные поршневые кольца). Кроме того, это пример согласно изобретению D3/D3a (таблица 1). Как показано выше (пункт 2.2), пример А демонстрирует приемлемую твердость в соответствии с требованиями пункта 1 соответствующего патента.
Кроме того, в соответствии со сложившейся судебной практикой выбор точки отсчета для оценки изобретательского уровня не требует специального обоснования в случае отказа в изобретательском уровне (см.
, например, Т 967/97, лозунг II).
Таким образом, пример А является подходящей отправной точкой для оценки изобретательского уровня.
2.8 Ответчики далее утверждали, что состав стали и шероховатость поверхности поршневого кольца п.1 синергетически взаимодействовали для увеличения теплопроводности:
— самого поршневого кольца
— между поверхностями кольца и поршня
Однако, чтобы синергетический эффект присутствовал, необходимо показать, что сумма отдельных эффектов уступает эффекту двух мер вместе взятых. Это не было доказано по той единственной причине, что в рассматриваемом патенте (и, в частности, в таблице 4) отсутствуют примеры с шероховатостью поверхности, выходящей за пределы заявленного диапазона.
Кроме того, как объяснялось в пункте 2.6 выше, выбор шероховатости поверхности в заявленном диапазоне очевиден для уменьшения износа. Не имеет значения, вызывает ли эта шероховатость поверхности дополнительное увеличение теплопроводности между поверхностями кольца и поршня (таким образом, еще больший износ и связанное с ним слипание алюминия).
Действительно, изобретательский уровень можно было бы даже не признать, если бы степень снижения агглютинации алюминия оказалась неожиданно высокой из-за увеличения теплопроводности между полированной поверхностью кольца и поверхностью канавки поршня (см., например, Т 551 /89, ключевое слово и последний абзац пункта 4.4 Оснований).
В этих условиях повышенная теплопроводность между поверхностями сводится лишь к открытию неизбежного следствия уменьшения шероховатости.
2.9 Аналогично, тот факт, что в D4/D4a не упоминаются поршни из алюминиевого сплава или агглютинация алюминия, не может сделать предмет пункта 1 изобретательским.
Установленное прецедентное право указывает, что если с учетом уровня техники что-то, подпадающее под формулу изобретения, было бы очевидным для специалиста в данной области техники, поскольку можно было бы ожидать, что комбинированное изучение документов предшествующего уровня техники приведет к положительный эффект, такая формула не имеет изобретательского уровня, несмотря на то, что получен дополнительный эффект (возможно, непредвиденный) (Прецедентное право апелляционных советов, 10-е изд.
, 2022 г., I.D.10.8).
3. Вспомогательное требование 1: изобретательский уровень
В противоположность этому, предмет формулы дополнительного заявления 1 имеет изобретательский уровень по причинам, изложенным ниже (статья 56 ЕПК).
3.1 По тем же причинам, что и для основного запроса, пример A из D3/D3a также является подходящей отправной точкой для оценки изобретательского уровня пункта 1 дополнительного запроса 1.
Содержание C, Mn и Cr, а также параметр B этого примера по-прежнему попадает в более узкие диапазоны.
3.2 Решаемая задача та же, что и для основного запроса.
3.3 Вспомогательная заявка 1 предлагает решение технической задачи с помощью поршневого кольца по п.1, характеризующегося:
— 10-балльной средней шероховатостью поверхности Rz не менее одной из верхней, нижней и внутренней периферийных поверхностей поршневое кольцо в диапазоне от 0,8 до 3,2 мкм
— содержание Si в рафинированной стали в диапазоне от 0,10 до 0,40% масс.
пункт [0025]).
Сравнение между Примером 5 и Сравнительным Примером 3 в Таблице 1 патента в костюме показывает, что снижение концентрации Si улучшает теплопроводность. Верно, что концентрации других компонентов, помимо Si, а именно концентрации C, P, Cr, различаются между Примером 5 и Сравнительным Примером 3, но содержание Si в Сравнительном Примере 3 является единственным компонентом, концентрация которого находится за пределами диапазона. диапазон пункта 1 формулы изобретения. В этом отношении сравнительный пример 3 сравним с примером А D3/D3a. Более того, согласно параграфам [0021]-[0030] патента, из этих компонентов только Si оказывает влияние на теплопроводность.
Хотя сравнительный пример 3 в таблице 1 патента в иске не является репрезентативным во всех отношениях примера A D3/D3a (например, в отличие от первого, последний соответствует критерию для параметра A в пункте 1), апеллянт не представил никаких контрдоказательств.
Следовательно, нет оснований сомневаться в том, что поставленная техническая задача успешно решена.
3.5 Однако в D3/D3a указано, что содержание Si в диапазоне от 0,3 до 1,0% действует как раскислитель и повышает термостойкость (стр. 4, строки 10–15). Поскольку содержание Si, равное 0,45% примера А, попадает в этот диапазон, у специалиста в данной области техники нет стимула снижать содержание Si до 0,40% или ниже. Они действительно могли выбрать 0,3%, но также могли выбрать и 1,0%.
Кроме того, не оспаривалось, что доступный уровень техники (включая D10-D14, несмотря на рассмотрение/приемлемость этих документов) не содержит стимулов для выбора содержания Si в заявленном диапазоне для решения поставленной технической проблемы.
3.6 По этим причинам вспомогательный запрос 1 соответствует требованиям статьи 56 ЕПК.
3.7 Заявитель утверждает, что общее раскрытие D3/D3a (см., например, пункт 1) также является подходящей отправной точкой для оценки изобретательского уровня.
Однако по следующим причинам общее раскрытие D3/D3a является менее многообещающей отправной точкой, чем пример A.

Перед установкой
новых поршневых колец проверьте зазор в замке поршневого кольца.
Повторите процесс измерения с
кольцом, установленным в верхней части цилиндра и сравните результаты
измерения с техническими требованиями.
Установите компрессионное кольцо
№ 2 таким образом, чтобы метка на торце была направлена вверх (см.
рис. Расположение метки R или N на поршневом кольце). Не перепутайте первое
и второе компрессионные кольца, так как они имеют различный профиль.
В итоге эта проблема может обойтись владельцу транспортного средства в «копеечку». Чтобы предотвратить это, некоторые автолюбители устанавливают на свои авто безвтыковые поршни СТК, СТИ или Автрамат. О том, какие лучше поставить поршни на свое авто и как производится замена своими руками с фото, читайте далее.
Это обусловлено тем, что детали СТИ обладают пониженной степенью сжатия и большим размером камеры сгорания. Также следует отметить, что в сплаве поршней СТИ содержится меньше кремния, в результате чего прочность компонентов при высоких температурах будет ниже.Четыре поршня СТИ
Отечественные автомобилисты на замечают это отличие на практике. Следует отметить, что стоимость деталей Автрамат может быть ниже от 50% до 70% по сравнению с СТИ, в зависимости от автомагазина.
От верхней кромки при этом нужно отступить 3, 10, 60 и 112 мм, соответственно, у вас должно быть в итоге четыре значения. Таким образом вы сможете выявить, насколько износились цилиндры. В том случае, если износ маленький и составляет до 0.05 мм, то такое расстояние вполне можно компенсировать монтажом элементов с чуть большим диаметром.
Винты крепления заднего сальника коленчатого вала также откручиваются при помощи гаечного ключа. Непосредственно сам держатель можно демонтировать, поддев его отверткой за канавки на корпусе.
, ЛТД.