Схема электрическая замка зажигания ваз 2109: Распиновка замка зажигания ВАЗ | 2 Схемы – Распиновка замка зажигания ваз 2109
Cхемы на инжекторный и карбюраторный ваз 2109
Часто бывает необходимо своими руками починить поломки в электрике вашего ваз 2109. Но чтобы знать что именно требуется позванивать и куда этот огромный пучочек проводов идет, вам потребуются схемы различных узлов проводки. Также вам необходимо приобрести или взять у друзей мультиметр.

Для того чтобы прозвонить любую цепь, вам потребуется взять схему на тот узел цепи который по вашему мнению вышел из строя и последовательно прозванивать каждый провод, поставив мультиметр в режим прозвонки 
.Если говорить кратко, то прикладываем один щуп к началу провода и в конце провода прикладываем второй щуп, если провод не имеет не каких повреждений раздастса характерный звук.
Вот неплохое видео как прозвонить провода:
Содержание статьи
Электросхема на ваз 2109
Многим владельцам на ваз 2109 часто требуется полная схема электрики и схема проводки на ваз 2109 карбюратор перед глазами. Здесь вы можете найти полную электросхему на ваз 2109 размером 5000 на 2900 пикселей, то есть она огромная .


Полная версия схемы Загрузить схему
Числовые обозначения на схеме
1. Блок-фара. | 2. Электродвигатели очистителей фар*. | 3. Выключатель лампы под капотом. |
| 4. Звуковой сигнал. | 5. Электродвигатель вентилятора системы охлаждения двигателя. | 6. Датчик включения электродвигателя вентилятора. |
| 7. Генератор. | 8. Электромагнитный клапан включения омыва фар*. | 9. Электромагнитный клапан включения омыва заднего стекла*. |
| 10. Электромагнитный клапан включения омывателя ветрового стекла. | 11. Свечи зажигания. | 12. Датчик-распределтель зажигания. |
| 13. Катушка зажигания. | 14. Выключатель света заднего хода. | 15. Датчик указателя температуры охлаждающей жидкости. |
| 16. Стартер. | 17. Аккумуляторная батарея. | 18. Датчик уровня тормозной жидкости. |
| 19. Коммутатор. | 20. Датчик верхней мертвой точки 1-го цилиндра. | 21. Колодка диагностики. |
| 22. Блок управления электромагнитным клапаном карбюратора. | 23. Реле включения стартера. | 24. Концевой выключатель карбюратора. |
| 25. Электромагнитный клапан карбюратора. | 26. Датчик контрольной лампы давления масла. | 27. Электродвигатель омывателя стекол. |
| 28. Электродвигатель вентилятора отопителя. | 29. Дополнительный резистор электродвигателя отопителя. | 30. Переключатель вентилятора отопителя. |
| 31. Электродвигатель очистителя ветрового стекла. | 32. Прикуриватель. | 33. Лампа подсветки рычагов отопителя. |
| 34. Штепсельная розетка для переносной лампы. | 35. Подкапотная лампа. | 36. Лампа освещения вещевого ящика. |
| 37. Монтажный блок. | 38. Выключатель освещения приборов. | 39. Выключатель контрольной лампы стояночного тормоза. |
| 40. Выключатель стоп-сигнала. | 41. Подрулевой переключатель. | 42. Выключатель наружного освещения. |
| 43. Выключатель аварийной сигнализации. | 44. Выключатель заднего противотуманного света. | 45. Предохранитель цепи противотуманного света. |
| 46. Выключатель обогрева заднего стекла. | 47. Боковые указатели поворота. | 48. Плафон. |
| 49. Разъем для подключения к плафону индивидуального освещения. | 50. Выключатели плафона на стойках дверей. | 51. Реле зажигания. |
| 52. Выключатель зажигания. | 53. Комбинация приборов. | 54. Выключатель контрольной лампы воздушной заслонки карбюратора. |
| 55. Задние фонари. | 56. Датчик указателя уровня и резерва топлива. | 57. Элемент обогрева заднего стекла. |
| 58. Электродвигатель очистителя заднего стекла. | 59. Фонари освещения номерного знака. |
Порядок нумерации штекеров в колодках :
- А – выключателя зажигания;
- Б – электродвигателя очистителя ветрового стекла.
* – Устанавливается на части выпускаемых автомобилей.
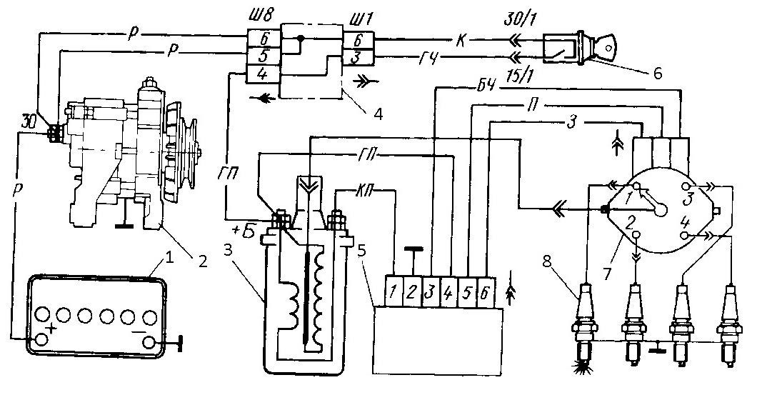
Схема зажигания ваз 2109 карбюратор
Начало барахлить зажигание? Тогда рекомендую взять эту схему и вооружившись мультиметром прозвонить все элементы цепи.


Полная версия схемы Загрузить схему
Числовые обозначения на схеме зажигания
| 1. Аккумуляторная батарея. | 2. Генератор. | 3. Катушка зажигания. |
| 4. Монтажный блок. | 5. Коммутатор. | 6. Замок зажигания. |
| 7. Трамблёр. | 8. Свечи зажигания. |
Схема предохранителей ваз 2109
Опять перегорел предохранитель? Потому, что зарядил в свой ваз 2109 мощный свет или поставил саб на который не рассчитана и проводка и блок предохранителей? Тогда эта схема предохранителей будет как раз кстати!


| № | Ампер | Назначение |
| 1 | 8 | Правая противотуманная фара |
| 2 | 8 | Левая противотуманная фара |
| 3 | 8 | Очистители фар (в момент включения) Реле включения очистителей фар (контакты) Клапан включения омывателя фар |
| 4 | 16 | Электродвигатель очистителя фар Реле очистителя фар (обмотка) Электродвигатель отопителя Электродвигатель омыва стекол Электродвигатель очистителя заднего стекла Реле времени омыва заднего стекла Клапан включения омыва ветрового и заднего стекол Обмотка реле включения электровентилятора системы охлаждения Обмотка реле включения обогрева заднего стекла Контрольная лампа обогрева заднего стекла Лампа освещения вещевого ящика |
| 5 | 8 | Указатели поворота в режиме указания поворота и соответствующая контрольная лампа Задние фонари (лампы света заднего хода) Контрольная лампа резерва топлива, давления масла, стояночного тормоза, уровня тормозной жидкости, воздушной заслонки карбюратора Вольтметр и контрольная лампа зарядки аккумуляторной батареи Моторедуктор и реле включения очистителя ветрового стекла Обмотка возбуждения генератора (при пуске) Лампа светового табло “STOP” Указатели температуры охлаждающей жидкости и уровня топлива |
| 6 | 8 | Задние фонари (лампы стоп-сигнала) Плафон внутреннего освещения кузова Электростеклоподъемники и реле включения электростеклоподъемников |
| 7 | 8 | Фонари освещения номерного знака Подкапотная лампа Контрольная лампа включения габаритного освещения Лампа освещения приборов и лампа освещения прикуривателя Табло подсветки рычагов отопителя |
| 8 | 16 | Электродвигатель вентилятора системы охлаждения двигателя и реле его включения (контакты) Звуковой сигнал и реле его включения |
| 9 | 8 | Левая фара (габаритный свет) Левый задний фонарь (габаритный свет) |
| 10 | 8 | Правая фара (габаритный свет) Правый задний фонарь (габаритный свет) |
| 11 | 8 | Указатели поворота и реле-прерыватель аварийной сигнализации (в режиме аварийной сигнализации) Контрольная лампа аварийной сигнализации |
| 12 | 16 | Элемент обогрева заднего стекла и реле включения обогрева Прикуриватель Штепсельная розетка для переносной лампы |
| 13 | 8 | Правая фара (дальний свет) |
| 14 | 8 | Левая фара (дальний свет) Контрольная лампа включения дальнего света фар |
| 15 | 8 | Левая фара (ближний свет) |
| 16 | 8 | Правая фара (ближний свет) |
| Реле | ||
| К1 | Реле времени омыва заднего стекла (451.3747 / 2108-3747110, 2108-3747110-06) | |
| К2 | Реле-прерыватель указателей поворота и аварийной сигнализации (493.3747 / 2108-3747010-02) | |
| К3 | Реле-прерыватель стеклоочистителя (522.3747 / 2108-3747710) | |
| К4 | Контактные перемычки на месте реле контроля исправности ламп Реле контроля целостности ламп (4402.3747 / 21083-3747410, 21083-3747410-06) | |
| К5 | Реле включения дальнего света фар (113.3747 / 2105-3747210-10, 2105-3747210-12) | |
| К6 | Реле очистителя фар (112.3747 / 2105-3747210, 2105-3747210-02) | |
| К7 | Реле стеклоподъемников (13.3747 / 2105-3747210-10, 2105-3747210-12) | |
| К8 | Реле включения звуковых сигналов (13.3747 / 2105-3747210-10, 2105-3747210-12) | |
| К9 | Реле включения электровентилятора охлаждения (13.3747 / 2105-3747210-10, 2105-3747210-12) | |
| К10 | Реле включения обогрева заднего стекла (13.3747 / 2105-3747210-10, 2105-3747210-12) | |
| К11 | Реле включения ближнего света фар (13.3747 / 2105-3747210-10, 2105-3747210-12) | |
Схема подключения стеклоподъёмников на ваз 2109
Надоело поднимать стекла обычными “веслами”? Тогда поставьте уже электрические стеклоподъесники воспользовавшись схемой подключения электростеклоподъемников на ваз 2109.


Полная версия схемы Загрузить схему
Числовые обозначения на схеме
1. Монтажный блок. | 2. Реле зажигания. | 3. Замок зажигания. |
4. Моторедуктор электростеклоподъемника правой двери. | 5. Моторедуктор электростеклоподъемника левой двери. | 6. Переключатель электростеклоподъемника правой двери. |
7. Переключатель электростеклоподъемника левой двери. | К7. Реле питания электростеклоподъемников. | А. К выводу «30» генератора. |
Б. К колодке жгута проводов, подключаемой к табло подсветки рычагов отопителя. | ||
Схема генератора ваз 2109
Если у вас пропала зарядка, это чаще всего связано с выходом из строя генератора, и чаще всего это щетки генератора, но бывает что происходят обрывы обмотки и КЗ в схеме или же обрыв цепи. В так случае рекомендую ознакомиться с этой схемой генератора на ваз 2109.


Полная версия схемы Загрузить схему
Числовые обозначения на схеме
| 1. Генератор. | 2. Отрицательный вентиль. | 3. Дополнительный диод. |
| 4. Положительный вентиль. | 5. Контрольная лампа разряда аккумуляторной батареи. | 6. Комбинация приборов. |
| 7. Вольтметр. | 8. Монтажный блок. | 9. Дополнительные резисторы по 100 Ом., 2 Вт. |
| 10. Реле зажигания. | 11. Выключатель зажигания. | 12. Аккумуляторная батарея. |
| 13. Конденсатор. | 14. Обмотка ротора. | 15. Регулятор напряжения. |
Схема поворотников на ваз 2109
Не мигают? Тогда пройдитесь по схеме мультиметром и выясните причину неисправности поворотников.


Полная версия схемы Загрузить схему
Числовые обозначения на схеме поворотников
1. Блок-фара. | 2. Повторители указателей поворота. | 3. Монтажный блок предохранителей. |
4. Реле зажигания. | 5. Замок зажигания. | 6. Контрольные лампы на комбинации приборов. |
7. Задние фонари. | 8. Выключатель аварийной сигнализации. | 9. Выключатель указателей поворотов. |
К2. Реле указателей поворотов и аварийной сигнализации. | ||
Схема дворников на ваз 2109
Если у вас перестали работать дворники или омыватель стекол, тогда рекомендую проверить все цепи и узлы схемы при помощи мультиметра и этой схемы.


Загрузить схему
Схема подключения замка зажигания на ваз 2109


Числовые обозначения на схеме
1. Реле зажигания | 2. Штекерный разъем выключателя зажигания | 3. Выключатель зажигания. |
Как отремонтировать замок зажигания ваз 2109
Замок зажигания Ваз 2109 является очень важным и в то же время очень капризным механизмом автомобиля. И в сегодняшней статье мы постараемся разобрать его важность и капризность, т.е. его неисправности. Замок зажигания служит для подачи напряжения на электрические цепи в зависимости от расположения ключа. Замок состоит из 2-х частей. Это механическая и электрическая части.

Как уже было написано, в нашей девятке замок зажигания является очень важным механизмом. Через него проходят почти вся электрика автомобиля. Без замка зажигания могут работать только несколько приборов и это:
1. Габаритные огни.
2. Аварийная сигнализация.
3. Освещение салона.
4. Стоп сигналы.
5. Подсветка заднего номера.
Это нужно для того чтобы при остановке на трассе или в городе в неосвещенном месте нам не нужно было включать зажигание, чтобы нас заметили.
Схема замка зажигания ваз 2109.
Замки зажигая на ваз 2109 могут быть разных образцов. Существует 2 образца, это : новый и старый. Отличается новый от старого, только отсутствием реле, укороченным ключом и тремя положениями ключа вместо четырех.

1. Реле зажигания
2. Разъем выключателя зажигания
3. Включатель зажигания.
Положения замка зажигания.
0 — Автомобиль обесточен.
I — Зажигание. Работают все приборы электро цепи.
II — Стартер. Начинает крутить стартер, отключаются ближний свет фар.
III — Стоянка. Работают все приборы, как и в положении зажигания.
Замок зажигания ваз 2109 неисправности.

Самой распространенной проблемой замка зажигая является его отработка и заклинивание. При таких признаках нужно незамедлительно менять замок зажигания целиком, т.к. в случае заклинивания вы можете элементарно спалить стартер и тогда ремонт у вас станет в цену стоимости стартера. Еще одной из распространенных проблем бывает выход из строя контактной группы. В таком случае у вас выходит из строя сразу несколько приборов. Например, у меня сразу перестали работать ближний свет фар, печка, прикуриватель, отопитель заднего стекла. Заменив контактную группу на новую сразу все заработало.
Замок зажигания 2108 распиновка
Эта статья будет полезна тем, кто хочет модернизировать замок зажигания (например, сделать запуск двигателя с кнопки) или испытывает проблемы с замком. Описывается только электрическая часть замка. Замок зажигания рассмотрим в варианте ВАЗ-2114. Он, в отличии от замка ВАЗ-2108, работает совместно с реле зажигания.
Замок имеет 4 положения, из которых в действительности используются только 3:
- 0 — все потребители выключены (используется крайне редко)
- 1 — зажигание включено
- 2 — включен стартер
- 3 — парковка (ключ вынут из замка)
К контактам 7 (розовый) и 8 (коричневый) замка всегда подведено напряжение с аккумулятора. Эти провода подключены параллельно и соединяются в монтажном блоке. Разделение на два провода сделано, по видимости, для надежности, а может сложилось исторически — эти провода можно заменить и одним проводом.
Коричневый провод подключает систему зажигания (карбюраторный вариант), панель приборов и некоторые другие потребители.
Розовый отвечает за всю остальную нагрузку.
Нагрузка проводов и контактов замка
Красный провод (контакт 5) питает катушку дополнительного реле стартера и даёт сигнал в БСК. ВНИМАНИЕ: в LADA Samara-2 питание на стартер подается непосредственно, без дополнительного реле!
Черный провод (контакт 2) питает «габариты», подкапотную лампу, катушки реле противотуманных фар и дальнего света, подсветку номера, бортовой компьютер, подсветку кнопок и панели приборов.
Голубой провод (контакт 4) наиболее нагруженный. Он питает вентилятор отопителя, задние противотуманные фонари, стеклоочистители заднего стекла и фар, катушки реле фароочистителей и обогрева заднего стекла, ближнего и дальнего света, подсветку «бардачка». Этот провод отключается при включении стартера (положение 2 замка).
Розовый подключает черный, голубой и красный провода, следовательно нагрузка на нём суммируется.
Замок зажигания Ваз 2108 2109 21099 бывает старого и нового образцов:
-Старый имеет четыре положения, реле и длинный ключ,
-Новый без реле и с коротким ключом на три положения.
Функций у замка зажигания две:
-Электрическая: замыкание контактов в зависимости от положения ключа.
-Механическая: блокировка рулевого колеса без ключа. То есть без ключа нельзя будет крутить руль, даже если минуя электрическую часть замка заведете машину. Чтобы вращать руль нужно будет разобрать замок и снять механическую блокировку.
Неисправностей по электрической части у замка зажигания Ваз 2108 2109 21099 всего две (как впрочем и у всей электрики):
2) Присутствие контакта там где не нужно. В таком случае замок начинает плавится, дымить и издавать характерный запах.
Замена замка зажигания Ваз 2108 2109 21099:
1) Снимаем кожух рулевого колеса. Для этого откручиваем шурупы крепящие верхнюю и нижнюю его часть между собой. Убрав защиту, сразу получаем доступ к замку зажигания и подрулевым переключателям.

Кожух рулевого колеса Ваз 2109
2) Откручиваем пластмассовую облицовку замка зажигания отверткой. Снимаем ее.

Замок зажигания Ваз 2109
3) Снимаем контактную группу замка зажигания.

Контактная группа замка зажигания Ваз 2109
Она подсоединяется к остальной проводку с помощью штекера. Если замена производится на замок зажигания нового образца, то необходимо будет немного переделывать проводку.

Контактная группа замка зажигания Ваз 2109
Просто так подключить не получится, так как схемы расключения у них разные.
4)Затем откручиваем механическую часть замка, крепящуюся к рулевому колесу.

Замок зажигания без контактной группы

Откручиваем механическую часть замка
Новый замок устанавливаем в обратном порядке.
Проверка правильности работы замка зажигания Ваз 2108 2109 21099:
Чтобы проверить исправен ли замок в случае подозрений, нужна схема , указывающая какие контакты замыкаются между собой при различных положения ключа в замке зажигания.

Схема для нового образца замка зажигания

Схема для старого образца замка зажигания
Схема приведена ниже:
Пояснения к схеме(по цветам проводов контактной группы):
Красный — на стартер,
Розовый — +12В,
Коричневый — +12В для включения реле зажигания,
Белый — включение реле зажигания,
Черный, голубой — прочие потребители.
Положение ключа «0»:
Положение ключа «1»:
В данном положении включается реле зажигания и по голубому с черным проводу запитывается система зажигания Ваз 2108 2109 21099.
Белый замкнут с коричневым, розовый с голубым и черным.
Положение ключа «2»:
В данном положении опять таки реле зажигания остается включенным, подается +12В на реле включения стартера.
Белый замкнут с коричневым, розовый с красным и черным.
Положение ключа «3»:
В данном положении замыкаются цепи, обеспечивающие подсветку авто, габариты, сигнализацию дальним светом фар.
Коричневый замкнут с черным, розывый с черным.
Типичный пример неисправности контактной группы: автомобиль не заводится. Крутишь стартер, нет искры. Начинаешь грешить на коммутатор, датчик Холла, катушку. Но потом оказывается, что все исправно, просто система зажигания не запитана. То есть с замка зажигания Ваз 2108 2109 21099 не поступает питание на систему зажигания.
На ВАЗ 2109, также как и на других автомобилях, выключатель зажигания — один из основных элементов системы электрооборудования. Он состоит из двух частей: механической — она отвечает за блокировку руля при отсутствии ключа в замке, электрической — она обеспечивает подачу напряжения на необходимые электрические цепи в зависимости от выбранного положения. Независимо от замка работают лишь: габаритные огни, подсветка заднего номерного знака, аварийная сигнализация, плафон освещения салона, подсветка панели приборов, стоп-сигналы. Все остальное оборудование работает только через замок зажигания.
На ВАЗ 2109 устанавливались выключатели зажигания двух видов:
- Старого образца с 4-мя положениями, с реле зажигания, длинный ключ (каталожный номер 21080-3704005-60)
- Нового образца с 3-мя положениями, без реле зажигания, короткий ключ (каталожный номер 21090-3704005-30)
Замок зажигания ВАЗ 2109 старого образца
Данный вид замков имеет 4-е положения ключа (дополнительное положение для включения стояночного света), а также дополнительную проводку для реле зажигания и длинный ключ.
Электрические цепи, включаемые при различных положениях ключа, можно посмотреть в таблице представленной ниже.
Как устроен замок зажигания Ваз 2109
Замок зажигания бывает старого и нового образцов:
-Старый имеет четыре положения, реле и длинный ключ,
-Новый без реле и с коротким ключом на три положения.
Функций у замка зажигания две:
-Электрическая: замыкание контактов в зависимости от положения ключа.
-Механическая: блокировка рулевого колеса без ключа. То есть без ключа нельзя будет крутить руль, даже если минуя электрическую часть замка заведете машину. Чтобы вращать руль нужно будет разобрать замок и снять механическую блокировку.
Неисправностей по электрической части у замка зажигания Ваз 2108 2109 21099 всего две (как впрочем и у всей электрики):
2) Присутствие контакта там где не нужно. В таком случае замок начинает плавится, дымить и издавать характерный запах.
Замена замка зажигания:
1) Снимаем кожух рулевого колеса. Для этого откручиваем шурупы крепящие верхнюю и нижнюю его часть между собой. Убрав защиту, сразу получаем доступ к замку зажигания и подрулевым переключателям.
Кожух рулевого колеса Ваз 21092) Откручиваем пластмассовую облицовку замка зажигания отверткой. Снимаем ее.
Замок зажигания3) Снимаем контактную группу замка зажигания.
Контактная группа замка зажиганияОна подсоединяется к остальной проводку с помощью штекера. Если замена производится на замок зажигания нового образца, то необходимо будет немного переделывать проводку.
Контактная группа замка зажиганияПросто так подключить не получится, так как схемы расключения у них разные.
4)Затем откручиваем механическую часть замка, крепящуюся к рулевому колесу.
Замок зажигания без контактной группы
Откручиваем механическую часть замкаНовый замок устанавливаем в обратном порядке.
Отдельно продается контактная группа замка зажигания, которую можно заменить не трогая весь замок.
Проверка правильности работы замка зажигания Ваз 2108 2109 21099:
Чтобы проверить исправен ли замок в случае подозрений, нужна схема , указывающая какие контакты замыкаются между собой при различных положения ключа в замке зажигания.
Схема для нового образца замка зажигания
Схема для старого образца замка зажиганияСхема приведена ниже:
Пояснения к схеме(по цветам проводов контактной группы):
Красный — на стартер,
Розовый — +12В,
Коричневый — +12В для включения реле зажигания,
Белый — включение реле зажигания,
Черный, голубой — прочие потребители.
Положение ключа «0»:
Ни один провод в контактной группе не должен звониться с другими. Все провода разомкнуты друг от друга.
Положение ключа «1»:
В данном положении включается реле зажигания и по голубому с черным проводу запитывается система зажигания.
Белый замкнут с коричневым, розовый с голубым и черным.
Положение ключа «2»:
В данном положении опять таки реле зажигания остается включенным, подается +12В на реле включения стартера.
Белый замкнут с коричневым, розовый с красным и черным.
Положение ключа «3»:
В данном положении замыкаются цепи, обеспечивающие подсветку авто, габариты, сигнализацию дальним светом фар.
Коричневый замкнут с черным, розывый с черным.
Типичный пример неисправности контактной группы: автомобиль не заводится. Крутишь стартер, нет искры. Начинаешь грешить на коммутатор, датчик Холла, катушку. Но потом оказывается, что все исправно, просто система зажигания не запитана. То есть с замка зажигания девятки не поступает питание на систему зажигания.
На Главную.
