Как работает цилиндр сцепления главный: Цилиндр сцепления главный: основа легкого управления трансмиссией
конструкция, принцип работы, эксплуатация и неисправности
В системе гидравлического сцепления устанавливаются 2 цилиндра, обеспечивающих эффективную передачу усилия от педали к вилке выключения сцепления. Главный цилиндр повышает давление в гидроприводе при нажатии педали, а рабочий цилиндр передает это усилие уже непосредственно на само сцепление.
Конструкция, принцип работы
В гидроприводе сцепления рабочий цилиндр установлен непосредственно перед вилкой выключения сцепления, и его шток приводит ее в движение.
Благодаря такой конструкции привод работает одинаково эффективно вне зависимости от конфигурации и длины гидравлических шлангов.
Рабочий цилиндр сцепления имеет достаточно простую конструкцию:
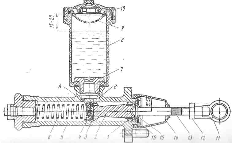
Рабочий цилиндр сцепления.
1. Корпус. 2. Штуцер. 3. Колпачок. 4. Толкатель.
5, 7. Уплотнительные кольца. 6. Поршень. 8. Тарелка.
9. Пружина. 10. Шайба. 11. Стопорное кольцо.
Рабочий цилиндр подключается к гидроприводу через штуцер, и при повышении давления жидкость толкает вперед поршень с присоединенным к нему штоком толкателя.
Толкатель, в свою очередь, нажимает на вилку выключения сцепления. Когда водитель отпускает сцепление, давление в гидроприводе падает и поршни главного и рабочего цилиндров, а также педаль и вилка сцепления возвращаются в исходное положение за счет пружин.
Несмотря на простоту, рабочие цилиндры могут иметь некоторые особенности конструкции. Например, для автомобилей Ford Focus, SsangYong и некоторых других моделей рабочий цилиндр конструктивно объединен с выжимным подшипником.
Выжимной подшипник с рабочим цилиндром
Штуцер подключения к гидроприводу может располагаться прямо или под углом.
Материалы изготовления рабочих цилиндров – алюминий и различные сорта чугуна. Преимущества чугуна – большая твердость по сравнению с алюминием, а значит, большая износостойкость. Алюминий лучше отводит тепло и меньше весит.
Эксплуатация
Благодаря простой конструкции рабочий цилиндр сцепления достаточно долговечный и не подвержен поломкам.
Основные неисправности связаны с износом резиновых уплотнителей, которые портятся от нагрузок, воздействия низких температур и тормозной жидкости. Если поврежденные уплотнители вовремя не заменить, попавшая внутрь пыль и грязь повредит зеркало цилиндра, после чего тормозная жидкость, используемая в гидроприводе, просачивается по микроцарапинам наружу, даже если установить новые хомуты. В связи с этим рабочий цилиндр желательно осматривать при каждом ТО, и при появлении потеков либо чинить, либо менять на новый.
Ремкомплект рабочего цилиндра включает необходимые сменные детали для каждой конкретной модели: пыльники, уплотнители, стопорное кольцо, а в некоторых наборах может быть запасная возвратная пружина, поршень, шток.
Вариант ремкомплекта
Нормально работающий цилиндр сцепления никак себя не проявляет и никаких особых мер предосторожности не требует. Замена его делается достаточно просто и быстро. Определенного регламента замены нет, рабочий цилиндр будет служить столько, сколько позволит его технический резерв, как правило, не менее 150 тыс.
км.
Признаки неисправности
Когда неисправен рабочий цилиндр, начинает некорректно работать сцепление:
- при нажатии на педаль слышен скрип;
- неточно включаются передачи;
- педаль сцепления слишком мягкая, слишком жесткая или проваливается;
- верхняя точка педали сцепления постепенно снижается;
- падает уровень жидкости в гидроприводе;
- появляются потеки на рабочем цилиндре.
Все эти признаки (кроме последнего) могут указывать и на другие неисправности, и точно определить причину можно на СТО. Если поврежден корпус или зеркало цилиндра, придется менять его полностью.
Продлить жизнь рабочему цилиндру сцепления можно при регулярных осмотрах: некоторые неисправности поначалу никак не проявляются, и выявить порванный пыльник можно только визуально. Это особенно актуально для владельцев автомобилей с новейшим электро-гидравлическим сцеплением, в которых используются не самые дешевые детали. Проще и выгодней заменить ремкомплект и ездить без проблем.
При замене или ремонте цилиндра делается и замена тормозной жидкости в гидроприводе: со временем она теряет свои свойства, накапливает влагу и вызывает коррозию металлических и резиновых деталей. Простейшая замена расходников позволяет намного продлить ресурс всех важных узлов автомобиля, в том числе и деталей привода сцепления.
назначение, устройство, принцип работы и неисправности
Сцепление является важным элементом в устройстве автомобиля, позволяя «соединить» двигатель и коробку передач, а также реализовать возможность комфортного изменения ступеней, исключить ударные нагрузки и т.д.
Схема устройства сцепления на разных авто может отличаться, при этом на современных ТС зачастую используется гидравлическое сцепление. Среди основных составных элементов гидравлической системы сцепления следует выделить ГЦС (главный цилиндр сцепления).
Задачей такого цилиндра (иногда называется выжимной цилиндр сцепления) является эффективная передача усилия от педали сцепления на вилку выключения сцепления.
Указанная вилка осуществляет прижим выжимного подшипника, что позволяет данному механизму работать благодаря взаимодействию с лепестками корзины сцепления.
Содержание статьи
- Устройство и принцип работы ГЦС
- Неисправности и ремонт главного цилиндра сцепления
- Причины и признаки неисправности ГЦС
- Советы и рекомендации
Устройство и принцип работы ГЦС
Начнем с того, что гидравлическое сцепление состоит из пары цилиндров (главный и рабочий цилиндр сцепления), которые позволяют работать гидроприводу сцепления. Что касается главного цилиндра, конструкция ГЦС и его принцип работы заключается в следующем:
- усилие от педали сцепления через толкатель передается на шток. Далее поршень выдвигается, в результате происходит перекрытие клапана, в результате чего жидкость из той части цилиндра, где она сжимается, получает возможность вытекать в отдельный бачок;
- сжатая в цилиндре жидкость проталкивается через штуцер, после чего происходит ее попадание в гидравлическую магистраль, по которой производится подача к рабочему цилиндру;
- рабочий цилиндр воздействует на вилку, передавая на нее усилие.
После того, как водитель отпускает педаль сцепления, поршень цилиндра возвращается обратно при помощи пружины.
Как видно, гидропривод сцепления работает аналогично другим системам (например, гидравлической системе тормозов), в основе которых лежит жидкость, которая под давлением почти не сжимается, однако происходит эффективная и быстрая передача усилия на исполнительные устройства.
Обратите внимание, при выборе новой детали нужно обязательно учитывать отдельные технические характеристики, способ крепления, подключения, наличие бачка в комплекте, материал изготовления корпуса, размеры, длину штока, диаметр штуцера и т.д.
Другими словами, при выборе главного цилиндра на тот или иной автомобиль, нужно учесть ряд параметров и особенностей. Также рекомендуется отдельное внимание уделять материалу изготовления. Дело в том, что цилиндры бывают как стальными, алюминиевыми или чугунными, так и пластиковыми (изготовлены из полимеров).
Изделия из чугуна и алюминия достаточно распространены, являются «средним» вариантом по качеству, пластиковые корпуса самые доступные по цене, однако не всегда отличаются надежностью и длительным сроком службы.
Что касается стали, такие цилиндры самые надежные, однако имеют высокую стоимость по причине сложности изготовления.
Неисправности и ремонт главного цилиндра сцепления
Если говорить о ГЦС, как и любое другое устройство, данный элемент также может выйти из строя. Хотя главный цилиндр сцепления отличается простотой конструкции и надежностью, со временем появляется износ отдельных элементов по причине постоянных нагрузок, особенно если машина эксплуатируется в городе.
Как правило, первыми из строя выходят уплотнители и детали из резины. Если просто, под такими уплотнительными элементами следует понимать пыльники, которые надеты на шток для защиты цилиндра от грязи и мелкого абразива, а также уплотнительные манжеты, которые не позволяют вытекать рабочей жидкости.
Еще одним элементом, который может стать причиной проблем с ГЦС, является пружина в цилиндре. Пружина главного цилиндра сцепления постоянно испытывает нагрузки в процессе эксплуатации автомобиля, также на нее воздействует тормозная жидкость, которая выполняет в данном случае функцию рабочей.
Когда металл становится более хрупким, пружина может попросту лопнуть.
Так или иначе, в случае неполадок цилиндр нужно менять. При этом в ряде случаев также удается обойтись ремонтом ГЦС, а не его заменой. С учетом относительно высокой стоимости детали для многих авто, данный способ является оптимальным. Для этих целей нужно приобрести ремкомплект цилиндра сцепления, который включает в себя необходимые запасные элементы.
Такой подход обычно позволяет перебрать устройство и полностью восстановить его работоспособность. Главное, чтобы ремкомплект был качественным, а сам ремонт главного цилиндра сцепления выполнялся опытными специалистами.
Причины и признаки неисправности ГЦС
Как уже было сказано выше, со временем износ отдельных элементов цилиндра неизбежен. Также к преждевременному выходу детали из строя может привести несвоевременная замена тормозной жидкости, разрывы уплотнителей, ошибки при сборке/установке отдельных запчастей из ремкомплекта и т.д.
Как правило, самой серьезной поломкой можно считать такую, когда зеркало самого цилиндра сильно изношено, появились задиры, потертости и другие дефекты на поверхности металла, видны очаги коррозии. В такой ситуации обычной переборкой с использованием ремкомплекта часто обойтись не удается. Выходом становится только полная замена главного цилиндра сцепления.
Дело в том, что одним из свойств тормозной жидкости является высокая проникающая способность. Это значит, что жидкость просачивается даже по мельчайшим царапинам на зеркале цилиндра и/или поршне. Замена только резиновых уплотнителей в этом случае не помогает.
Рекомендуем также прочитать статью о том, есть ли сцепление в коробке автомат. Из этой статьи вы узнаете, какие устройства и механизмы в АКПП выполняют функцию сцепления, а также как работает сцепление в автоматической коробке.
Зачастую качественный ремкомплект ГЦС обычно имеет как манжеты, так и новый поршень. Однако если царапины имеются на зеркале цилиндра, в этом случае нужна замена всей детали.
По этой причине важно не допускать критического износа, обращая внимание на малейшие признаки неисправности ГЦС. Как только в цилиндре возникают неполадки, жидкость из системы может вытекать, понижается ее уровень.
Также педаль сцепления может работать хуже, при езде водитель замечает, что процесс переключения передач нарушен в результате сбоев в работе сцепления. При проблемах с цилиндром педаль сцепления может падать в нижнее положение (проваливаться, залипать), ход педали становится тугим и т.д.
В таком случае нужно безотлагательно провести визуальный осмотр. Прежде всего, следует провести проверку уровня и состояния тормозной жидкости. Также нужно осматривать сам цилиндр. Если на цилиндре заметны явные потеки или уплотнители (манжеты) влажные, тогда очевидно нарушение герметичности.
Еще отметим, что частой проблемой главного цилиндра сцепления является активное засорение отверстий в крышке бачка. Чтобы устройство нормально работало, предполагается, что уровень жидкости в бачке цилиндра постоянно повышается и затем происходит его понижение.
Для того чтобы уровень нормально повышался и понижался, в крышке бачка есть специальные вентиляционные отверстия. В случаях, когда отверстия забиты грязью, весь гидропривод работает со сбоями, педаль сцепления ходит туго, происходит медленный возврат педали сцепления в исходное положение и т.д.
Советы и рекомендации
Начнем с того, что в гидроприводе сцепления рабочей является тормозная жидкость (ТЖ). Указанная жидкость хорошо подходит для выполнения возложенных на нее функций, отличается низкой ценой и доступностью, а также простотой замены.
При этом для нормальной работы не только тормозов, но и сцепления, важно, чтобы уровень ТЖ всегда был в норме. Определяется уровень по бачку на главном цилиндре сцепления. В случае понижения жидкость нужно долить, причем использовать только ту, которая рекомендуется для данного авто (например, DOT4, DOT5).
Нужно учитывать, что такая жидкость является сильным ядом для живых организмов, агрессивна к пластиковым и резиновым изделиям, ЛКП и т.п. Не трудно догадаться, что уплотнители из резины быстро приходят в негодность от контакта с тормозной жидкостью (происходит усыхание, растрескивание).
Также тормозная жидкость имеет свойство со временем накапливать в себе влагу (является гигроскопичной). Это приводит как к ухудшению ее свойств, так и к развитию коррозии деталей, с которыми она контактирует.
Еще в отдельных случаях при разборке и дефектовке специалисты находят песок в приводе сцепления. Если просто, в тормозной жидкости появляется характерный осадок, который похож на мелкие частицы песка. На самом деле это не песок, а продукты, которые образуются в результате воздействия электричества на тормозную жидкостью.
Дело в том, что ТЖ не отличаются устойчивостью к воздействию электричества. На практике, даже низкое напряжение приводит к выпадению осадка, происходит активная кристаллизация составных элементов жидкости.
Обратите внимание, если ГЦС выполнен из металла (например, имеет корпус из чугуна), а поршень цилиндр сделан из алюминия, в результате контакта с тормозной жидкостью создается небольшой электрический потенциал.
Рекомендуем также прочитать статью о том, нужно или не нужно выжимать сцепление при запуске двигателя. Из этой статьи вы узнаете, в каких случаях рекомендуется выжим сцепления перед запуском ДВС, а также когда и почему сцепление выжимать не следует.
Это приводит к образованию осадка. Чтобы избежать кристаллизации ТЖ, нужно выбирать на замену ГЦС с поршнем из полимеров. Такой поршень отличается тем, что не взаимодействует с металлом корпуса, оказывает меньшее воздействие на зеркало цилиндра. Также можно обратить внимание на поршень из латуни, однако, стоимость детали очень высокая на фоне аналогов.
С учетом вышесказанного становится понятно, что своевременная замена тормозной жидкости позволяет значительно увеличить срок службы деталей тормозной системы и системы гидропривода сцепления.
Важно понимать, что в ТЖ активно накапливается влага, антикоррозийные добавки срабатываются, скапливается осадок, повышается степень агрессивности к резиновым деталям и т.д.
По этой причине выполнять замену тормозной жидкости оптимально 1 раз в год или каждые 20-25 тыс. км. пробега. Такой подход позволяет продлить срок службы тормозных цилиндров и цилиндров сцепления.
Напоследок отметим, что доливать тормозную жидкость нужно так, чтобы в бачок не попадала пыль, грязь и мусор. В противном случае мелкие частички могут работать подобно абразиву, быстро повреждая гладкие и чувствительные внутренние поверхности деталей тормозной системы и гидропривода сцепления.
Как работают главные и ведомые цилиндры и их значение
Спрятанные за педальным блоком и расположенные глубоко в гидравлических системах автомобиля, главные и ведомые цилиндры помогают потенциально наиболее важным системам автомобиля
Напомнить позже
Каждая унция физики, происходящая внутри автомобиля, основана на передаче энергии.
Энергия может начаться в одной форме и вынуждена перейти в другую; химическое в тепло, тепло в звук, потенциал в кинетическое. И есть несколько компонентов, которые усиливают определенные входы до полезных выходов, многие из них с помощью гидравлики. Хотя многие водители постепенно продвигаются к электрификации или «по проводам», многие автомобили по-прежнему используют старомодные гидравлические и тросовые методы, которые мы все знаем и любим.
Главный и рабочий цилиндры используются в качестве фокусных точек для создания давления; так что они и как они работают?
Для приведения в действие сцепления и тормозов автомобиля требуется небольшая помощь, учитывая силы, которым они предназначены противодействовать, поэтому в главном и подчиненном цилиндрах создается гидравлическое давление для обеспечения требуемой силы. Главный цилиндр находится непосредственно за педальным блоком и соединен с соответствующей педалью.
Начнем с тормозов; когда сила прикладывается к педали тормоза, толкатель проталкивается через гидравлическую жидкость для создания гидравлического давления. Поэтому негидравлическое давление (от педали) преобразуется в гидравлическое давление посредством передачи энергии. Главный цилиндр имеет резервуар с жидкостью для хранения необходимого количества жидкости, а под этим резервуаром находится отверстие, в котором размещены два поршня, разделенные пружиной. Когда на поршни действует толкатель, они проталкивают гидравлическую жидкость, сжимаясь и создавая внутреннее давление. Затем это давление передается по тормозным магистралям для приведения в действие либо тормозного барабана, либо суппорта.
Каждый поршень соответствует отдельной тормозной «цепи», которая служит дополнительной мерой безопасности. Один поршень используется для передачи гидравлического давления на передний правый и задний левый тормозные суппорты, а второй используется для помощи переднему левому и заднему правому тормозным суппортам соответственно.
При использовании этого метода — если первый поршень выйдет из строя или первичное гидравлическое давление потеряно, толкатель просто нужно будет протолкнуть дальше по каналу ствола, пока неисправный поршень не встретится со вторым поршнем, что позволит, по крайней мере, некоторое гидравлическое давление. применяемый. Это означает, что по крайней мере некоторая тормозная сила прикладывается как к передним, так и к задним колесам автомобиля, при этом резервуар также разделен на две части, чтобы помочь разделить гидравлическое давление.
Главный цилиндр эффективно работает как гидравлический насос, от которого жидкость подается к подчиненным цилиндрам дальше по линии. Рабочий цилиндр находится на другом конце гидравлической системы и работает противоположно главному цилиндру. Как только гидравлическая жидкость проходит через подчиненный цилиндр, давление используется для приведения в действие рычажного механизма вперед и назад, преобразовывая движение жидкости обратно в механическое движение рычажного механизма.
Рабочие цилиндры в автомобиле, таким образом, используются для завершения усиления сил от входов вашей ноги до сцепления и тормозов соответственно. В случае сцепления рабочий цилиндр приводит в действие вилку сцепления, чтобы отсоединить фрикционный диск сцепления от маховика, а возвратная пружина меняет процесс вспять. И рабочий цилиндр, который есть в каждом наборе тормозных суппортов на автомобиле, используется для замыкания тормозных колодок вокруг тормозного диска. Чтобы усилить тормозную систему, перед главным цилиндром установлен усилитель тормозов, который использует вакуум, создаваемый во впускном коллекторе, для дальнейшего усиления гидравлического давления в тормозной системе.
Выход из строя главного и рабочего цилиндров может быть чем-то вроде кошмара, причем большинство неисправностей возникает из-за утечек гидравлической жидкости, что приводит к недостатку давления.
Это может привести к тому, что переключение передач станет невероятно трудным для выполнения, поскольку усилия, прилагаемого к педали сцепления, просто недостаточно для эффективного приведения в действие вилки сцепления. Поэтому неисправный рабочий цилиндр может сделать автомобиль практически неуправляемым в случае отказа. Очевидно, что подобная гидравлическая неисправность в тормозной системе может быть еще более катастрофической, поэтому главные цилиндры спроектированы с определенным запасом прочности, используя вторичный поршень внутри механизма.
Если вы когда-либо чувствовали, что ваше сцепление «ушло» из-за чрезвычайно тугого переключения передач, что может даже привести к скрежету шестерен, скорее всего, это гидравлический тормоз. выход из строя главного или рабочего цилиндра. Возможно, это просто небольшая гидравлическая утечка, которую необходимо устранить, а затем быстро долить в резервуар, или это может быть подлинное повреждение поршневых или пружинных механизмов внутри цилиндров.
Так что в следующий раз, когда вы нажмете педаль тормоза или сцепления, вы будете точно знать, что происходит!
что это такое и когда его менять
Главный цилиндр сцепления расположен рядом с выходным отверстием электродвигателя педали сцепления. Это очень простой гидравлический цилиндр, который соединен с педалью сцепления нашего автомобиля и с крыльчаткой этой педали шлангом, наполненным маслом.
Как и гидравлическое сцепление, главный цилиндр сцепления представляет собой сложную систему, но часто легко найти причину его выхода из строя.
В этом посте от Frenkit, производителя и дистрибьютора деталей тормозной системы, мы расскажем вам все, что вам нужно знать о главном цилиндре сцепления или насосе сцепления, фундаментальном элементе системы сцепления нашего автомобиля. Вы не можете пропустить это!
Что такое главный цилиндр сцепления и как он работает
Главный цилиндр сцепления или насос сцепления является основным типом гидравлической операционной системы сцепления.
Этот простой гидравлический принцип используется для передачи необходимого усилия от педали сцепления к рабочему цилиндру.
Эта часть системы сцепления соединена одной стороной с педалью сцепления через рычажный механизм. Другой конец соединен через шланг с рабочим цилиндром, который приводит в движение сцепление.
Когда менять главный цилиндр сцепления
Главный цилиндр сцепления или насос сцепления — это компонент, который позволяет нам правильно манипулировать педалью сцепления, всегда с меньшими усилиями, чем если бы эта деталь не присутствовала в нашем автомобиле. .
Как и другие компоненты системы сцепления, главный цилиндр сцепления может иметь очень характерные неисправности. Поэтому очень важно знать обо всех них.
В зависимости от модели автомобиля ремонт главного цилиндра сцепления обычно довольно прост, а также недорог. На некоторых моделях автомобилей все, что требуется, это купить новый комплект главного цилиндра сцепления, открутить магистраль сцепления, затем снять удерживающий кронштейн компонента, заменить внутренние компоненты и собрать насос сцепления.
Здесь мы объясняем, когда необходимо отремонтировать насос сцепления нашего автомобиля или когда заменить главный цилиндр сцепления:
Когда заедает педаль
Этот первый симптом возникает, когда педаль сцепления нашего автомобиля нажата , педаль сцепления опускается, но не возвращается в исходное положение. Если это произойдет, мы не сможем переключать передачи, поэтому нам придется остановить нашу машину, пока мы не заменим главный цилиндр сцепления на новый.
Тормозная жидкость практически отсутствует
В бачке, где находится тормозная жидкость, мы можем видеть метки сбоку, указывающие на ее количество в бачке. Если тормозная жидкость ниже отметки, важно ее долить. В зависимости от модели автомобиля потребуется тот или иной тип жидкости.
Но почему уменьшается тормозная жидкость? Со временем главный цилиндр сцепления или насос сцепления теряет тормозную жидкость из-за возможной течи в главном или рабочем цилиндре системы сцепления.
Переключение передач слишком резкое
Когда главный цилиндр сцепления поврежден, но мы можем продолжать движение, это может быть связано с тем, что во время движения происходит слишком резкое переключение передач.
В результате сцепление может начать буксовать. Важно нажимать на педаль сцепления твердо и осознанно, но не резко.
Если педаль мягкая или упругая
Если в какой-то момент вождения вы заметили, что педаль сцепления стала легче и ее легче нажимать, чем раньше, это еще один признак, указывающий на необходимость замены педали сцепления. Это связано с тем, что в главном цилиндре сцепления есть воздух, поэтому педаль становится мягче.
Тормозная жидкость темная
Последний признак, который может побудить нас проверить насос сцепления нашего автомобиля, — это если тормозная жидкость, которую мы пополнили, внезапно становится очень темной.
Это может быть связано с выходом из строя одного из внутренних уплотнений в главном цилиндре сцепления. Резиновые частицы от этих внутренних уплотнений могут разрушаться при использовании и загрязнять жидкость, тем самым обесцвечивая содержимое бачка нашего автомобиля.
Однако, если тормозная жидкость давно не менялась, необходимо обратиться к руководству по эксплуатации вашего автомобиля, чтобы узнать рекомендуемый интервал обслуживания.

После того, как водитель отпускает педаль сцепления, поршень цилиндра возвращается обратно при помощи пружины.