Среднего моста камаз 5320 устройство: Устройство и работа главных передач и межколесных дифференциалов ведущих мостов автомобиля КамАЗ-5320
Устройство и работа главных передач и межколесных дифференциалов ведущих мостов автомобиля КамАЗ-5320
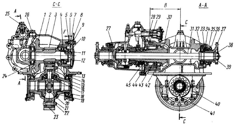
Полуоси привода ведущих колес соединяются с соответствующими полуосевыми шестернями при помощи шлицев.
Передача крутящего момента от межосевого дифференциала осуществляется на ведущую коническую шестерню, затем на ведомую коническую шестерню, ведущую цилиндрическую шестерню и ведомую цилиндрическую шестерню. Крутящий момент от корпуса межколесного дифференциала, к которому прикреплена ведомая цилиндрическая шестерня главной передачи, передается на крестовину, а от нее через сателлиты — на шестерни полуосей.
Сателлиты, действуя с одинаковой силой на правую и левую шестерни полуосей, создают на них равные крутящие моменты. При этом благодаря незначительному внутреннему трению равенство моментов практически сохраняется как при неподвижных сателлитах, так и при их вращении. Поворачиваясь иа шипах крестовины, сателлиты обеспечивают возможность вращения правой и левой полуосей, а следовательно, и колес с разными частотами.
Рис. 4.22. Глазная передача и дифференциалы среднего ведущего моста автомобиля КамАЗ-5320.
1 — ведомая коническая шестерня; 2 — картер главной передачи; 3 — ведущая цилиндрическая шестерня; 4, 25 — регулировочные шайбы; а, 19 — регулировочные прокладки; 6 — стакан подшипников; 7, 9, 24, 26 — конические роликовые подшипники; 8 — регулировочная гайка подшипника дифференциала; 10 – опорная шайба сателлита; И – сателлит; 12 – втулка сателлита; 13 – полуосевая шестерня; 14 – опорная шайба полуосевой шестерни; 15 – крестовина; 16 — ведомая цилиндрическая шестерня; 17 – шариковый подшипник; 18 – картер межосевого дифференциала; 19 — прокладка; 20 — ведущая коническая шестерня; 21 — проходной вал привода заднего моста; 22 — крышка подшипника; 23 — стопор
Рис. 4.23. Главная передача и дифференциал заднего ведущего моста автомобиля КамАЗ-5320
Смазка трущихся поверхностей деталей главной передачи и дифференциала осуществляется разбрызгиванием масла, находящегося в картере.
Общее устройство главной передачи и дифференциала заднего ведущего моста аналогично рассмотренному выше. Отличия объясняются главным образом тем, что задний ведущий мост не проходной и получает крутящий момент от межосевого дифференциала, установленного на среднем ведущем мосту.
В главной передаче заднего моста ведущая коническая шестерня отличается от аналогичной шестерни среднего моста тем, что ее ступица короче и имеет внутренние шлицы для соединения с ведущим валом главной передачи заднего моста. Опорные конические роликовые подшипники взаимозаменяемы с соответствующими подшипниками среднего ведущего моста.
Главная передача КАМАЗ среднего и заднего моста
Главная передача КАМАЗ является частью трансмиссии, устанавливается на каждом из ведущих мостов, предназначается для усиления вращающего момента и его перенаправления от карданного вала к колесам. На грузовики и тягачи КАМАЗ ставится двойная передача. Её особенностью в том, что она состоит из 2 пар шестерен – цилиндрической и конической.
Передаточные числа главной передачи КАМАЗ могут быть четырех видов: 7.22 подходит для тягачей и составов автопоездов, 5.43 используется для одиночных грузовиков, 6.53 и 5.94 обладают универсальным свойством и подходят в обоих случаях.
 Формально это число означает соотношение числа зубьев колеса к числу зубьев шестерни. Соответственно, чем это значение больше, тем мощнее тяговое усилие колес грузовика.
В зависимости от условий эксплуатации подбирается соответствующая конструкция цилиндрического колеса:
• Главная передача КАМАЗ бывает на 50 зубьев, она используется в гористой местности, для повышенной тяги;
• Главная передача КАМАЗ бывает на 48, 49 зубьев, она достаточно универсальна в применении, подходит для пересеченной местности с препятствиями;
• Главная передача на 31 и 35 зубьев применяется на тяжеловесах КАМАЗ 6520 и 6522 для транспортировки сыпучих грузов массой более 20 тонн.
Устройство мостов главной передачи
В автомобилях Камского автозавода устанавливаются различные виды мостов, различающихся по своей конструкции. На полноприводных грузовиках 6×6 ставится три независимых ведущих моста.
 Схему переднего моста на таких машинах отличает устройство главной передачи, поворотного механизма и картера.
На неполноприводных автомобилях 6×4 отличия сводятся к типу крепления колес (ступичный, дисковый), наличию межколесной блокировки, тормозным механизмом. Они имеют 2 ведущих моста – средний (промежуточный) и задний. Их строение почти идентично, основное различие состоит в том, что главная передача среднего моста КАМАЗ снабжена блокируемым межосевым дифференциалом. Соответственно, главная передача заднего моста КАМАЗ такого дифференциала не имеет. Благодаря этому удается обеспечить вращение ведущих валов среднего и заднего моста с различной частотностью, минимизировать проскальзывание и пробуксовку колес. Точно так же межколесный дифференциал раздает вращающий момент левому и правому колесу в необходимой пропорции, так чтобы предотвратить скольжение на резких поворотах и дорогах с неровным покрытием.
Картер является сварным устройством, к нему прикрепляются фланцы для присоединения опорных рессор, тормозных механизмов и кронштейнов штанг.
 Внутрь картера монтируются шестерни. Регулировка главной передачи КАМАЗ производится на специальном оборудовании. Как правило, регулируется степень затяжки подшипников и их сцепление на конических шестернях. При проведении сервисных и ремонтных работ главная передача снимается, а на подшипники подбираются регулировочные шайбы подходящего размера.
Главная передача Камского автомобильного завода является надежной деталью. Однако при превышении уровня нагрузки и ошибке в эксплуатации возможен ряд неисправностей. Основные неполадки, которые подвергается главная передача КАМАЗ – это высокий уровень шума ведущего моста, продолжительное постукивание главной передачи, повреждения сальников и течь смазки.
Применяемость главной передачи на автомобили КАМАЗ
Если главная передача автомобиля КАМАЗ не подлежит восстановлению и ремонту, необходимо приобрести новое устройство. Стоит сразу оговориться, что они не производятся под конкретные модели автомобилей, а делятся на несколько типов в зависимости от своей применяемости:
• главная передача старого образца устанавливается на автомобили КАМАЗ 5320, 5511, 5410;
• главной передачей евро-образца укомплектовываются новые машины КАМАЗ 55111, 65115, 53205, 53215;

Если вы сомневаетесь в своем выборе, лучше получить консультацию мастера или сотрудника специализированного магазина. Наши специалисты будут рады оказать помощь с подбором редуктора.
Предлагаем купить главную передачу КАМАЗ от производителя
Наша компания занимается продажей комплектующих и деталей для грузовых автомобилей КАМАЗ. Нашим клиентам мы предлагаем купить главную передачу КАМАЗ оригинального качества от производителя (г. Набережные Челны). Прямое сотрудничество с заводом исключает возможность приобретения подделки и изделий низкого качества, а значит позволяет обеспечить надежную и бережную эксплуатацию вашего транспортного средства. Цена на главную передачу КАМАЗ в нашем магазине является конкурентоспособной и выгодной. Для торговых компаний и оптовых покупателей действуют особые условия покупки. Все детали всегда имеются в наличии, а отлаженная служба доставки готова привезти товар в любой населенный пункт России. В ряде случаев доставка предоставляется бесплатно.
|  ГЛАВНАЯ ПЕРЕДАЧА И ДИФФЕРЕНЦИАЛ ВЕДУЩЕГО МОСТА автомобилей КаМАЗ-5320 В каждом ведущем мосту монтируются главная передача и межколесный дифференциал. На среднем ведущем мосту автомобиля КамАЗ-5320, кроме того, установлен межосевой дифференциал. Главная передача автомобиля предназначен в для постоянного увеличения подводимого от двигателя крутящего момента и передачи его под прямым углом к ведущим колесам. Постоянное увеличение крутящего момента характеризуется передаточным числом главной передачи. На автомобилях КамАЗ в зависимости от назначения передаточное число главной передачи равно 5,43; 5,94; 6,53; 7,22, Нв автомобиле Урал-4320 оно равно 7,32, Нв модификациях автомобилей» предназначенных для использования в качестве седельных тягачей , передаточные числа главной передачи увеличены. На автомобилях КамАЗ-5320 и Урал-4320 применены двойные главные передачи, состоящие из двух зубчатых пар, пары конических шестерен со спиральными зубьями и пары цилиндрических шестерен с косыми зубьями. Такая схема позволяет получить большое передаточное число при достаточном дорожном просвете под картером главной передачи. Дифференциал, установленный в картере ведущего моста, называется межколесным. Он предназначен для распределения крутящего момента, подводимого от главной передачи, между правым н левым ведущими колесами и обеспечивает возможность вращения колес с разными частотами, что необходимо для предотвращения скольжения колес при движении автомобиля на поворотах и по неровностям дороги, когда колеса расположены с разных сторон автомобиля, проходят неравные пути. На автомобилях КамАЗ-5320 и Урал-4320 в каждом ведущем мосту применен конический симметричный дифференциал. Эго означает, что в дифференциале применены конические шестерни и на правое и левое колеса от него передаются одинаковые крутящие моменты. На среднем ведущем мосту автомобиля КамАЗ-5320 установлен межосевой дифференциал. Он позволяет ведущим валам главных передач среднего и заднего мостов вращаться с разными частотами, а следовательно, и колеса этих мостов, также могут вращаться с разными частотами. Межосевой дифференциал автомобиля КамАЗ-5320 конический, симметричный, блокируемый. Когда дифференциал не сблокирован, он распределяет крутящий момент между главными передачами среднего и заднего ведущих мостов практически поровну. Дифференциальная связь обеспечивает более равномерное нагружение деталей привода к ведущим колесам, уменьшает износ шин, улучшает управляемость автомобиля. Однако, как уже было отмечено, в тяжелых условиях и на скользких дорогах она отрицательно сказывается на проходимости автомобиля.  | 
| Заводской номер комплекта цилиндрических шестерен главных передач мостов | Число зубьев шестерен | Общее передаточное число мостов. | 
|  5320 – 2402110 – 20 5320 – 2402120 — 20  |  12 50  | 26/15*50/12 = 7,22 | 
|  5320 – 2402110 – 10 5320 – 2402120 — 10  |  13 49  | 26/15*49/13 = 6,53 | 
|  5320 – 2402110 – 30 5320 – 2402120 — 30  |  14 48  | 26/15*48/14 = 5,94 | 
|  5320 – 2402110 – 40 5320 – 2402120 — 40  |  15 47  | 26/15*47/15 = 5,43 | 
Рис.
 69. Узлы ведущих конических шестерен главных передач мостов:
а – среднего; б – заднего; 1 – замковая шайба; 2 – гайка; 3 – шайба подшипника; 4 – гайка подшипника; 5 – стопорный штифт; 6 – регулировочная шайба.
Рис. 71. Главная передача среднего моста:
1 — ведомая коническая шестерня; 2 — картер главной передачи; 3 — ведущая цилиндрическая шестерня; 4 и 44 — регулировочные шайбы; 5 и 29 — регулировочные прокладки; 6 — стакан подшипников; 7 и 33 — прокладки крышки; 8 — крышка стакана; 9 — опорная шайба; 10 — гайка подшипника; 11, 12 и 14 — конические роликоподшипники; 13 — регулировочная гайка подшипника дифференциала; 15 — опорная шайба сателлита; 16 — сателлит; 17 — бронзовая втулка сателлита; 18 — полуосевая шестерня; 19 — опорная шайба полуосевой шестерни; 20 — крестовина; 21 — чашка дифференциала; 22 — болт крепления чашек дифференциала; 23 — ведомая цилиндрическая шестерня; 24 — цилиндрический роликоподшипник; 25 и 26 — заливные пробки; 27 — картер межосевого дифферинциала; 28 — стакан переднего конического роликоподшипника; 30 ведущая коническая шестерня; 31 — задний вал; 32 — шарикоподшипник; 34 — крышка подшипника; 35 — сальник; 36 — маслоотражатель; 37 — фланец; 38 — гайка крепления фланца; 39 — шайба; 40 — крышка подшипника дифференциала; 41 — стопор гайки; 42 — задний конический подшипник; 43 — распорная втулка; 45 — передний конический роликоподшипник.
 
Рис. 72. Межосевой дифференциал:
1 — гайка крепления фланца; 2 — шайба; 3 — фланец; 4 — сальник; 5 — болт; 6 — картер межосевого дифференциала; 7 — опорная шайба полуосевой шестерни; 8 — передняя чашка межосевого дифференциала; 9 — сателлит с бронзовой втулкой; 10 — опорная шайба сателлита; 11 — заглушка; 12 — выключатель; 13 — установочный винт; 14 — заливная пробка; 15 — прокладка; 16 — механизм блокировки дифференциала; 17 — вилка муфты; 18 — стопорное кольцо; 19 — внутренняя зубчатая муфта; 20 — муфта блокировки; 21 — сливная пробка; 22 — коническая шестерня привода заднего моста: 23 — задняя чашка дифференциала; 24 — крестовина; 25 — коническая шестерня привода заднего моста; 26 — самостопорящийся болт крепления чашек дифференциала; 27 — опорная шайба конической шестерни; 28 — прокладка крышки; 29 — шарикоподшипник; 30 — крышка подшипника.
Для равномерного распределения крутящего момента между ведущими мостами в трансмиссию автомобиля введен симметричный межосевой дифференциал.
Межосевой дифференциал
с механизмом блокировки собран в отдельном картере 27, прикрепленном болтами к фланцу стакана 28 подшипников ведущей конической шестерни, и состоит из передней 8 и задней 23 чашек, внутри которых установлены конические шестерни 25 и 22 приводов соответственно заднего и среднего мостов. Чашки обрабатывают совместно, поэтому при сборке их нужно ставить так, чтобы совпадали места клеймения комплекта, выбитые на торце отверстия под шип крестовины. Конические шестерни дифференциала находятся в зацеплении с четырьмя сателлитами 9, сидящими на шипах крестовины 24. В чашках и конических шестернях имеются отверстия для подвода смазки к рабочим поверхностям шестерен. Под торцы конических шестерен и сателлитов подложены опорные шайбы 7 и 10. Чашки дифференциала соединены между собой болтами.
Задний вал 31 и хвостовик ведущей конической шестерни 30 соединены с коническими шестернями межосевого дифференциала шлицевыми соединениями. Задний вал 31 свободно установлен внутри хвостовика ведущей конической шестерни 30 и вращается в двух шарикоподшипниках.
Наружная обойма переднего подшипника 29 запрессована в выточку картера межосевого дифференциала, а во внутренней обойме установлен хвостовик передней чашки 8 дифференциала, внутри которой размещены коническая шестерня 25 и передний торец заднего вала. Задний шарикоподшипник 32 расположен в выточке картера главной передачи среднего моста.
На шлицах хвостовика передней чашки дифференциала и заднего вала имеются фланцы для крепления карданных валов. От грязи и пыли шарикоподшипники защищены крышками с прокладками и сальниками.
Конструкция подшипникового узла ведущей конической шестерни аналогична конструкции узла главной передачи заднего моста, а подшипниковые узлы ведомых конических (ведущих цилиндрических) шестерен обоих мостов одинаковы.
Рис. 73. Механизм блокировки межосевого дифференциала:
1 — болт; 2 — крышка корпуса; 3 — диафрагма; 4 — стопорное кольцо; 5 — крышка стакана; 6 — стакан штока; 7 — возвратная пружина; 8 — нажимная пружина; 9 — корпус механизма; 10 — шток.
 
Предварительный натяг подшипников и зацепление в конических шестернях регулируют так же, как и натяг подшипников и зацепление шестерен заднего моста.
Механизм блокировки 16 состоит из зубчатых муфт 19 и 20, штока с вилкой 17, диафрагменной камеры и крана управления .
Зубчатая муфта 19 находится в постоянном зацеплении с зубчатым венцом конической шестерни 22.
При повороте ручки крана управления блокировкой межосевого дифференциала воздух из пневматической системы по трубопроводам поступает в диафрагменную камеру. Диафрагма 3, передвигаясь, сжимает нажимную пружину 5, которая перемещает шток 10 с вилкой и муфту блокировки. Муфта 20, соединяясь шлицами с зубчатым венцом задней чашки дифференциала, блокирует межосевой дифференциал.
Картер главной передачи заднего моста в сборе с колесным дифференциалом и картер главной передачи среднего моста в сборе с колесным и межосевым дифференциалами при установке центрируют посадочным пояском и крепят гайками на шпильках, ввернутых в картер моста.
Полуоси заднего и среднего мостов полностью разгружены. На цапфах, приваренных к торцам картеров мостов, гайками 20, замковыми шайбами 24 и контргайками 25 закреплены ступицы 30, вращающиеся на двух конических роликоподшипниках 18 и 19. К заднему фланцу ступицы прикреплен шпильками тормозной барабан 34, а к наружному фланцу гайками 31, прижимами 32 и проставочным кольцом 33 — ободы задних колес.
Подшипники ступицы защищены от грязи и пыли прокладками 23, установленными под фланцем полуоси, и сальником 16 с лабиринтным уплотнением, смонтированным в расточке задней части ступицы.
Для демонтажа в полуосях предусмотрены резьбовые отверстия под болты съемника. Ступицы мостов и детали их крепления взаимозаменяемы.
В верхней части левого кожуха полуоси установлен сапун 36, сообщающий полость картера моста с атмосферой.
2.2. Устройства и работа двойной главной передачи заднего ведущего моста автомобиля КамАЗ-5320. Работа двойных главных передач КамАЗ-5320
Похожие главы из других работ:
Динамика ведущего моста автомобиля
1.
 Динамика ведущего моста автомобиляРассмотрим движение ведущего моста автомобиля при появлении бортовой неравномерности коэффициентов сцепления. Бортовая неравномерность коэффициентов сцепления колес с дорогой в тяговом режиме может вызвать занос в случае…
Проектирование автомобиля на базе ЗИЛ ММЗ 4413
4. Расчет главной передачи ведущего моста
Расчет производим при самых жестких условиях, т.е. при максимальном крутящем моменте и первой передаче, по учебному пособию [5]. Из прототипа Тmax =402 Нм при n=1900 об/мин. Тогда мощность на валу двигателя: (4…
Работа двойных главных передач КамАЗ-5320
1. Назначение двойной главной передачи
Главная передача автомобиля предназначена для постоянного увеличения подводимого от двигателя крутящего момента и передачи его под прямым углом к ведущим колесам…
Работа двойных главных передач КамАЗ-5320
2. Устройство и работа двойных главных передач КамАЗ-5320
.
 ..
Работа двойных главных передач КамАЗ-5320
2.1. Устройства и работа двойной главной передачи среднего ведущего моста автомобиля КамАЗ-5320
Двойная главная передача среднего ведущего моста автомобиля КамАЗ-5320 (рис.2) выполнена с проходным валом для привода главной передачи заднего моста…
Работа двойных главных передач КамАЗ-5320
2.3. Устройства и работа двойных главных передач ведущих мостов автомобиля КамАЗ-5320
Картер главной передачи 3 (рис.4) крепится к балке моста болтами. Плоскость разъема уплотняется паронитовой прокладкой толщиной 0,8 мм. В полости картера устанавливаются пара цилиндрических с косыми зубьями шестерен…
Расчет трудоемкости выполнения работ на агрегатном участке
1.4.2 Ремонт ведущего моста автомобиля КамАЗ 5511
При ремонте в зависимости от неисправности демонтируйте ведущий мост в сборе, или только главную передачу, или детали колёсного редуктора. Редуктор разберите на следующие сборочные единицы.
 ..
Рулевое управление автомобиля КамАЗ–5320 и трактора МТЗ–80 с гидроусилителем
2.Устройство и работа рулевого управления автомобиля КамАЗ — 5320 и колесного трактора МТЗ — 80
Рулевое управление состоит из (прил.1.) рулевого колеса 1, колонки рулевого управления 2 (прил.1.), карданной передачи 6, углового редуктора 9, рулевого механизма 10, гидравлического усилителя (включающего клапан управления 8, радиатор 7…
Технологическая карта текущего ремонта. Ремонт (разборка) главной передачи заднего моста
3.4 Техническое обслуживание главной передачи заднего моста
Техническое обслуживание заднего моста заключается в основном в проверке уровня масла и, его замене. Однако периодически следует проверять и регулировать главную передачу. Это самые сложные и трудоемкие операции по обслуживанию автомобиля…
Технологическая карта текущего ремонта. Ремонт (разборка) главной передачи заднего моста
3.6 Диагностирование главной передачи заднего моста
Симптомы неисправного заднего моста могут быть следующими:  1) со стороны задних колес слышен сильный шум.
 Причины этого могут быть разными: ослабло крепление колеса, неисправен шариковый подшипник полуоси…
Устройство и принцип действия заднего моста автомобиля ВАЗ–2107
1. Устройство и принцип действия заднего моста автомобиля ВАЗ — 2107
Задний мост легкового автомобиля ВАЗ — 2107 (рис. 1.1) выполнен в виде цельной балки 10 с развитой центральной частью кольцевой формы. Балку сваривают из двух стальных штампованных половин. С одной стороны к средней части балки 10 приварена крышка…
Устройство и принцип действия заднего моста автомобиля ВАЗ–2107
2. Разработка технологического процесса снятия и установки заднего моста автомобиля ВАЗ — 2107
Вывешиваю заднюю часть автомобиля, снимаю колеса. Подставляю регулируемую опору или домкрат под редуктор и слегка нагружаю подвеску. Отсоединяю карданный вал от фланца ведущей шестерни главной передачи…
Устройство и принцип действия заднего моста автомобиля ВАЗ–2107
3.
 Разработка технологического процесса разборки заднего моста автомобиля ВАЗ — 2107…
Устройство и принцип действия заднего моста автомобиля ВАЗ–2107
4. Дефектация деталей заднего моста автомобиля ВАЗ — 2107
…
Устройство и принцип действия заднего моста автомобиля ВАЗ–2107
5. Разработка технологического процесса сборки заднего моста автомобиля ВАЗ — 2107
Сборка заднего моста автомобиля ВАЗ — 2107 производится в порядке обратном разборке, но при условии выполнения работ по регулировке отдельных деталей…
Камаз 4310 схема переднего моста. Узлы и механизмы мостов автомобилей Камаз
Ремонт редуктора переднего моста КАМАЗ 4310
Разбираем мост камаз 4310
ремонт переднего моста ч 2
Ремонт узла поворотного кулака (вилки) переднего моста а/м Камаз 6522. Мост MADARA. Часть III
КАМАЗ — Ремонт редуктора заднего моста — Часть 5 — Сборка дифференциала
редуктора камаз сборка!!!
Урал лесовоз замена полуоси в полевых условиях
Ремонт переднего моста .
Урал 4320 часть 21 . Ремонт, замена втулок колец, сальников поворотного кулака.
КАМАЗ — Ремонт редуктора заднего моста — Часть 1 — Разборка
КАМАЗ — Ремонт редуктора заднего моста — Часть 3 — Регулировка подшипников хвостовика
Также смотрите:
- Размеры поршня двигателя КАМАЗ
 - Система водяного охлаждения КАМАЗ
 - Размер кузова КАМАЗ зерновоз
 - Замена колодок на КАМАЗе 53215
 - Как заменить задние рессоры на КАМАЗе
 - Сколько литров масла в двигателе КАМАЗ 4310
 - Коробка передач грузового автомобиля КАМАЗ
 - Палец тормозных колодок КАМАЗ
 - КАМАЗ с полуприцепом вода
 - Система питания КАМАЗ презентация
 - Как проверить интегралку на КАМАЗе
 - КАМАЗ 54115 лесовоз для euro truck simulator 2
 - Старые КАМАЗы запретят
 - Трещетка тормозов КАМАЗ 6520
 - Инструкция насоса КАМАЗ
 
 Главная » Новое » Ремонт редуктора переднего моста КАМАЗ 4310
kamaz136.ru
Главная передача Камаз
Главная передача служит для увеличения крутящего момента на ведущих колесах и передачи его от карданного вала к полуосям под прямым углом.
Постоянное увеличение крутящего момента характеризуется передаточным числом главной передачи. Общее передаточное число всей трансмиссии равно произведению передаточных чисел коробки передач, раздаточной коробки и главной передачи и может быть изменено при включении различных передач. Общее передаточное число показывает, во сколько раз сокращается частота вращения ведущих колес по сравнению с частотой вращения коленчатого вала двигателя. Чем больше передаточное число, тем больше тяговое усилие, развиваемое на ведущих колесах автомобиля.
В зависимости от назначения автомобилей КамАЗ в конструкции мостов предусмотрены четыре варианта передаточных чисел главной передачи. Передаточные числа 7,22; 6,53; 5,94 предназначены для автомобилей, работающих в составе автопоездов, а передаточные числа 6,53; 5,94 и 5,43 — для одиночных автомобилей.
На автомобилях КамАЗ применены двухступенчатые главные передачи, состоящие из двух зубчатых пар, пары конических шестерен с косыми зубьями и пары цилиндрических косозубых шестерен.
 Изменение передаточного числа главной передачи достигается установкой шестерен цилиндрической пары с различным числом зубьев.
При движении по неровной дороге и при повороте ведущие колеса автомобиля в одинаковые отрезки времени проходят различные по величине пути. Если бы ведущие колеса соединялись между собой общим валом, то они во всех случаях движения вращались бы с одинаковой частотой, что неизбежно приводило бы к проскальзыванию и пробуксовке колес относительно дороги. Проскальзывание вызывает повышенное изнашивание шин, увеличивает затрату мощности, приводит к увеличению расхода топлива и затрудняет поворот.
Чтобы избежать указанных недостатков, ведущие мосты снабжают дифференциалом, который дает возможность ведущим колесам вращаться с различной частотой друг относительно друга. Однако следует учитывать, что при езде по скользкой дороге наличие дифференциала способствует заносу автомобиля.
На автомобилях КамАЗ в каждом ведущем мосту применен конический симметричный межколесный дифференциал.
 Это означает, что в дифференциале применены конические шестерни и на правое и левое колеса от него передаются одинаковые крутящие моменты.
На промежуточном ведущем мосту автомобилей КамАЗ с колесной формулой : 6X4 установлен еще и межосевой дифференциал. Он позволяет ведущим валам главных передач промежуточного и заднего мостов вращаться с разными частотами, а следовательно и колеса этих мостов также могут вращаться с разными частотами. Межосевой дифференциал автомобиля конический, симметричный, блокируемый. Когда дифференциал не сблокирован, он распределяет крутящий момент между главными передачами промежуточного и заднего ведущих мостов практически поровну. Дифференциальная связь обеспечивает более равномерное нагружение деталей привода к ведущим колесам, уменьшает изнашивание шин, улучшает управляемость автомобиля. Однако в тяжелых условиях и на скользких дорогах наличие дифференциала отрицательно сказывается на проходимости автомобиля. В этих условиях его блокируют, ведущие валы главных передач ведущих мостов жестко соединяются и вращаются с одинаковыми частотами.
 При этом буксование ведущих колес уменьшается, а проходимость автомобиля увеличивается.
Главная передача промежуточного ведущего моста автомобилей с колесной Формулой 6X4 выполняется с проходным залом для привода главной передачи заднего моста. Ведущая коническая шестерня 20 (рис. 1) установлена в горловине картера главной передачи на двух роликовых конических подшипниках 24, 26, между внутренними обоймами которых имеются распорная втулка и регулировочные шайбы 25. Шлицованный конец ступицы этой шестерни соединен с конической шестерней межосевого дифференциала, а внутри ступицы проходит вал 21 привода, одним концом соединенный с конической шестерней межосевого дифференциала, а другим с помощью карданной передачи — с ведущим валом главной передачи заднего моста.
Промежуточный вал опирается одним концом на два конических роликовых подшипника 7, между внутренними обоймами которых имеются регулировочные шайбы 4, а другим — на роликовый подшипник, установленный в расточке перегородки картера главной передачи.
 Конические роликовые подшипники 7 фиксируют промежуточный вал от смещения в осевом направлении. Заодно с промежуточным валом выполнена ведущая цилиндрическая шестерня 3 с косыми зубьями. Ведомая коническая шестерня 1 находится на конце промежуточного вала и удерживается от проворачивания шпонкой. Ведущую и ведомую конические шестерни главной передачи подбирают на заводе в комплекты, притирают и клеймят, указывая порядковый номер комплекта. Ведомая цилиндрическая шестерня 16, закрепленная в корпусе межколесного дифференциала, вращается на конических роликовых подшипниках 9. Эти подшипники регулируются гайками 8.
Между половинами (чашками 1 и
корпуса дифференциала (рис. 2.) в плоскости разъема зажата крестовина 5, на шипах которой свободно установлены четыре конических сателлита 7, каждый из которых находится в зацеплении с двумя полуосевыми шестернями 4, установленными в корпусе дифференциала. Все шестерни дифференциала прямозубые. Торцы сателлитов и их опорные поверхности в корпусе дифференциала сферические, что обеспечивает необходимое центрирование и правильное зацепление сателлитов с шестернями полуосей.
 Для уменьшения трения и вероятности задиров между корпусом дифференциала и торцами шестерен 4 и сателлитов 7 поставлены плавающие опорные шайбы 3 и 2.Шайбы подбираются определенной толщины при сборке дифференциала. Полуоси привода ведущих колес соединяются с соответствующими полуосевыми шестернями с помощью шлицев.
Передача крутящего момента от межосевого дифференциала осуществляется на ведущую коническую шестерню 20 (см. рис.), затем на ведомую коническую шестерню 1, ведущую цилиндрическую шестерню 3 и ведомую цилиндрическую шестерню 16. Крутящий момент от корпуса межколесного дифференциала, к которому прикреплена ведомая цилиндрическая шестерня 16 главной передачи, передается на крестовину 15, а от нее через сателлиты — на шестерни полуосей. Сателлиты 7 (рис. 2), действуя с одинаковой силой на правую и левую шестерни полуосей, создают на них равные крутящие моменты. При этом благодаря незначительному внутреннему трению равенство моментов практически сохраняется как при неподвижных сателлитах, так и при их вращении.
 Поворачиваясь на шипах крестовины, сателлиты обеспечивают возможность вращения правой и левой полуосей, а следовательно, и колес с разными частотами.
Смазывание трущихся поверхностей деталей главной передачи и дифференциала осуществляется разбрызгиванием масла, находящегося в картере. В дифференциал смазка поступает через окна в его корпусе, а для подвода масла к коническим подшипникам ведущей конической шестерни и промежуточного вала в стаканах, в которых установлены подшипники, предусмотрены продольные и радиальные каналы. Полость картера главной передачи сообщается с атмосферой через вентиляционный колпачок (сапун). Уплотнение валов осуществляется самоподжимными манжетами, защищенными грязеотражательными кольцами.
В главной передаче заднего моста ведущая коническая шестерня 21 (рис. 3) отличается от аналогичной шестерни промежуточного моста тем, что ее ступица короче и имеет внутренние шлицы для соединения с ведущим валом 22 главной передачи заднего моста. Опорные конические роликовые подшипники 18 и 20 взаимозаменяемы с соответствующими подшипниками промежуточного ведущего моста.
 Ведущий вал главной передачи заднего моста задним концом опирается на один роликовый подшипник, установленный в расточке картера. Для циркуляции смазки около подшипника в горловине картера выполнен канал. С торца подшипник закрыт крышкой. Остальные детали главной передачи и межколесного дифференциала промежуточного и заднего ведущих мостов аналогичны по устройству.
autoruk.ru
Узлы и механизмы мостов автомобилей Камаз
_______________________________________________________________________________________
Редуктор мостов грузовых автомобилей Камаз-4310, 55111, 43118
Главные передачи редуктора мостов автомобилей Камаз-4310, 55111, 43118 подлежат замене при следующих неисправностях:
— Повышенный шум и стуки при работе, а также заклинивание в результате износа или разрушения подшипников и зубьев зубчатых колес.
— Механические повреждения, нарушающие их нормальную работу (пробоины, трещины обломы картера главной передачи, срыв резьбы под шпильки и болты крепления крышек и др.
 ).
Снятие редуктора переднего моста Камаз-4310, 55111, 43118
— Выверните пробку сливного отверстия и слейте масло из картера главной передачи переднего моста. Очистите магнит пробки от металлических частиц и вверните пробку
— Закройте краны запора воздуха централизованной системы регулирования давления в шинах всех колес
— Отверните гайки М12 и выверните болты М8 крепления защитного кожуха гибкого шланга подвода воздуха, снимите пружинные шайбы и защитный кожух
— Выверните болты М8 крепления крана к полуоси, снимите кран с прокладкой и отведите его в сторону
— Отверните гайки крепления фланцев полуосей, снимите пружинные шайбы и разжимные втулки
— С помощью технологических болтов выпрессуйте фланец полуоси и снимите прокладку
— Ослабьте гайки крепления колес
— Затормозите стояночной тормозной системой колеса заднего и промежуточного мостов Камаз-4310, 55111, 43118, вывесите переднюю часть автомобиля и поставьте подставки под раму.
— Отверните гайки крепления колес и снимите колеса
— Отверните контргайку, снимите замочную шайбу, отверните гайку подшипников ступицы
— Установите съемник и спрессуйте ступицу колеса с цапфы
— Отсоедините шланги системы регулирования давления воздуха в шинах
— Расшплинтуйте оси тормозных колодок, снимите пружины тормозных колодок и колодки
— Отверните гайки шпилек крепления суппорта и цапфы к корпусу поворотного кулака, снимите пружинные шайбы, суппорт, цапфу с наружным кулаком и диском шарнира равных угловых скоростей в сборе
— Выньте полуось с внутренним кулаком Камаз-4310, 55111, 43118 в сборе
— Отсоедините карданный вал привода переднего моста от фланца ведущего вала главной передачи, отвернув гайки и вынув болты М14
— Отсоедините поперечную рулевую тягу, расшплинтовав и отвернув гайку левого шарового пальца
— Отверните гайки шпилек крепления картера редуктора к картеру моста Камаз-4310, 55111, 43118
— Закатите тележку под автомобиль (с левой стороны).
 Выньте главную передачу из картера моста, опустите ее на тележку и выкатите из-под автомобиля.
Установка редуктора переднего моста Камаз-4310, 55111, 43118
— Смажьте прокладку уплотняющей пастой с обеих сторон. Установите прокладку и главную передачу на картер переднего моста, наденьте на шпильки пружинные шайбы, наверните н затяните гайки М14 с моментом 137—157 Нм (14—16 кг/см).
— Установите полуоси переднего моста Камаз-4310, 55111, 43118 с внутренними кулаками
— Установите цапфу, суппорт, наружный кулак, диск шарнира и закрепите к корпусу поворотного кулака
— Установите тормозные колодки на оси и пружины тормозных колодок
— Подсоедините шланги системы регулирования давления воздуха в шинах. Скручивание шлангов не допускается
— Выверните пробку и заполните полость поворотного кулака смазкой
— Отрегулируйте. подшипники ступиц колес
— Установите и закрепите ведущий фланец полуоси Камаз-4310, 55111, 43118
— Установите поперечную рулевую тягу, вставив палец в отверстие левого поворотного рычага, наверните гайку с моментом 245—314 Нм (25—32 кг/см) и зашплинтуйте ее
— Соедините карданный вал привода переднего моста с фланцем ведущего вала главной передачи.
 Момент затяжки гаек болтов 78—88 Нм (8—9 кг/см)
— Установите колеса переднего моста, наверните гайки.
— Поднимите переднюю часть автомобиля, уберите подставку и опустите автомобиль на колеса.
— Затяните гайки колес с моментом 392—490 Нм (40—50 кг/см)
— Смажьте уплотняющей пастой прокладку с обеих сторон, положите ее на корпус крана запора воздуха. Установите корпус крана на фланец полуоси и закрепите четырьмя болтами
— Установите и закрепите защитный кожух шланга подкачки шин
— Откройте краны централизованной системы регулирования давления в шинах всех колес
— Выверните заливную и контрольную пробки, залейте масло, вверните пробки.
Снятие редуктора заднего / промежуточного моста Камаз-4310, 55111, 43118
— Выверните пробку сливного отверстия и слейте масло из картера моста. Очистите магнитную пробку от металлических частей и вверните ее
— Закройте краны централизованной системы регулирования давления в шинах всех колес.
— Отверните гайки М12 и выверните болт М8 крепления защитного кожуха гибкого шланга подвода воздуха, снимите пружинные шайбы и защитный кожух
— Выверните болты М8 крепления корпуса крана, снимите кран и отведите его в сторону
— Отверните гайки крепления полуоси, снимите пружинные шайбы и разжимные втулки
— С помощью технологических болтов выпрессуйте и выньте полуоси, снимите прокладки полуосей
— Снимите два щита пола платформы, находящиеся над главной передачей, отвернув гайки М8 крепления прижимов
— Отверните гайки М8 крепления усилителя пола платформы и снимите его
— Отверните гайки М10 болтов крепления фланца карданного вала привода промежуточного моста Камаз-4310, 55111, 43118 к фланцу главной передачи промежуточного моста, выньте болты и отведите карданный вал в сторону
— Отверните гайки М14 болтов крепления фланца карданного вала привода заднего моста к фланцу заднего (промежуточного) моста, выньте болты и отведите карданный вал в сторону)
— Отверните гайки М20 крепления рычага верхней реактивной штанги, снимите пружинные шайбы и разжимные втулки и отведите штангу вверх
— Отверните гайки М16 шпилек крепления главной передачи, снимите пружинные шайбы, разжимные втулки, тройник развода воздуха для подкачки шин заднего (промежуточного) моста
— Зачальте главную передачу Камаз-4310, 55111, 43118 за монтажную петлю и концы главной передачи, снимите и установите ее на подставку.
Установка главной передачи редуктора заднего (промежуточного) моста Камаз-4310, 55111, 43118
— Смажьте прокладку уплотняющей пастой с обеих сторон и установите ее на мост. Зачальте главную передачу чалочным приспособлением и установите его на задний (промежуточный) мост. Снимите чалочное приспособление и выкатите кран.
— Наденьте на шпильки разжимные втулки, угольник развода воздуха подкачки шин заднего (промежуточного) моста Камаз-4310, 55111, 43118, пружинные шайбы, наверните гайки М16 и затяните их с моментом 157—176 Нм (16—18 кг/см)
— Поднимите карданный вал привода заднего моста и присоедините его к фланцу главной передачи заднего (промежуточного) моста, вставьте в отверстия болты Ml4, наденьте пружинные шайбы, наверните гайки и затяните их с моментом 78—88Нм (8—9 кг/см)
— Поднимите карданный вал привода промежуточного моста и присоедините его к фланцу главной передачи промежуточного моста. Момент затяжки 59—69 Нм (6—7 кг/см)
— Наденьте рычаг верхней реактивной штанги на шпильки, поставьте разжимные втулки, пружинные шайбы, наверните гайки и затяните их с моментом 353—392 Нм (36—40 кг/см)
— Нанесите слой уплотняющей пасты на прокладку полуоси с обеих сторон, наденьте ее на шпильки крепления полуоси.
 Вставьте полуось в картер заднего (промежуточного) моста Камаз-4310, 55111, 43118, поставьте на шпильки разжимные втулки и пружинные шайбы, наверните гайки Ml2 и затяните их с моментом 64—78 Нм (6,5—8 кг/см)
— Установите и закрепите корпус крана запора воздуха к фланцу полуоси, предварительно смазав прокладку уплотняющей пастой
— Откройте краны запора воздуха централизованной системы регулирования давления в шинах всех колес
— Установите защитный кожух гибкого шланга и закрепите его
— Выверните заливную и контрольную пробки заднего (промежуточного) моста, залейте масло в картер моста до уровня, заверните контрольную и заливную пробки
— Установите усилитель пола платформы и закрепите его
— Установите щиты пола платформы и закрепите их
Шаровая опора и ступицы мостов Камаз-4310, 55111, 43118
Снятие шаровой опоры Камаз-4310, 55111, 43118 (сальников, внутреннего и наружного кулаков)
— Снимите колесо, ступицу с тормозным барабаном Камаз-4310, 55111, 43118 в сборе
— Снимите тормозные камеры
— Снимите тормозные колодки, суппорт и разжимной кулак
— Снимите цапфу
— Выньте из цапфы наружный кулак 30 (см.
 рис.1) с вкладышем
— Выньте из шаровой опоры внутренний кулак 13 с вкладышем 15 и диском 16
— Отверните гайки шпилек крепления нижней накладки 18 корпуса 7 поворотного кулака. Снимите пружинные шайбы, накладку 18, регулировочные прокладки, наружное кольцо подшипника
— Выверните болты крепления крышки сальника 17 к корпусу 7 поворотного кулака
— Выпрессуйте съемником роликоподшипник 19, как показано на рис. 48.
— Установите под поворотный кулак Камаз-4310, 55111, 43118 подставку
— Отверните гайки шпилек крепления рычага 9 (рис.1) поворотного кулака (верхней накладки правого поворотного кулака). Снимите пружинные шайбы, разжимные втулки, рычаг 9 (верхнюю накладку), регулировочные прокладки, наружное кольцо роликоподшипника 19
— Выпрессуйте роликоподшипник
— Отсоедините корпус 7 от шаровой опоры, поверните его и установите на подставку. Снимите сальник 17.
— Отверните гайки и выверните болт крепления шаровой опоры к картеру моста
— Выпрессуйте шаровую опору, ввернув технологические болты.
— Выньте сальник шаровой опоры 12
Рис.1. Мост передний Камаз-4310, 55111, 43118
1 — колодка переднего тормозного механизма; 2 — ролик колодки; 3 — кулак разжимной левый- 4 — штуцер ввертный; 5-штуцер переходной; 5-головка подвода воздуха; 7— корпус поворотного кулака; 8-масленка; 9-рычаг поворотного кулака; 10 —передача главная переднего моста; 11 — рычаг регулировочный; 12 — опора шаровая поворотного кулака; 13 — кулак шарнира внутренний левый; 14-пробка; 15-вкладыш кулака шарнира; 16 — диск шарнира; 17 — сальник; 18-накладка кулака нижняя; 19, 24, 34 — подшипники; 20 — манжета; 21 — щиток тормозного механизма; 22 — суппорт переднего тормозного механизма; 23 — ось тормозных колодок; 25 — цапфа поворотного кулака левая; 26 — ступица с тормозным барабаном; 27, 32 — шайбы замковые; 28 — фланец ведущий; 29-кран запора воздуха; 30 — кулак шарнира наружный; 31 — контргайка подшипников; 33 —гайка подшипников
Установка шаровой опоры Камаз-4310, 55111, 43118 (сальников, внутреннего и наружного кулаков)
— Установите шаровую опору 12 в корпус 7 поворотного кулака.
 Напрессуйте подшипники 19 на шкворни поворотного кулака
— Установите наружные кольца подшипников, прокладки, накладки 18 нижнюю и верхнюю (рычага 9). Заверните гайки шпилек крепления накладок (рычага).
— Запрессуйте в гнездо шаровой опоры сальник.
— Наденьте сальник 17 на поворотный кулак, вверните болты крепления крышки сальника 17. Заложите в кромки манжеты сальника смазку.
— Проверьте момент проворачивания поворотного кулака Камаз-4310, 55111, 43118. Момент проворачивания должен быть 4,9—7,7 Нм (0,5—0,3 кг/см). Регулируйте подбором регулировочных прокладок 5.
Разница в толщине пакетов регулировочных прокладок должна быть не более 0,05 мм.
— Установите поворотный кулак с шаровой опорой в сборе в гнездо картера моста. Заверните гайки и вверните болт крепления шаровой опоры.
— Вставьте внутренний кулак 13 в сборе с вкладышем 15 во втулку шаровой опоры, поворачивая кулак и совмещая шлицы кулака со шлицами полуосевого зубчатого колеса-дифференциала Камаз-4310, 55111, 43118
— Выдвиньте внутренний кулак 13 из шаровой опоры и, поддерживая диск 16, направьте поворотную цапфу в сборе с наружным кулаком так, чтобы диск вошел в пазы вкладышей
— Наденьте цапфу на шпильки, вверните болты крепления цапфы.
— Наденьте на цапфу суппорт сальник наружный. Заверните гайки крепления суппорта, сальника к корпусу 7 поворотного кулака
— Установите разжимной кулак и тормозные колодки
— Установите тормозные камеры
— Установите ступицу с тормозным барабаном в сборе
— Отрегулируйте тормозные механизмы
— Установите ведущий фланец, колесо, кран запора воздуха
— Заправьте полость шаровой опоры смазкой
Снятие ступицы с тормозным барабаном, подшипников и манжеты ступицы Камаз-4310, 55111, 43118
— Ослабьте гайки крепления колеса на ступице, вывесите колесо, установите под картер моста подставку
— Отверните гайки, снимите защитный кожух и кран 29 (см. рис.1) запора воздуха
— Отверните гайки и снимите колесо.
— Поднимите кабину в первое положение и застопорите.
— Растормозите колесный механизм Камаз-4310, 55111, 43118, отвернув винт механического растормаживания энергоаккумулятора.
— Отверните гайки шпилек крепления ведущего фланца 28 переднего моста, снимите пружинные шайбы и разжимные втулки
— Вверните технологические болты и снимите фланец 28 ведущий переднего моста, выверните технологические болты и снимите прокладку ведущего фланца.
 Удалите смазку из гнезда ступицы под наружный подшипник
— Разогните замковую шайбу 32 контргайки, отверните контргайку 31 подшипника ступицы, снимите замковые шайбы 27, 32, отверните гайку 33
— Съемником снимите с цапфы ступицу 26 (см. рис.1) с тормозным барабаном, подшипниками 24, 34 и манжетой 20 в сборе.
— Выньте из ступицы Камаз-4310, 55111, 43118 внутреннее кольцо наружного подшипника 34
— Выньте манжету 20, внутреннее кольцо внутреннего подшипника 24
Установка ступицы с тормозным барабаном, подшипников и манжеты ступицы Камаз-4310, 55111, 43118
— Протрите и смажьте наружные кольца внутреннего и наружного подшипников.
— Установите внутреннее кольцо внутреннего подшипника 24
— Смажьте рабочую кромку манжеты 20
— Запрессуйте манжету 20 в ступицу.
— Установите ступицу в сборе с тормозным барабаном, внутренним подшипником и манжетой на цапфу 25 поворотного кулака Камаз-4310, 55111, 43118.
— Установите на цапфу внутреннее кольцо наружного подшипника ступицы
— Заверните до отказа гайку 33 подшипников ступицы и отпустите ее на 1/8 оборота.
 При затяжке гайки поворачивайте ступицу Камаз-4310, 55111, 43118 в обоих направлениях, чтобы ролики подшипников заняли правильное положение
— Установите замковую шайбу 27 так, чтобы штифт гайки совпал с одним из отверстий шайбы. Если отверстия не совпадут, то отверните гайку до совпадения ближайшего отверстия со штифтом
— Установите замковую шайбу 32, заверните контргайку 31 с моментом 137,2—156,8 Нм (14—16 кг/см). Отогните замковую шайбу
— Установите до упора ведущий фланец 28 переднего моста, проверив наличие и исправность уплотнительной прокладки, предварительно смазанной уплотнительной пастой
— Установите на шпильки крепления ведущего фланца, разжимные втулки, пружинные шайбы и заверните гайки
— Вверните винт механического растормаживания энергоаккумулятора.
— Наденьте на шпильки ступицы колесо, наверните гайки.
— Установите и закрепите кран 29 запора воздуха и защитный кожух
— Уберите подставку и опустите мост. Затяните гайки крепления колеса с моментом 392—490 Нм (40—50 кг/см)
_______________________________________________________________________________________
_______________________________________________________________________________________
_______________________________________________________________________________________
_______________________________________________________________________________________
_______________________________________________________________________________________
_______________________________________________________________________________________
_______________________________________________________________________________________
_______________________________________________________________________________________
_______________________________________________________________________________________
specautotex.
 ru
Как собрать энергоаккумулятор КАМАЗ
Сборка аккумулятора выполняется в следующем порядке:
- Надевается на винт уплотнительная шайба.
 - Винт заворачивается до упора в цилиндр, надевается кольцо из резины.
 - Устанавливается пружина в цилиндр так, чтобы малый виток был снаружи.
 - Надеваются направляющее кольцо и уплотнитель на поршень.
 - Устанавливается на пружину поршень таким образом, чтобы её торец упирался в бобышку.
 - Надевается фланец на поршневую трубу, перед этим в него вставляются направляющее и уплотнительное кольца, а также надевается уплотнительное кольцо.
 - Устанавливается в приспособление собранный узел таким образом, чтобы упор охватывал винтовую головку.
 - Осторожно вращают рукоятку, сжимая пружину, пока фланец не соприкоснётся с цилиндром, следя за тем, чтобы направляющее кольцо правильно входило в цилиндр.
 - Соединяют цилиндр и фланец с помощью болтов.
 - Снимается подсобранный энергоаккумулятор, на винт устанавливается опорная шайба.

 - Упор и игольчатый подшипник утопляют за пределы кольца из резины, устанавливая стопорное кольцо таким образом, чтобы оно как можно более надёжно вошло внутрь винтовой канавки. В случае наличия сжатого воздуха возможна его подача внутрь пружинного энергоаккумулятора. Хвостовик винта в таком случае будет более близок к краю поршневой трубы, благодаря чему будет облегчена установка упорного подшипника.
 - Винт с осторожностью вывинчивают, проверяя надёжность удерживания поршня с помощью стопорного кольца. Это действие повторяется несколько раз.
 - Надевается уплотнительное кольцо на толкатель, который заворачивается в поршневую трубу.
 - Корпус пневмокамеры хомутом соединяют с фланцем.
 
Ремонт переднего моста КАМАЗ 4310 схема
Разбираем мост камаз 4310
Ремонт узла поворотного кулака (вилки) переднего моста а/м Камаз 6522. Мост MADARA. Часть III
ремонт переднего моста ч 2
Устройство и ТО автомобиля КамАЗ 4310
Урал 4320 часть 20 .
 Ремонт, разборка поворотного кулака снятие полуосей.
Ремонт переднего моста .
Сборка поворотного кулака КамАЗ
Кулак поворотный КамАЗ
установка балансира камаз
Установка тормозных колодок камаз
Также смотрите:
- КАМАЗ модульная конструкция
 - Синхронизаторы КПП КАМАЗ описание
 - КАМАЗ контейнер модель
 - Почему на КАМАЗе руль тянет в право
 - Кондиционер на КАМАЗе своими руками видео
 - Прицеп платформа КАМАЗ
 - Диск сцепления КАМАЗ каталожный номер
 - Какое давление в шинах КАМАЗ 4310
 - Сцыпление на КАМАЗ
 - КАМАЗ ппу производитель
 - KAMAZ новые модели
 - Мальчик и КАМАЗ шаблон
 - Ассенизационная машина КАМАЗ ко 505
 - Элекон КАМАЗ 4326
 - Диаметр топливопровода КАМАЗ
 
 Главная » Новое » Ремонт переднего моста КАМАЗ 4310 схема
kamaz136.ru
Главная передача КАМАЗ среднего и заднего моста
Главная передача КАМАЗ является частью трансмиссии, устанавливается на каждом из ведущих мостов, предназначается для усиления вращающего момента и его перенаправления от карданного вала к колесам.
 На грузовики и тягачи КАМАЗ ставится двойная передача. Её особенностью в том, что она состоит из 2 пар шестерен – цилиндрической и конической.
Передаточные числа главной передачи КАМАЗ могут быть четырех видов: 7.22 подходит для тягачей и составов автопоездов, 5.43 используется для одиночных грузовиков, 6.53 и 5.94 обладают универсальным свойством и подходят в обоих случаях. Формально это число означает соотношение числа зубьев колеса к числу зубьев шестерни. Соответственно, чем это значение больше, тем мощнее тяговое усилие колес грузовика.
В зависимости от условий эксплуатации подбирается соответствующая конструкция цилиндрического колеса:• Главная передача КАМАЗ бывает на 50 зубьев, она используется в гористой местности, для повышенной тяги;• Главная передача КАМАЗ бывает на 48, 49 зубьев, она достаточно универсальна в применении, подходит для пересеченной местности с препятствиями;• Главная передача КАМАЗ бывает на 46, 47 зубьев, используется на равнинных территориях и считается скоростной;• Главная передача на 31 и 35 зубьев применяется на тяжеловесах КАМАЗ 6520 и 6522 для транспортировки сыпучих грузов массой более 20 тонн.
Устройство мостов главной передачи
В автомобилях Камского автозавода устанавливаются различные виды мостов, различающихся по своей конструкции. На полноприводных грузовиках 6×6 ставится три независимых ведущих моста. Схему переднего моста на таких машинах отличает устройство главной передачи, поворотного механизма и картера.
Нужна главная передача КАМАЗ?
На неполноприводных автомобилях 6×4 отличия сводятся к типу крепления колес (ступичный, дисковый), наличию межколесной блокировки, тормозным механизмом. Они имеют 2 ведущих моста – средний (промежуточный) и задний. Их строение почти идентично, основное различие состоит в том, что главная передача среднего моста КАМАЗ снабжена блокируемым межосевым дифференциалом. Соответственно, главная передача заднего моста КАМАЗ такого дифференциала не имеет. Благодаря этому удается обеспечить вращение ведущих валов среднего и заднего моста с различной частотностью, минимизировать проскальзывание и пробуксовку колес. Точно так же межколесный дифференциал раздает вращающий момент левому и правому колесу в необходимой пропорции, так чтобы предотвратить скольжение на резких поворотах и дорогах с неровным покрытием.
Картер является сварным устройством, к нему прикрепляются фланцы для присоединения опорных рессор, тормозных механизмов и кронштейнов штанг. Внутрь картера монтируются шестерни. Регулировка главной передачи КАМАЗ производится на специальном оборудовании. Как правило, регулируется степень затяжки подшипников и их сцепление на конических шестернях. При проведении сервисных и ремонтных работ главная передача снимается, а на подшипники подбираются регулировочные шайбы подходящего размера.
Главная передача Камского автомобильного завода является надежной деталью. Однако при превышении уровня нагрузки и ошибке в эксплуатации возможен ряд неисправностей. Основные неполадки, которые подвергается главная передача КАМАЗ – это высокий уровень шума ведущего моста, продолжительное постукивание главной передачи, повреждения сальников и течь смазки.
Применяемость главной передачи на автомобили КАМАЗ
Если главная передача автомобиля КАМАЗ не подлежит восстановлению и ремонту, необходимо приобрести новое устройство.
 Стоит сразу оговориться, что они не производятся под конкретные модели автомобилей, а делятся на несколько типов в зависимости от своей применяемости:• главная передача старого образца устанавливается на автомобили КАМАЗ 5320, 5511, 5410;• главной передачей евро-образца укомплектовываются новые машины КАМАЗ 55111, 65115, 53205, 53215;• главная передача евро-образца с дополнительной блокировкой предназначена для вездеходов повышенной проходимости КАМАЗ 43114, 43118 и других.
Если вы сомневаетесь в своем выборе, лучше получить консультацию мастера или сотрудника специализированного магазина. Наши специалисты будут рады оказать помощь с подбором редуктора.
Предлагаем купить главную передачу КАМАЗ от производителя
Наша компания занимается продажей комплектующих и деталей для грузовых автомобилей КАМАЗ. Нашим клиентам мы предлагаем купить главную передачу КАМАЗ оригинального качества от производителя (г. Набережные Челны). Прямое сотрудничество с заводом исключает возможность приобретения подделки и изделий низкого качества, а значит позволяет обеспечить надежную и бережную эксплуатацию вашего транспортного средства.
 Цена на главную передачу КАМАЗ в нашем магазине является конкурентоспособной и выгодной. Для торговых компаний и оптовых покупателей действуют особые условия покупки. Все детали всегда имеются в наличии, а отлаженная служба доставки готова привезти товар в любой населенный пункт России. В ряде случаев доставка предоставляется бесплатно. На все детали действует гарантия производителя.
dvigatelkama.ru
Бошевская аппаратура КАМАЗ | КАМАЗ
Как разобрать ТНВД КАМАЗ BOSCH
ТНВД Bosch Камаз Евро 2
замена ТНВД БОШ на ТНВД КАМАЗ ! ВСЕ КАМАЗЫ одинаково разные ! сборка мотора каменс
Тнвд Bosch Камаз Евро 2 325 л.с. — 0402736931, ( 0 402 736 931 ), 3974514
ремонт ТНВД BOSCH
Общее видео (ремонт топливной)
ТНВД Камаз Евро 2 вместо Евро3
привод тнвд КамАЗ Часть 2.
как увеличить мощьность машины
Неисправности топливной аппаратуры КАМАЗ 43118, ослаб болт крепления муфты топливной аппаратуры.
Также смотрите:
- Гофра для выхлопной системы КАМАЗ
 - Экспериментальные КАМАЗы видео
 - КАМАЗ вахта 2013
 - КАМАЗы завод элекон
 - Соединение генератора КАМАЗ
 - Насос на раму КАМАЗ
 - Бел 310 на КАМАЗ
 - Ошибки котла подогрева КАМАЗ
 - Видеоролики на КАМАЗах
 - Электронасос для предпускового подогревателя КАМАЗ
 - Статус про КАМАЗы
 - КАМАЗ 53229 средний мост схема
 - Замена сиденья КАМАЗ
 - Балансир КАМАЗ 65117 устройство
 - Подушки для двигателя КАМАЗ
 
 Главная » Хиты » Бошевская аппаратура КАМАЗ
kamaz136.
 ru
Работа двойных главных передач КамАЗ-5320 диплом по транспорту
СОДЕРЖАНИЕ ВВЕДЕНИЕ 2 1. Назначение двойной главной передачи 3 2. Устройство и работа двойных главных передач КамАЗ-5320 5 2.1. Устройства и работа двойной главной передачи среднего ведущего моста автомобиля КамАЗ-5320 5 2.2. Устройства и работа двойной главной передачи заднего ведущего моста автомобиля КамАЗ-5320 7 2.3. Устройства и работа двойных главных передач ведущих мостов автомобиля КамАЗ-5320 9 3. Основные регулировки главной передачи 11 ЗАКЛЮЧЕНИЕ 15 СПИСОК ИСПОЛЬЗОВАННОЙ ЛИТЕРАТУРЫ 16 ВВЕДЕНИЕ Трансмиссия, или силовая передача автомобиля, служит для — передачи крутящего момента от коленчатого вала двигателя к ведущим колесам. В наиболее распространенную в настоящее время ступенчатую механическую трансмиссию входят сцепление, коробка передач, карданная и главная передачи, дифференциал и полуоси. Крутящий момент в такой трансмиссии изменяется ступенчато; трансмиссия не обеспечивает простоты управления автомобилем и полного использования мощности двигателя.
 Поэтому были предложены электрические, фрикционные и гидравлические (гидрообъемные и гидродинамические) бесступенчатые передачи (трансмиссии), в которых крутящий момент изменяется плавно, без участия водителя, в зависимости от сопротивления дороги и скорости вращения коленчатого вала двигателя. Двойные главные передачи могут быть одноступенчатыми и двухступенчатыми, т.е. с двумя переключаемыми передачами с разными передаточными числами. Общее передаточное число двухступенчатых главных передач определяется произведением передаточных чисел конических и цилиндрических пар. На автомобилях КамАЗ главная передача двухступенчатая с проходным валом. Основными ее частями является картер редуктора, пара спиральных конических зубчатых колес и пара косозубых цилиндрических зубчатых колес. Главная передача устанавливается на картер моста через уплотнительную паронитовую прокладку толщиной 0,8 мм и крепится с помощью одиннадцати болтов и двух шпилек. Одиннадцать болтов и шпильки установлены снаружи, а два болта — на полости комических шестерен.
 Доступ к внутренним болтам возможен только после снятия боковой крышки. Под наружные болты и гайки шпилек установлены пружинные шайбы. Внутренние болты зашплинтованы проволокой. 1. Назначение двойной главной передачи 2. Устройство и работа двойных главных передач КамАЗ-5320 2.1. Устройства и работа двойной главной передачи среднего ведущего моста автомобиля КамАЗ-5320 Двойная главная передача среднего ведущего моста автомобиля КамАЗ-5320 (рис.2) выполнена с проходным валом для привода главной передачи заднего моста. Ведущая коническая шестерня 20 установлена в горловине картера главной передачи на двух роликовых конических подшипниках 24, 2в, между внутренними обоймами которых имеются распорная втулка и регулировочные шайбы 25. Шлифованный конец ступицы этой шестерни соединен с конической шестерней межосевого дифференциала, а внутри ступицы проходит вал 21 привода, одним концом соединенный с конической шестерней межосевого дифференциала, а другим при помощи карданной передачи с ведущим валом главной передачи заднего моста.
 Промежуточный вал опирается одним концом на два конических роликовых подшипника 7, между внутренними обоймами которых имеются регулировочные шайбы 4, а другим на роликовый подшипник, установленный в расточке перегородки картера главной передачи. Конические роликовые подшипники 7 фиксируют промежуточный вал от смещения в осевом направлении. Заодно с промежуточным валом выполнена ведущая цилиндрическая шестерня 3 с косыми зубьями. Ведомая коническая шестерня 1 напрессована на конец промежуточного ведомую цилиндрическую шестерню 16. Крутящий момент от корпуса межколесного дифференциала, к которому прикреплена ведомая цилиндрическая шестерня 16 главной передачи, передается на крестовину 15, а от нее через сателлиты на шестерни полуосей. Сателлиты, действуя с одинаковой силой на правую и левую шестерни полуосей, создают на них равные крутящие моменты. При этом благодаря незначительному внутреннему трению равенство моментов практически сохраняется как при неподвижных сателлитах, так и при их вращении.
 Поворачиваясь на шипах крестовины, сателлиты обеспечивают возможность вращения правой и левой полуосей, а следовательно, и колес с разными частотами. 2.2. Устройства и работа двойной главной передачи заднего ведущего моста автомобиля КамАЗ-5320 Общее устройство главной передачи заднего ведущего моста (рис.3) аналогично рассмотренному выше. Отличия объясняются главным образом тем, что задний ведущий мост не проходной и получает крутящий момент от межосевого дифференциала, установленного на среднем ведущем мосту. В главной передаче заднего моста ведущая коническая шестерня 21 отличается от аналогичной шестерни среднего моста тем, что ее ступица короче и имеет внутренние шлицы для соединения с ведущим валом 22 главной передачи заднего моста. Опорные конические роликовые подшипники 18 и 20 взаимозаменяемы с соответствующими подшипниками среднего ведущего моста. Ведущий вал главной передачи заднего моста задним концом опирается на один роликовый подшипник, установленный в расточке картера. Для циркуляции смазки около подшипника в горловине картера имеется канал.
 С торца подшипник закрыт крышкой. Остальные детали главной передачи среднего и заднего ведущих мостов аналогичны по устройству.
Межосевой дифференциал | Устройство автомобиля
Какое назначение межосевого дифференциала, на каких автомобилях он устанавливается?
Межосевой дифференциал устанавливается на автомобилях с двумя задними ведущими мостами (КамАЗ-5320, ЗИЛ-130ГЯ) и служит для равномерного распределения крутящего момента между двумя ведущими мостами. В межосевом дифференциале предусмотрен механизм блокировки, которым можно блокировать оба моста, что значительно снижает буксование ведущих колес на скользящих участках дорог, повышая проходимость автомобиля.
Как устроен межосевой дифференциал?
Межосевой дифференциал автомобиля КамАЗ-5320 (рис.134) состоит из картера 1, прикрепленного к стакану подшипников вала ведущей шестерни 16 среднего ведущего моста. Внутри картера установлены чашки 2 и 6 дифференциала.
 Между чашками смонтирована крестовина 5, а на шипах ее – свободно конические шестерни-сателлиты 4, находящиеся в постоянном зацеплении с полуосевыми шестернями 3 и 7. Шестерня 3 своими внутренними шлицами установлена на валу 17 и передает через него крутящий момент на ведущую шестерню главной передачи заднего моста. Сама же она может свободно вращаться в чашке 2 дифференциала, а также вместе с ним. Полуосевая шестерня 7 шлицами соединена с шестерней 16 главной передачи среднего моста. На ее хвостовике имеется зубчатый венец 11 для блокировки дифференциала. На венец одета муфта 9 блокировки, которая через вилку 10 соединена с пневмоприводом механизма блокировки. На чашке 6 также выполнен зубчатый венец 8 для блокировки дифференциала. Шестерня 7 может свободно вращаться в чашке 6 дифференциала, а также вместе с ним.
Рис.134. Межосевой дифференциал автомобиля КамАЗ-5320.
Как работает межосевой дифференциал?
Работает межосевой дифференциал так.
 При движении автомобиля по сухой дороге с несблокированным дифференциалом крутящий момент передается на чашки 1 и 6 и от них на крестовину 5, сателлиты 4 и полуосевые шестерни 3 и 7. Шестерня 3 через вал 17 передает крутящий момент на ведущую шестерню главной передачи заднего моста (на рисунке не показано), а шестерня 7 – на ведущую шестерню 16 главной передачи среднего моста. Следовательно, крутящий момент передается к обоим мостам и автомобиль движется.
Во время движения по мокрой и скользкой дороге необходимо исключить проскальзывание колес ведущих мостов. Для этого включают блокировку дифференциала, повернув рукоятку в кабине автомобиля. При этом воздух из пневматических баллонов тормозного привода по трубопроводу 15 подводится в камеру 14 механизма блокировки, где, воздействуя на диафрагму, выгибает ее и перемещает шток 12, а он через вилку 10 – муфту. Она внутренними зубьями находит на зубчатый венец 8 чашки 6 дифференциала, соединяя ее и шестерню 16 как одно целое, что позволяет вращаться ведущим шестерням главных передач среднего и заднего мостов с одинаковой частотой, что и нужно было получить.
 В этом случае колеса одного из мостов находятся в более благоприятных условиях, они и движут автомобиль. После преодоления автомобилем трудного участка дифференциал необходимо разблокировать. Для этого достаточно рукоятку в кабине установить в исходное положение, воздух из камеры выходит в атмосферу под давлением пружины 13, воздействующей на диафрагму, и вилка выводит муфту из зацепления с зубчатым венцом 8.
***
Проверьте свои знания и ответьте на контрольные вопросы по теме «Карданная передача. Ведущий мост»
автомобиль, вести, дифференциал, межосевой, мост, шестерня
Смотрите также:
КамАЗ-53212: описание и технические характеристики
 КамАЗ, пожалуй, самый известный завод крупнотоннажных грузовиков в России. Одна из первых моделей — КамАЗ-5320. Этот грузовик самый массовый. Даже сейчас его можно встретить на дорогах России. Но существовала еще масса модификаций, построенных на его базе. Одним из таких является КамАЗ-53212.
 Технические характеристики, фото и особенности этого автомобиля — далее в нашей статье.
Описание
Что это за машина? КамАЗ-53212 — бортовой большегрузный автомобиль с колесной формулой 6 х 4.Машина представляет собой удлиненную модификацию 5320 и создана на ее базе. Впервые этот грузовик сошел с конвейера в 1979 году. Что примечательно, серийный выпуск автомобиля не прекратился после распада СССР, а продолжался до 2002 года. Эта модель способна работать на предельно низких и высоких температур, применяемых в условиях повышенной влажности, а также на высоте до трех километров над уровнем моря. Ввиду этого на базе грузовика КамАЗ-53212 также создавался военный автомобиль, предназначенный для перевозки грузов и личного состава.
Внешний вид
 Как выглядит эта машина, читатель может увидеть на фото в нашей статье. При одном взгляде на экстерьер становится понятно, что грузовик имеет минимум отличий от базовой модели 5320. Если присмотреться, то можно заметить более длинную базу.
 В остальном две одинаковые машины. Обратите внимание, что модель 53212 универсальна. На него устанавливались не только бортовые кузова. Были и КамАЗы с цельнометаллическими фурами, были и бензовозы. Часто можно встретить зерновоз КамАЗ-53212.А некоторые перевозчики устанавливают сюда тентованные кузова от иностранных грузовиков (один из примеров можно увидеть на фото ниже).
В основном КамАЗ-53212 использовался с прицепом ГКБ, который имел такие же размеры. Настил грузовика и прицепа деревянный. Сцепка имеет откидные борта с возможностью установки каркаса для тента.
В середине 90-х грузовик претерпел незначительные изменения. Так, на Камском автомобильном заводе использовали новую кабину. У нее была «глухая» решетка радиатора.А головная оптика расположена в металлическом бампере. В кабине до сих пор используется двухсекционное лобовое стекло с центральной перегородкой. Также не изменилась форма дверей и крыши.
 Кабины первого образца были хорошо защищены от коррозии.
 Однако модели последних годов выпуска очень ржавые, говорят владельцы. Особенно подвержены коррозии решетка радиатора и нижняя часть кабины.
Размеры, клиренс
Общая длина тележки 8.53 метра. Ширина — 2,5, высота — 3,8 метра. Дорожный просвет – 28 сантиметров. Ширина колеи составляет 1,85 и 2,02 метра для задней и передней осей соответственно. Размер шин — 9.00R20. Высокий дорожный просвет – одно из главных преимуществ этого грузовика. Машину можно использовать на разных типах дорожного покрытия. Также автомобиль хорошо подходит для перевозки зерна.
Салон
 Дизайн кабины идентичен 5320, то есть не менялся с начала 1970-х годов. Салон рассчитан на трех человек, включая двух пассажиров.КамАЗ-53212 также комплектовался спальным мешком. Сиденье водителя подрессорено, регулируется по длине и наклону спинки. По сравнению с другими грузовиками кабина КамАЗа в те годы была одной из самых удобных и безопасных (даже оборудованных ремнями безопасности).
 Но по современным меркам салон можно назвать неудобным и неэргономичным.
Рулевое колесо двухспицевое, без регулировок. Передняя панель выполнена из металла. На щитке — пара стрелочных индикаторов и датчик давления воздуха в системе.Кстати, последним был детектор звука. Когда в системе оставалось мало воздуха, в кабине раздавался характерный звук.
Технические характеристики
 КАМАЗ-53212 все годы выпуска оснащался одним двигателем. Это дизельный атмосферный восьмицилиндровый агрегат КамАЗ-740.10. Это V-образный двигатель с механическим топливным насосом. При объеме 10 857 кубических сантиметров он развивал 210 лошадиных сил. Диаметр и ход поршней были одинаковыми и составляли 120 миллиметров.Мотор имеет 16-клапанную компоновку, то есть на каждый цилиндр приходилось по два клапана (по одному впускному и выпускному). На сегодняшний день многие агрегаты уже исчерпали свой ресурс. Поэтому неудивительно, что такие КамАЗы имеют большой расход масла. Что касается расхода топлива, то здесь стабильной цифры нет.
 Все зависит от правильной настройки ТНВД, а также от нагрузки на сам автомобиль и наличия прицепа. Так, расход может быть от 30 до 45 литров на 100 километров.Ресурс силового агрегата до капитального ремонта составляет 200 тысяч километров. Двигатель можно ремонтировать до четырех раз.
Система охлаждения на КамАЗе работала автоматически. Есть вискомуфта, которая при необходимости самостоятельно включает вентилятор охлаждения. СОД использует антифриз А-40. Система работает по закрытому типу и имеет несколько контуров с двумя термостатами. По поводу СОД владельцы не жалуются. Она работает без проблем. Машина не кипит и хорошо себя чувствует при низких температурах.
Трансмиссия
 На данный автомобиль устанавливалась пятиступенчатая механическая коробка передач с двухступенчатым делителем. Дистанционное управление с помощью механического привода. За переключение передач отвечал отдельный пневматический привод. Коробка, как и двигатель на КамАЗ-53212, не всегда в исправном состоянии.
 У сегодняшних экземпляров проблемы в КПП. Это износ синхронизаторов, промежуточных и других валов.
Карданная передача на КамАЗ включает 2 трубчатых вала. Шарниры на игольчатых подшипниках.Последние необходимо смазывать с запасом, чтобы продлить срок службы. Трансмиссия главных мостов также двойная. Однако шестерни различаются по типу зубьев. Средний мост оборудован блокировкой межосевого дифференциала.
Шасси
Передняя часть автомобиля оснащена зависимой подвеской. Это шкворневая балка с телескопическими амортизаторами и полуэллиптическими рессорами. Сзади имеется подвеска на балансирах.
Концы пружин выполнены по скользящему типу.Автомобиль был оснащен камерными 20-дюймовыми радиальными шинами со стандартным рисунком протектора. Колеса КАМАЗ не имеют колес и не отбалансированы. А в качестве стопора используются боковые и стопорные кольца.
Тормоза и рулевое управление
Тормозная система включает несколько механизмов:
-  Рабочие.

 - Вспомогательный.
 - Парковка.
 - Запасной.
 
На всех колесах установлены барабанные механизмы диаметром 420 миллиметров. Привод тормоза пневматический.При срабатывании стоянки включались пружинные энергоаккумуляторы. Они заблокировали колодки на средней и задней осях автомобиля. Вспомогательная тормозная система активируется с помощью специальной кнопки. Воздух нагнетается компрессором и хранится в ресиверах, предварительно очищенных от конденсата.
Рулевой механизм представляет собой рулевой механизм с усилителем. Конструкция очень надежна и редко выходит из строя. Рулевое колесо вращается без особых усилий. Но в силу возраста на этих КамАЗах приходится регулярно рулить.Машина постоянно «ищет дорогу».
Цена
На данный момент КамАЗ-53212 можно приобрести на вторичном рынке. Стоимость разная, так как каждая модель комплектуется разными кузовами, а иногда и дополнительным оборудованием (речь идет о кранах).
 Итак, самые простые версии с бортовым кузовом доступны по цене 200-350 тысяч рублей.
 КамАЗы с контейнерами или кузовами от иномарок стоят около 400-500 тысяч. А вот версии с манипуляторами можно купить за миллион рублей.
Наконец-то
Итак, мы выяснили, что такое КамАЗ-53212. Несмотря на прекращение производства, эта машина до сих пор пользуется спросом. В основном его покупают для перевозки зерновых культур, используя вместе с прицепом. Для этих целей машина идеальна. Грузовик имеет простое устройство и очень ремонтопригоден. Однако надежность остается под вопросом, так как средний возраст машины составляет около 30 лет.
Сколько весит Камаз? Сколько весит КАМАЗ? Какая колесная формула у КАМАЗ 5320?
КамАЗ 5320 — популярный трехосный бортовой седельный тягач с колесной формулой 6 на 4.Модель выпускалась Камским автомобильным заводом 25 лет и предназначалась для регулярной и интенсивной работы. Часто автомобиль использовался как автопоезд с прицепом.
 КамАЗ 5320 — дебютный продукт легендарной марки. Благодаря своей неприхотливости и надежности он быстро завоевал высокую популярность в стране, а затем и в мире.
 Модель экспортировалась в 42 страны.
Производство КамАЗ 5320 было завершено в 2001 году. Однако своей актуальности благодаря отличным техническим характеристикам автомобиль не утратил и сегодня.Подержанные грузовики этой модели активно используются различными организациями.
 История КамАЗ 5320 началась в 1968 году, когда приказом Минавтопрома СССР ЗИЛу было поручено создать линейку тяжелых 3-х осных грузовиков, работающих на дизельном топливе. Выпуск новых автомобилей должен был осуществляться на новом заводе. Конструкторы предприятия в короткие сроки приступили к разработке модели. В качестве образцов было закуплено несколько иностранных грузовиков капотного и бескапотного типа. Больше других отечественным конструкторам понравился автомобиль International 220 американского производства.Одной из причин выбора именно этой модели было то, что главный конструктор ЗИЛа ранее был знаком с продукцией этой марки. International 220 имел бескапотную компоновку, удобную кабину, гидроусилитель руля, мощный дизельный агрегат, 5-ступенчатую коробку передач с передним делителем и эффективную тормозную систему.
 Его качество не вызывало сомнений. В советской версии модель получила другую кабину с 4 фарами, более прямоугольные линии и изящную решетку радиатора.
В 1969 году советские специалисты представили дебютный прототип грузовика под названием ЗИЛ 170.Его тестировали на участке трассы между Угличем и Рыбинском.
Через год началось масштабное строительство завода по выпуску этой модели. Предприятие должно было объединить несколько производств. Параллельно шли испытания нового грузовика. Всего разработчики протестировали более 50 различных модификаций. Основные испытания, проведенные в 1970 году представителями Ярославского моторного завода, выявили множество недостатков. Последовала глобальная модернизация, после чего сборку модели передали на завод КамАЗ.
 В 1974 году предприятие собрало для автомобиля новый двигатель. Через год здесь было открыто производство первой модели марки – грузовика КамАЗ 5320. Дебютные автомобили были собраны в начале 1976 года.
 За год предприятие выпустило более 5000 автомобилей, которые быстро разъехались по стране.
Первый КамАЗ 5320 представлял собой большой бортовой тягач с 3-местной кабиной без спального места. Кабина при необходимости откидывалась вперед и имела хорошую теплоизоляцию. В качестве корпуса использовалась металлическая платформа с открывающимися бортами.Пол был деревянный. На некоторых модификациях устанавливался съемный тент на металлическом каркасе. Мощный двигатель в 210 лошадиных сил обеспечивал необходимый груз для перемещения большой массы тяги.
КамАЗ 5320 оказался одним из самых удачных автомобилей марки. Грузовик пользовался большим спросом и к 1979 году общий объем производства модели превысил 100 000 единиц. В 1981 году завод запустил производство полноприводных моделей. Впоследствии автомобиль неоднократно модернизировался, но изменения были незначительными.В 2001 году грузовик был окончательно остановлен.
 На базе КамАЗ 5320 было разработано множество автомобилей для перевозки грузов.
 Среди них:
- КамАЗ 551 — тягач;
 - КамАЗ 5325 — удлиненный тягач;
 - КамАЗ 53212 — среднетоннажный грузовик;
 - КамАЗ 5401 — седельный тягач.
 
КамАЗ 5320 имеет множество преимуществ, позволяющих использовать его в различных сферах. Высокая грузоподъемность автомобиля позволяет использовать эту технику для перевозки крупногабаритных грузов:
- в сельском хозяйстве;
 - в пригородных зонах для перевозки строительного мусора и отходов;
 - на строительных площадках;
 - в местах добычи полезных ископаемых;
 - в карьерах;
 - в частных компаниях.
 
Технические характеристики
КамАЗ 5320 имеет колесную формулу 6 на 4. Габариты автомобиля:
- длина — 8395 мм;
 - ширина — 2500 мм;
 - высота — 2830 мм;
 - колесная база (задняя тележка) — 1320 мм;
 - дорожный просвет – 345 мм;
 - передняя колея — 2010 мм;
 - задняя колея – 1850 мм;
 - погрузочная высота — 1370 мм;
 -  внешний габаритный радиус поворота — 9300 мм.

 
Автомобиль комплектовался бортовой платформой длиной 5200 мм и шириной 2320 мм (внутренние размеры).
Весовые характеристики модели:
- снаряженная масса — 7500 кг;
 - полная масса — 15205 кг;
 - грузоподъемность — 8000 кг;
 - максимальная масса прицепа — 8000 кг.
 
Динамические параметры:
- максимальная скорость — 85 км/ч;
 - тормозной путь при скорости 40 км/ч (в составе автопоезда) — 21 м; Угол подъема
 - — 30%.
 
КамАЗ 5320, будучи тяжелой техникой, потребляет много топлива.Средний расход около 35 л/100 км. При больших нагрузках показатель может значительно увеличиваться. Учитывая, что емкость топливного бака равняется 170 литрам, заправлять технику приходится довольно часто.
Двигатель
 КамАЗ 5320 комплектуется 4-тактными V-образными дизельными агрегатами (ЯМЗ и КамАЗ). На первых моделях применялись моторы с уникальными конструктивными решениями, включая полнопоточную систему фильтрации масла и азотированный коленчатый вал.
 Управление системой охлаждения осуществлялось автоматически с помощью 2-х термостатов и гидромуфты в приводе вентилятора.Сама система охлаждения была закрытого типа с постоянным использованием охлаждающей жидкости. В конструкцию дизеля также входили фильтр сухого типа для очистки воздуха и форсунки закрытого типа. Другие инновации включали поршневое кольцо с молибденовым покрытием, съемные металлокерамические направляющие клапана и глушитель с активной струей. Мотор также оснащался электрофакельным устройством, в некоторых модификациях устанавливался предпусковой подогреватель.
Характеристики двигателя:
- рабочий объем — 10,85 л; номинальная мощность
 - – 210 л.с.;
 - количество цилиндров — 8.
 
Тормозные и электрические цепи
 
Фото
 
 
 
Устройство
 КамАЗ 5320 построен на жесткой раме, которая клепаная и штампованная. Имеет 2 лонжерона U-образного сечения, соединенных поперечинами.
 В передней части имеется буфер, а концы лонжеронов оборудованы буксировочными крюками. В задней поперечине рамы имеется тягово-сцепное устройство с прочными резиновыми деталями, обеспечивающими качественную двухстороннюю амортизацию.
Передняя подвеска выполнена на полуэллиптических рессорах со скользящими задними концами, функционирующими совместно с гидравлическими телескопическими амортизаторами двойного действия. Задняя подвеска балансирного типа на полуэллиптических рессорах со скользящими задними и передними концами. Для самих рессор были выбраны листы с Т-образным сечением.
 КамАЗ 5320 оснащался несколькими тормозными системами: основной, вспомогательной, запасной и стояночной. Для всех колес использовались тормоза барабанного типа с 2-мя колодками.Пневматический двухконтурный привод главного тормоза имел раздельное воздействие на колеса заднего и переднего мостов. На стоянке техника удерживалась тормозами задних колес, работавшими от пружинных энергоаккумуляторов.
 Элементы вспомогательного тормоза установлены в приемных патрубках глушителя и функционируют на основе создания противодавления в процессе выпуска газов за счет демпферов, перекрывающих поперечное сечение прохода. В случае аварийного отказа основной тормозной системы водитель мог воспользоваться запасным стояночным тормозом…Главный тормоз управлялся с помощью педали, соединенной с 2-секционным тормозным краном тягами и рычагами. Рядом с местом водителя находился кран с рукояткой стояночного тормоза. Вместе с ним была запущена система резервного копирования. Вспомогательный тормоз приводился в действие с помощью кнопочного переключателя, установленного на полу под рулевой колонкой.
Тормозные характеристики повышены за счет бездисковых колес с радиальными шинами и универсальным протектором.
 Главной особенностью коробки передач грузовика было наличие делителя (мультипликатора) — дополнительной 2-ступенчатой коробки передач, устанавливаемой перед основной передачей.
 Первая передача делителя была прямой, вторая — повышающей. Коробка передач КамАЗ 5320 была 5-ступенчатой с синхронизацией на 2-й, 3-й, 4-й и 5-й передачах. Управление его осуществлялось дистанционно и имело механический привод. В делителе переключение осуществлялось с помощью пневматического привода. Также автомобиль оснащался карданной передачей. открытый тип. Средний мост имел блокируемый симметричный межосевой дифференциал.
Кабина КамАЗ 5320 получила 3-местную компоновку с одним местом водителя.Внутри не было спального места. По теплозащите и шумоизоляции автомобиль значительно превосходил своих конкурентов. Уровень безопасности пассажиров также был высоким. В кабине были установлены специальные удерживающие ремни. Сиденье водителя было подрессорено и отрегулировано под вес человека. У него также были настройки длины, высоты и наклона спинки. Даже рослым пассажирам было комфортно в нем.
 На приборной доске размещены все необходимые приборы и индикаторы, позволяющие водителю легко отслеживать информацию, связанную с работой грузовика.
 На панели установлена сигнализация. Ее отличала хорошая обзорность со всех точек и удобство управления. Особенностью внутренней организации стало наличие 2-стрелочного манометра, электронного тахометра и специального переключателя, позволяющего регулировать положение платформы. Рулевое управление имело гидроусилитель.
У машины были и недостатки:
- внешние элементы (арки, подкрылки, крылья) подвергались частым поломкам и требовали регулярной замены;
 - устаревшая подвеска не обеспечивала плавности хода; низкая маневренность
 - делала технику неудобной при использовании на небольших площадях;
 - оборудование кабины оставляло желать лучшего.
 
Цена
Производство автомобиля КамАЗ 5320 закончилось в 2001 году, поэтому купить новые модели в настоящее время не получится. Тем не менее, подержанные грузовики все еще находятся в эксплуатации. При этом их стоимость относительно невысока.
 Модели 1988-1990 годов будут стоить 280-320 тысяч рублей, 1994-1995 годов — 430-490 тысяч рублей, 1999-2000 годов — 650-710 тысяч рублей.
Аналоги
Аналоги КамАЗ 5320:
Статья опубликована 24.05.2016 05:40 Последний раз редактировалось 24.05.2016 02:49КамАЗ-5320 — советский и российский трёхосный бортовой седельный тягач с колёсной формулой 6×4, выпускаемый Камским автомобильным заводом (КамАЗ) с 1976 по 2001 год.Он стал первой моделью автомобиля под маркой КамАЗ. Разработан вкл. и для постоянной работы с автопоездом с прицепом. Кузов представляет собой металлическую платформу с открывающимися боковыми и задними стенками и тентом. Кабина трехместная, цельнометаллическая, с наклоном вперед, оборудована точками крепления ремней безопасности. Основной прицеп — ГКБ 8350 того же размера.
История создания
 Прототип будущего КамАЗ-5320 был разработан на ЗИЛе и получил название ЗИЛ-170. Первый ЗИЛ-170 был построен в 1968 году.Он был оснащен двигателем Ярославского моторного завода (ЯМЗ). В качестве образца для прототипа был выбран American International COF-220, среди закупленных за границей для испытаний и выявления требуемого класса капота и капотных аналогов.
 В версии ЗИЛ кабина приобрела несколько иные, более прямоугольные формы и элегантный передок с решеткой воздухозаборника с правой стороны, а также 4 фары головного света. Уже в мае 1969 года первый прототип автомобиля ЗИЛ-170 прошел первые испытания на участке Углич-Рыбинск.Но после принятия постановления ЦК КПСС и Совета Министров СССР «О строительстве в Набережных Челнах комплекса заводов по производству большегрузных автомобилей» дальнейшее развитие и последующая сборка ЗИЛа -170 было решено перевести на КамАЗ. Затем название автомобиля было изменено на КамАЗ-5320. Первый опытный КамАЗ-5320 сошел с конвейера в 1974 году.
Первые серийные КамАЗы сошли с конвейера 16 февраля 1976 года.По традиции тех лет грузовики из первой партии были украшены лозунгом «Наш подарок XXV съезду КПСС».
 На базе КамАЗ-5320 в семействе созданы седельный тягач КамАЗ-5410, самосвал КамАЗ-5511, удлинённый бортовой грузовик КамАЗ-53212, шасси КамАЗ-53213, а также семейство двухосных аналоги (удлиненный КамАЗ-5325 и базовый бортовой КамАЗ-4325, самосвал КамАЗ-43255, седельный тягач КамАЗ-4410).
 Производство первых двух моделей семейства 5320 началось в 1977 году, остальных позже.Все модели этого семейства имели схожую конструкцию и во многом были унифицированы.
Конструкция автомобиля КАМАЗ-5320
Общая компоновка КамАЗ-5320 типична для грузовых автомобилей того времени. Трехместная кабина автомобиля расположена над двигателем и с помощью торсионного механизма откидывается вперед, открывая доступ к двигателю. Двигатель, сцепление и коробка передач образуют единый силовой агрегат, который крепится на передней, задней и опорных стойках.
Силовые агрегаты и трансмиссия
 На КамАЗ-5320 устанавливались четырехтактные V-образные восьмицилиндровые дизели разработки Ярославского 10-го моторного завода.85 литров, мощностью 210 или 180 литров. с., при максимальном числе оборотов 2600 в минуту. На дизелях для первых КамАЗов были применены конструктивные решения, которые на тот момент были новинками для отечественного автомобилестроения или еще не были найдены.
 широкое применение, например, азотированный коленчатый вал или полнопоточная центрифужная система фильтрации масла. Автоматический контроль за исправностью системы охлаждения осуществляется гидромуфтой в приводе вентилятора и двумя термостатами.Система охлаждения закрытая и рассчитана на постоянное использование охлаждающей жидкости Antifreeze. Внедрена система очистки воздуха с фильтром сухого типа и автоматическим пылеудалением из фильтра с помощью эжектора, работающего на энергии выхлопных газов. Другие нововведения включают коллоидно-графитовое покрытие юбок поршней, съемные спеченные направляющие для клапанов, молибденовое покрытие нижнего поршневого кольца, активно-реактивный глушитель выхлопа. В силовых агрегатах КамАЗ-5320 используются двухдисковые сцепления.В гидравлическом приводе механизм управления сцеплением имеет пневматический усилитель, облегчающий использование педали. Особенностью трансмиссии трактора КамАЗ является делитель, или мультипликатор – дополнительная двухступенчатая коробка передач, устанавливаемая после сцепления перед основным редуктором.
 Одна передача делителя выполнена прямой, а другая — повышающей. Сама коробка передач пятиступенчатая, синхронизированная на второй, третьей, четвертой и пятой передачах. Коробка управляется дистанционно, с механическим приводом.В делителе передачи переключаются посредством пневматического привода. Карданная передача — открытого типа, состоит из двух трубчатых валов. Карданный шарнир на игольчатых подшипниках с постоянным запасом смазки. Главная передача ведущих мостов была выполнена двойной: пара конических шестерен со спиральными зубьями и пара косозубых косозубых. В средней оси установлен блокируемый симметричный межосевой дифференциал.
 Пружины передней подвески (полуэллиптические, со сдвижными задними концами) работают в связке с гидравлическими телескопическими амортизаторами двойного действия.Задняя подвеска — сбалансированного типа. Его рессоры также полуэллиптические, со скользящими передним и задним концами. Листовые рессоры имеют Т-образное сечение.
Автомобиль комплектовался бездисковыми колесами со съемными бортовыми и стопорными кольцами. Шины — радиального типа, 12-слойные, размером 260-508Р (9,00-20), обычно с универсальным рисунком протектора.
Тормоза КамАЗ-5320 оборудован несколькими тормозными системами: рабочей, стояночной, вспомогательной и запасной. Тормозные механизмы всех колес барабанные, с двумя колодками.Привод рабочего тормоза пневматический, двухконтурный, с раздельным действием на колеса переднего моста и колеса задней тележки. На стоянке автомобиль удерживается тормозами колес задней тележки, которые в этом случае приводятся в действие подпружиненными гидроаккумуляторами. Вспомогательные тормозные механизмы установлены в выхлопных патрубках глушителя. Их действие основано на создании противодавления в системе выпуска газов с помощью заслонок, перекрывающих проходные сечения. В случае аварийного отказа одной из основных систем автомобиль можно остановить запасным стояночным тормозом.
 Водитель управляет рабочими тормозами нажатием педали, соединенной рычагами и тягами с двухсекционным тормозным краном. Справа от места водителя находится кран с рукояткой стояночного тормоза. Запасная система активируется вместе с системой парковки, а вспомогательная система активируется с помощью кнопочного выключателя, расположенного на полу кабины под рулевой колонкой.
Рулевое управление включает гидроусилитель, интегрированный с рулевым механизмом.
Буксировочное устройствоВ задней части рамы имеется буксировочное устройство с двусторонней амортизацией.Предназначен для постоянной работы с прицепом полной массой до 11,5 тонн.
Технические характеристики КамАЗ-5320:
| Общая информация | |
| Производитель | КамАЗ | 
| Годы выпуска | 1976-2001 гг. | 
| Сборка | КамАЗ | 
| Класс | Тяжелый | 
| Дизайн | |
| Тип кузова | Кабина над двигателем | 
| Колесная формула | 6 × 4 | 
| Массогабаритные | |
| Длина | 7435 мм | 
| Ширина | 2500 мм | 
| Высота | 2630 (без навеса) | 
| Колесная база | 3190 + 1320 мм | 
| Вес | 7080 кг | 
| Динамический | |
  Макс.  скорость  | 90 км/ч | 
| В продаже | |
| Предшественник | ЗИЛ-170 | 
| Родственные | КамАЗ-5410 | 
| Прочее | |
| Грузоподъемность | 10 000–20 000 кг | 
| Расход топлива | 34 л | 
| Объем резервуара | 210 л | 
| Дизайнер | Лев Самохин, Александр Сетранов, Всеволод Вязьмин, Георгий Фест | 
Вам нужны услуги по перевозке негабаритных грузов? Не можете найти компанию, которой можно доверять? Советуем обращаться сюда —
 Мы не могли обойти вниманием легендарный советский тягач КамАЗ-5320, который помог перевезти миллиардные грузы и стал первым транспортным средством.Эта модель выпускалась в период с 1976 по 2001 год, однако задача создания нового семейства дизельных грузовиков была поставлена еще в 1968 году.
 Весной 1969 года мир увидел образец грузовика ЗИЛ-170, а в В 1972 году тот самый прототип с документацией был передан в Набережные Челны.
До 2001 года автомобиль выпускался с минимальными изменениями, а техническое оснащение практически не менялось. Стоит отметить, что производство КамАЗ-5320 было более чем масштабным и стало одной из последних ударных строек, способных поднять страну на новый уровень… Через три года после начала производства с конвейера сошел стотысячный большегруз. Весь модельный ряд КамАЗ.
Внешний вид
Итак, что такое КамАЗ-5320, если смотреть на него внешне? Это трактор, который может работать в паре с прицепом GKB. Грузоподъемность более чем приличная — 8 тонн, но в буксируемый прицеп можно прихватить еще «восьмерку». Кузов КамАЗ 5320 представляет собой металлическую платформу, боковые стенки которой вместе с задней открываются.
 Благодаря этому можно обеспечить более комфортную погрузку и выгрузку любого груза с каждой из трех сторон.
 Пол сделан из прочного дерева. При необходимости можно установить защитный тент.
Сам внешний вид автомобиля Камского завода вполне узнаваем, ведь и по сей день их часто можно встретить на различных дорогах. Хотя, стоит признать, что кабина, откровенно говоря, устарела и нуждается в новой модернизации или, что еще лучше, вообще в новой версии.
Снаряженная масса 5320 чуть больше 7 тонн, вес прицепа 3,5 тонны. Если автопоезд полностью загружен, то его общая масса может достигать 26,5 тонн. Теперь пройдемся по размерам.
КамАЗ-5320 имеет длину 7,43 метра и ширину 2,5 метра. Высота грузовика 3350 мм, а колесная база 3190 плюс 1320 мм.
Интерьер кабины
Кабина грузовика советского производства была рассчитана на три места… При этом отдельного места для «сна» здесь не было.Несмотря на это, салон КамАЗа долгое время считался эталоном комфорта на дороге среди грузовиков того времени.
 А какой еще грузовик мог похвастаться отличной шумо- и теплоизоляцией, местами для крепления ремней безопасности, сиденьем водителя, которое регулируется под вес водителя.
 Причем сиденье водителя было подрессоренного типа.
Конечно, были и недостатки: слишком большой руль и несколько неудобное расположение коробки передач. Впрочем, ко всему привыкаешь, поэтому на эти недостатки КамАЗа всегда можно было закрыть глаза.В салоне кабины есть все необходимые приборы и индикаторы, позволяющие водителю считывать информацию о состоянии автомобиля.
Приборная панель имеет сигнализацию с отличной видимостью шкал и переключателей. По сравнению с другими подобными грузовиками модель 5320 уверенно заняла первое место по обеспечению безопасности водителя и сидящих рядом пассажиров.
Модель 5320 также отличается наличием двухстрелочного манометра, переключателя, регулирующего положение платформы, и электронного датчика оборотов силового агрегата.
 Но недочетов в салоне автомобиля Камский еще очень много. Салон выглядит по-спартански. Лобовое (лобовое) стекло разделено на две части. Педали не очень удобные, что может привести к усталости при дальних поездках.
 Однако во времена, когда КамАЗы еще выпускались, салон был одним из самых лучших и удобных.
Технические характеристики
Силовой агрегат
На КамАЗе использовали дизельный двигатель v8, который был четырехтактным.Его мощность равнялась 180 или 210 лошадиным силам. Также имелся V-образный ТНВД (ТНВД) золотникового типа, а также ТНВД с функцией впрыска топлива и многорычажным регулятором скорости. Максимальное число оборотов в минуту — 2600. Двигатели были разработаны на моторном заводе в Ярославле, а их объем равнялся 10,85 л.
Максимальная скорость КамАЗа составляет от 80 до 100 км/ч, в отличие от величины передаточного числа главной ступени.Разгоняется с 20 км/ч до 60 примерно за 45 секунд, а с прицепом — за 60 секунд. Запас хода с полным баком равен 1040 километров.
 Машина способна функционировать в различных климатических условиях при температуре от +50 до -40 градусов Цельсия. За исправной работой системы охлаждения следит гидромуфта и пара термостатов.
 Инженеры закрыли систему охлаждения и спроектировали ее под использование антифриза.
Кроме того, есть функция очистки воздуха с автоматическим удалением пыли и грязи.При эксплуатации в холодное время года дизель снабжался предпусковым подогревателем и электрофакельной системой. Степень сжатия равна 17. Форсунки устанавливались закрытого типа.
С помощью нескольких модернизаций снижен расход дизельного топлива. Эти нововведения позволили отечественному бортовому грузовику практически на равных конкурировать даже с иномарками. КамАЗ-5320 имеет пару баков: объем одного из них 250 литров, а второго 175.
Трансмиссия
Представляет собой наличие многоступенчатой системы, которая состоит из 2-ступенчатого делителя и 5-ступенчатой коробки передач. Такая система позволяет получить, кроме штатных регуляторов передач, вспомогательные передачи переднего и заднего хода. Не забудьте установить синхронизатор.
 Коробка передач КАМАЗ 5320 имеет 2-дисковое сцепление, которое не теряет своей известности.
 Это устройство работает как сцепление, а включить его можно с помощью гидропневматического усилителя.Он управляется периферийными пружинами.
Выбег грузовика со скоростного режима 50 км/ч составляет 700 метров, а длина тормозного пути со скорости 60 км/ч — 36,7 метра. Техническое обслуживание автомобиля КамАЗ 5320 рекомендуется проводить после каждого 100-километрового пробега.
Техническое обслуживание после 8000 км пробега. Техническое обслуживание машины включает в себя наличие диагностики механического и электрического обслуживания, крепежные работы и смазку механических соединений.
Подвеска
Передняя подвеска на листовых рессорах (полуэллиптические со сдвижными задними концами). Пружины работают совместно с гидротелескопическими амортизаторами двойного типа.
Задняя подвеска балансирного типа. Также отмечается наличие полуэллиптических рессор, раздвижных передних и задних концов. Листовые рессоры имеют Т-образное сечение.
Рулевое управление
 Управление таким грузовиком осуществляется с помощью гидроусилителя, который совмещен с рулевым устройством.
Тормозная система
Для регулирования скорости КамАЗ-5320 и его эффективной остановки используется специализированное устройство. На каждом из 6 колес тележки смонтированы тормозные устройства, функционирующие с помощью механизма пневматического привода. Двухконтурное устройство позволяет водителю переключать задний мост в боеспособное положение, при этом задняя тележка запускается отдельно.
Вместе с тормозом стояночного образца был объединен и запасной тормоз, представляющий собой моторный замедлитель с пневматическим приводом.Прицеп был оборудован комбинированным тормозным приводом. Тормозная система представлена в виде барабанов. Рулевое управление обеспечивается механизмом, представляющим собой винт с гайкой и реечный поршень.
| Весовые параметры и нагрузки | |
| Снаряженная масса автомобиля, кг. | 6220 | 
| 3210 | |
 Грузоподъемность, кг.![]()  | 8860 | 
| Полная масса, кг. | 15305 | 
| 4375 | |
| 10930 | |
| Двигатель | |
| Модель | 740.11-240 | 
| Тип | дизель с турбонаддувом | 
| Мощность номинальная, полная, кВт (л.с.) | 176 (240) | 
| — при частоте вращения коленчатого вала, об/мин | 2200 | 
| Максимальный крутящий момент, Нм (кгсм) | 834 (85) | 
| — при частоте вращения коленчатого вала, об/мин | 1200-1400 | 
| Расположение и количество цилиндров | V-образный, 8 | 
| Рабочий объем, л. | 10,85 | 
| Диаметр цилиндра и ход поршня, мм | 120/120 | 
| Степень сжатия | 16 | 
| Система снабжения | |
 Емкость топливного бака, л.![]()  | 250 | 
| Электрооборудование | |
| Напряжение, В | 24 | 
| Аккумуляторы, В/А час | 2×12/190 | 
| Генератор, В/В | 28/1000 | 
| Муфта | |
| Тип | фрикционная, сухая, двухдисковая | 
| Привод | гидравлический с пневматическим усилителем | 
| Диаметр колодок, мм. | 350 | 
| Трансмиссия | |
| Тип | механическая, десятиступенчатая | 
| Управление | механическое, дистанционное | 
| Раздаточная коробка | |
| Тип | механическая, 2-ступенчатая с блокируемым межосевым дифференциалом | 
| Управление | пневматическое | 
| Тормоза | |
| Привод | пневматический | 
| Размеры: | |
| Диаметр барабана, мм | 400 | 
| Ширина тормозных колодок, мм | 140 | 
 Общая площадь тормозных колодок, кв.  См | 6300 | 
| Колеса и шины | |
| Колесный тип | бездисковый | 
| Тип шины | пневматическая камера | 
| Размер шин | 9,00R20 (260R508) | 
| Кабина | |
| Тип | Передний, расположенный над двигателем, 3-х местный | 
| Исполнение | без спального места | 
| Характеристики автомобиля полной массой 15305 кг | |
| Максимальная скорость, км/ч | 90 | 
| Максимальный угол уклона, преодолеваемый автомобилем с полной массой, % | 30 | 
| Внешний габаритный радиус поворота ТС, м | 9,3 | 
| Дополнительное оборудование | |
 Предпусковой подогреватель двигателя, ремни безопасности, противотуманные фары.![]()  | |
Стоимость и модификации
Мы уже говорили, что в 2001 году с конвейера сошел последний КАМАЗ. Между тем, эта модель достаточно активно продается на вторичном рынке. Цена на него зависит от пробега и года выпуска, может колебаться от 150 000 до 500 000 рублей. Также возможна аренда КамАЗ-5320. За каждый час работы необходимо будет заплатить 900 – 1500 рублей.
Уже в 1984 году был создан опытный образец и разработана общая концепция производства газодизеля на платформе.дизельный автомобиль. В следующем, 85-м году были проведены тест-драйвы, которые дали понять, что при использовании газодизельного метода улучшилась топливная экономичность, дымность и шумность двигателя.
 Уже спустя 3 года, в 1987 году, в городе Набережные Челны было налажено производство грузовиков КамАЗ-53208 и КамАЗ-5312 с двигателями на газодизельной системе. Мощность двигателя составляла 210 л.с. с участием. Газодизельное шасси с платформой 3190 мм имело значение КамАЗ-53217.
| вариант грузовика для тропиков КамАЗ-5320. | |
| производство для широкого применения типа бензовоз, пожарная машина, автобетономешалки, автомобили для уборки дорог и коммунального хозяйства, а также НефАЗ в конструкции самосвала КамАЗ-55102 для сельского хозяйства. | |
| Шасси КамАЗ-53201 | с мотором от 7403.10 имел наименование КамАЗ-53211. | 
| Одновременно с описываемым КамАЗом он прошел тест-драйв и выпустил в скромном количестве бортовой грузовик с выросшей до 3690 мм колесной базой и длиной 6100 мм.Он мог нести все те же 8000 кг. Уже в 1980 году его сменил КамАЗ-53212, перевозивший уже 10 тонн. Шасси автомобиля КамАЗ-53202 имело значение КамАЗ-53203. | |
 Середина 80-х ознаменовалась тем, что совместно с Научным автомобильно-моторным институтом (НАМИ) и участием Камского и Ярославского заводов придумали продуктивный вариант использования газов в дизельные агрегаты — функция ГД-НАМИ (газодизельная система).  По этой схеме в конструкцию дизеля внесен ряд изменений и преобразований — добавлен газосмеситель, функция хранения, управления и ввода газа, функция взаимосвязанного регулирования насосной рейкой, отвечающей за подачу дизельного топлива, и газовый редуктор. Более того, нашла свое место функция защиты двигателя от перегрузок и аварий, если перестала функционировать система подачи топлива. | 
Достоинства и недостатки
Достоинства автомобиля
- Подходит для любого климата — от +50 до -40 градусов;
 - Отлично подходит для российских дорог;
 - Хорошая ремонтопригодность;
 - Относительно низкая цена на запчасти;
 - Стоимость грузовика;
 - Легко переносит перегрузки;
 - Редуктор с делителем;
 - Может доехать до гаража при некоторых поломках.
 - Приемлемый дорожный просвет;
 - Практичность;
 - Отличная обзорность автомобиля;
 - Неплохая тормозная система;
 -  Существуют различные модификации, расширяющие возможности грузовика.

 
Минусы автомобиля
- Скудный салон;
 - Шум двигателя;
 - Плохая шумоизоляция салона;
 - Для ремонта требуются специальные навыки;
 - Слабый двигатель.
 - Не очень удобное сиденье;
 - Много свободного места реализовано бесполезно;
 - Сборка салона вызывает нарекания;
 - Качество материалов внутренней отделки низкое;
 - Высокий расход топлива.
 
Подведение итогов
КамАЗ-5320 многие знают не понаслышке. Понятно, что до европейских вариантов ему еще далеко, однако на момент выхода он был, что может быть, идеальным вариантом. Хотя и сегодня его очень часто можно встретить на дорогах. Тем более, трехосная машина хорошо справляется с пересеченной местностью и не боится больших перепадов температур.
 КамАЗ-5320 используется для работы с прицепными агрегатами ГКБ-8385. Машина используется для транспортных процессов как в строительной отрасли, так и в сферах промышленной или хозяйственной деятельности.
Краткое описание станка
КамАЗ 5320 — дебютный продукт популярной марки от Камского автозавода. Его производство длилось 25 лет, до 2001 года. Благодаря своим уникальным техническим характеристикам КамАЗ 5320 не утратил своей актуальности и по сей день. Автомобиль предназначен для тяжелых регулярных работ, часто используется как автопоезд с прицепом. Базовая модель несколько раз модернизировалась, но незначительно.
Модели автомобилей КАМАЗ на базе шасси 5320
КамАЗ 5320 — трехосный бортовой тягач с колесной формулой 6×4.Несмотря на то, что модель по праву считалась наиболее удачной, с целью повышения функциональности машины на базе шасси 5320 были разработаны другие автомобили для перевозки грузов:
- самосвал КамАЗ 551 – отличается хорошей проходимостью, устойчивостью к разным климатическим условиям, разгрузка занимает мало времени;
 - удлиненный трактор 5325 — двухосный автомобиль, используемый в основном для работы с прицепом того же размера;
 - среднетоннажный грузовик 53212 — считается удлиненной версией КамАЗ 5320;
 -   Седельный тягач  — конструкция, включающая седельно-сцепное устройство с двумя степенями свободы.

 
 
 
 
Базовая модель 5320, как и все виды автомобилей, созданных на ее базе, широко применяется в различных отраслях промышленности: сельском хозяйстве, строительстве, в горнодобывающих районах, для перевозки грузов различных объемов и т. д.
Технические характеристики автомобиля
| размеры | |
| Длина | 8,395 м | 
| Ширина | 2,5 м | 
| Высота | 2.83 м | 
| Задняя направляющая | 1,85 м | 
| Передняя направляющая | 2,01 м | 
| Высота загрузки | 1,37 м | 
| Колесная база | 1,32 м | 
| Внешний радиус поворота | 9,3 м | 
| Дорожный просвет | 3,45 м | 
| Данные о весе | |
| Общий вес | 15,205 т | 
| Снаряженная масса |  7.  5 т | 
| Максимальная грузоподъемность | 8 т | 
| Допустимая масса прицепа | 8 т | 
| Динамические значения | |
| Угол подъема | 30% | 
| Максимально допустимая скорость | 85 км/ч | 
| Тормозной путь на скорости 40 км/ч | 21 м | 
| Параметры двигателя | |
| Общее количество цилиндров | 8 | 
| Объем двигателя рабочий | 10.85 л | 
| Номинальная мощность | 210 л. с участием. | 
| Система снабжения | |
| Емкость топливного бака | 250 л | 
| Расход топлива (средний) | 34 л/100 км | 
  Тормозная система КамАЗ 5320  представлена 6 специальными устройствами, устанавливаемыми на каждое из колес.
 Свои основные функции они выполняют благодаря приводу пневматического типа.Для управления используется педаль, которая соединена с тормозным краном. Достаточно сложной системой является трансмиссия, состоящая из следующих частей:
- двухступенчатый делитель;
 - пятиступенчатая коробка передач.
 
В отличие от стандартного устройства переключения скоростей, этот механизм дополнительно обеспечивает передачу заднего и переднего хода. Сцепление в автомобиле двухдисковое, оно управляется специальными периферийными пружинами и функционирует как фрикционное. За запуск среднего и заднего мостов отвечает карданная передача, состоящая из двух валов.
Внешний вид КамАЗа и его приборной панели
 Для обеспечения удобной, быстрой выгрузки и выгрузки перевозимого груза кузов сконструирован таким образом, что его задняя и боковые стенки легко открываются. Эта часть автомобиля представлена большой металлической платформой. Основа кузова изготовлена из прочного дерева, при необходимости по всему размеру устанавливается защитный тент.
Кабина КамАЗ 5320 имеет три пассажирских места — одно основное, предназначенное для водителя, и два дополнительных.Здесь нет спального места, в отличие от большинства современных моделей. При этом именно этот автомобиль долгое время считался наиболее защищенным от неблагоприятных условий, а также отличался высокой степенью шумоизоляции. Уровень безопасности всех пассажиров грузового тягача занимает лидирующее место среди аналогичных транспортных средств.
Сиденье легко регулируется в зависимости от массы тела водителя. Отдельным преимуществом являются специальные удерживающие ремни. Положение шоферского кресла можно изменить без особых затруднений, оно оснащено удобной спинкой и подушкой.Обустройство салона выполнено с целью обеспечения максимального комфорта при дальних поездках.
Приборная панель автомобиля состоит из следующих частей:
- контрольно-измерительные приборы;
 - сигнальные индикаторы;
 -  переключатели.

 
КамАЗ 5320 один из немногих представителей своей марки, который одновременно содержит переключатель, регулирующий расположение платформы, двухстрелочный манометр, электронный тахометр… Рулевое управление оснащено гидроусилителем. Вместе все компоненты приборной панели обеспечивают простое отслеживание информации о текущей работе трактора.
Особенности технического обслуживания
Как и любые другие автомобили, седельный тягач КамАЗ 5320 нуждается в регулярном обслуживании. Необходим тщательный контроль для проверки всех систем машины, выход из строя которых может привести к аварии и выходу из строя тягача. С момента начала активной эксплуатации через определенный промежуток времени каждый автомобиль отправляется в сервисное обслуживание:
- после прохождения первой тысячи километров предусмотрена обязательная техническая профилактика;
 - еще 7 тыс. км пробега, согласно правилам эксплуатации техники, являются основанием для сдачи КамАЗа в сервис;
 -  после 12 тысяч километров и более автомобиль подвергается глубокой профилактике.

 
Техническое обслуживание включает проверку всех механизмов и электрических систем, сборку и разборку отдельных узлов, смазку всех соединительных элементов. Таким образом, машина не только остается исправной, но и сохраняет хороший внешний вид. В отличие от зарубежных аналогов обслуживание отечественных КамАЗов значительно дешевле.
Запчасти всегда есть на рынке транспортных услуг, благодаря широкому использованию моделей Камского завода. Ремонт техники можно производить как на СТО, так и самостоятельно.Учитывая тот факт, что на сегодняшний день все седельные тягачи этой линейки, эксплуатируемые, профилактические проверки должны проводиться как можно чаще.
Видео: Обзор и тест-драйв восстановленного КамАЗ 5320
Технические характеристики автомобиля КамАЗ-5320 и его модификаций
В настоящее время Камский автозавод выпускает семейство грузовых автомобилей, базой для которых является седельный тягач КамАЗ-5320.
 Автомобили этого семейства имеют общетранспортное назначение и могут эксплуатироваться на дорогах всех категорий с учетом разрешенной нагрузки на ось до 6000 .
 ..8000 кгс (60…80 кН) и по грунтовым проселочным дорогам, кроме периодов снежных заносов и дорожной распутицы. Все эти машины имеют одинаковую общую компоновку, с откидной кабиной над двигателем и колесной формулой 6 × 4.
Седельный тягач КамАЗ-5320 (рис. 1.1) оборудован трехместной кабиной, металлической грузовой платформой, тентом на съемном металлическом каркасе. Масса перевозимого груза 8000 кг. Он рассчитан на работу с прицепом ГКБ-8350, полная масса которого 11 500 кг, а масса перевозимого груза 8 000 кг.Габаритные и некоторые компоновочные размеры трактора КамАЗ-5320 показаны на рис. 1.2.
 На автомобиль КамАЗ-5320 устанавливается V-образный восьмицилиндровый четырехтактный дизель модели 740 мощностью 210 л.с. с участием. (155 кВт) при 2600 об/мин (260 рад/с), развивая максимальный крутящий момент 65 кгс·м (650 Н·м) при 1400…1700 об/мин (140…170 рад/с). Трансмиссия механическая, многоступенчатая. В трансмиссии используется пятиступенчатая коробка передач с двухступенчатым делителем передач, которая обеспечивает десять передач для движения вперед и две передачи для движения назад.
 .. В ведущем среднем и заднем мостах применена двойная главная передача, состоящая из пары конических шестерен и пары цилиндрических шестерен. В приводе на колеса ведущих мостов за главными передачами установлены обычные конические межколесные дифференциалы.
Особенностью привода на ведущие мосты является наличие межосевого с принудительной блокировкой конического дифференциала, обеспечивающего малое сопротивление при движении в хороших дорожных условиях без блокировки дифференциала, возможность получения максимального тягового усилия в тяжелых дорожных условиях при блокировке дифференциала.
Рис. 1.1. Седельный тягач КамАЗ-5320
Рис. 1.2. Габаритные и габаритные размеры седельного тягача КамАЗ-5320
Одной из особенностей трансмиссии автомобиля КамАЗ-5320 является применение выносных пневматической и гидравлической систем с усилителями для облегчения управления сцеплением, делителем передач, коробкой передач и центром дифференциал.
 Большое внимание в конструкции КамАЗ-5320 уделено повышению безопасности и облегчению управления автомобилем.
 Рулевое управление обеспечивается гидроусилителем. Тормозная система обеспечивает высокую надежность работы и простоту управления в сочетании с высокими тормозными свойствами. В автомобиле применен пневматический привод к тормозам и предусмотрены рабочие тормоза, стояночный тормоз, тормозная система для прицепа, вспомогательный газодинамический тормоз компрессионного типа и запасной тормоз, воздействующий на тормоза колес задней тележки.
Подвеска зависимая на полуэллиптических рессорах. Передняя подвеска оснащена телескопическими гидравлическими амортизаторами, что повышает надежность подвески и плавность хода, обеспечивает движение по неровным дорогам с повышенными скоростями… Задняя подвеска уравновешена реактивными тягами.
Автомобиль КамАЗ-5320 обладает высокими эксплуатационными и техническими характеристиками. Развивает скорость до 80…100 км/ч в зависимости от значения передаточного числа главной передачи.
 Время разгона при полной загрузке со скорости 20 км/ч до 60 км/ч не превышает 45 с, а при движении с прицепом — 60 с.
 Запас хода на контрольном расходе топлива составляет 1040 км. Преодолеваемая проходимость с полной загрузкой составляет 35%. КамАЗ-5320 пригоден для эксплуатации в широком диапазоне климатических условий при температуре от плюс 50 до минус 40°С.
Для более эффективного выполнения различных видов транспортных работ на базе автомобиля-тягача КамАЗ-5320 Производственное объединение КамАЗ выпускает ряд модификаций.
Седельный тягач КамАЗ-5410 предназначен для работы с полуприцепом ОдАЭ-9370 грузоподъемностью 13 500 кг при полной массе груженого полуприцепа 19 100 кг. Кабина седельного тягача оборудована спальным местом.
Седельный тягач КамАЗ-53112 имеет массу перевозимого груза до 10 000 кг, увеличенную колесную базу… Кабина оборудована спальным местом. Негабаритная грузовая платформа. Автомобиль предназначен для работы с прицепом ГКБ-8350.
КамАЗ-53212: описание и технические характеристики
 КАМАЗ — пожалуй, самый известный в России завод по производству большегрузных автомобилей.
 Одна из первых моделей-КАМАЗ-5320. Этот грузовик является самым популярным. Даже сейчас его можно встретить на дорогах России. Но было еще много модификаций, построенных на его базе. Один из таких — КАМАЗ-53212. Технические характеристики, фото и особенности этого автомобиля — далее в нашей статье.
Описание
Итак, что это за машина? КамАЗ-53212 — бортовой большегрузный автомобиль с колесной формулой 6 х 4. Машина представляет собой удлиненную модификацию 5320 и создана на его базе. Впервые этот грузовик сошел с конвейера в 1979 году. Что примечательно, серийное производство автомобиля не прекращалось и после распада СССР и продолжалось до 2002 года. Эта модель способна работать при экстремально низких и высоких температурах, используется в условиях повышенной влажности и на высоте до трех километров над уровнем моря.Поэтому на базе грузовика КАМАЗ-53212 был создан военный автомобиль, предназначенный для перевозки грузов и личного состава.
Внешний вид
 Внешний вид Такую машину читатель может увидеть на фото в статье.
 При одном взгляде на экстерьер становится понятно, что грузовик имеет минимум отличий от базовой модели 5320. Если внимательно присмотреться, то можно заметить более длинную базу. В остальном это два одинаковых автомобиля. Отметим, что модель 53212 универсальна. Устанавливались не только боковые части кузова.Также Грузовики шли с цельнометаллическими фургонами, были автоцистерны. Часто можно встретить КАМАЗ-53212-зерно. А некоторые водители устанавливают здесь тентованные кузова грузовиков-иномарок (один из примеров можно увидеть на фото ниже).
Рекомендуем
Как работает задняя втулка переднего рычага и сколько она служит?
Втулка задняя переднего рычага – один из составных элементов ходовой части автомобиля. Он относится к направляющим элементам подвески, которые вместе с рычагами выдерживают огромные нагрузки с колесами.Однако с этим пунктом много…
Расход масла в двигателе. Шесть причин
 Вряд ли можно найти автомобилиста, которого бы не беспокоил повышенный расход масла.
 Особенно досадно, когда это происходит с очередным новым мотором. Вот самые частые причины, которые приводят к расходу масла в дв…
Как работает выхлопная система?
Выхлопная система предназначена для удаления продуктов сгорания из двигателя и вывода их в окружающую среду.Также должно быть обеспечено снижение шумового загрязнения до допустимых пределов. Как и любые другие сложные устройства, эта система состоит из семи…
В основном использовался КАМАЗ-53212 с прицепом ГКБ, имевший такие же габариты. Пол грузовика и прицепа деревянный. Сцепка шарнирно закреплена на доске с возможностью установки каркаса для тента.
В середине 90-х грузовик мало изменился. Итак, на Камском автозаводе появилась новая кабина. У нее была «глухая» решетка радиатора. А вот головная оптика находится в металлическом бампере.Еще кабина оборудована лобовым стеклом из двух частей с центральной перегородкой. Также не стоит менять форму дверей и крыши.
 Кабина первого образца была хорошо защищена от коррозии.
 Однако модели последних годов выпуска сильно ржавеют, — говорят владельцы. Особенно коррозии подвергается решетка радиатора и нижняя часть салона.
Размеры, дорожный просвет
Общая длина грузовика 8,53 метра. Ширина-2,5, высота-3,8 метра. Клиренс – 28 см.Ширина колеи – 1,85 и 2,02 метра по передней и задней оси соответственно. Размер голени — 9.00R20. Высокий дорожный просвет – одно из главных преимуществ этого грузовика. Машину можно использовать для различных типов дорожного покрытия. Также хорошо подходит для перевозки зерна.
Интерьер
 Дизайн кабины идентичен модели 5320, то есть не менялся с начала 1970-х годов. Салон рассчитан на трех человек, включая двух пассажиров. КамАЗ-53212 также оборудован спальным мешком.Сиденье водителя-подрессоренное, с регулировкой длины и наклона спинки. По сравнению с другими грузовиками кабина КАМАЗ в те годы была одной из самых удобных и безопасных (даже оборудованных ремнями). Но по современным меркам салон можно охарактеризовать как неудобный и не эргономичный.
Руль двухсветный без регулировки. Передняя панель изготовлена из металла. На щитке пара манометров и датчик давления воздуха в системе. Кстати, последним стоит звуковой детектор.Когда воздуха в системе было мало, в салоне слышен характерный звук.
Технические характеристики
 КАМАЗ-53212 на протяжении всех лет выпуска оснащались одним двигателем. Это дизельный атмосферный восьмицилиндровый агрегат КАМАЗ-740.10. Это V-образный двигатель с механическим ТНВД. При объеме 10 857 кубических сантиметров он развивал мощность 210 лошадиных сил. Диаметр цилиндра и ход поршней были одинаковыми и равнялись 120 миллиметрам. Мотор имеет 16-клапанную компоновку, то есть на каждый цилиндр приходилось по два клапана (по одному впускному и выпускному).Сегодня многие агрегаты уже исчерпали свой ресурс. Поэтому неудивительно, что у такого КАМАЗ большой расход масла. Что касается расхода топлива, то здесь цифры стабильные. Все зависит от правильной настройки топливного насоса высокого давления, а также загруженности автомобиля и наличия прицепа.
 Таким образом, расход может составлять от 30 до 45 литров на 100 километров. Ресурс силового агрегата после капитального ремонта – 200 тысяч километров. Двигатель можно ремонтировать до четырех раз.
Система охлаждения на КамАЗе работала автоматически. Есть вискомуфта, которая при необходимости самостоятельно включает вентилятор охлаждения. В СОД используется антифриз А-40. Система работает по закрытому типу и имеет несколько контуров с двумя термостатами. По поводу СОД владельцы претензий не высказывали. Работает без проблем. Машина не кипит и хорошо себя чувствует при низких температурах.
Коробка передач
Этот автомобиль имел механическую коробку передач на пять ступеней с двухступенчатым делителем.Пульт, при использовании механического привода. Для переключения отдельного пневмопривода. Коробка, как и двигатель КАМАЗ-53212, не всегда в хорошем состоянии. У сегодняшних экземпляров проблемы на КПП. Это износ синхронизаторов и других промежуточных валов.
 Трансмиссия грузовика включает 2 трубчатых вала.
 Шарниры представляют собой игольчатые подшипники. Последние следует смазывать с запасом для продления срока службы. Передача несъемных мостов также двойная. Однако шестерни представляют собой разные виды зубьев.Средний мост оснащен блокируемым межосевым дифференциалом.
Подвеска
Автомобиль оборудован передней зависимой подвеской. Это шкворневая балка с телескопическими амортизаторами и полуэллиптическими листовыми рессорами. Балансиры задней подвески.
Концы рессор выполнены по раздвижному типу. Автомобиль был укомплектован камерными 20-дюймовыми радиальными шинами со стандартным рисунком протектора. Колеса на КамАЗе без дисков и не отбалансированы. А в качестве стопора использовал бортик и кольцо для ключей.
Тормоза и рулевое управление
Тормозная система включает в себя несколько механизмов:
- Рабочие.
 - Вспомогательный.
 - Парковка.
 - Запасной.
 
 Все колеса барабанные механизмы диаметром 420 миллиметров.
 Тормоза-пневматические. При использовании ручного тормоза в работу включают пружинные тормозные камеры. Они заблокировали колодки на средней и задней осях автомобиля. Система помощи при экстренном торможении активируется специальной кнопкой. Воздух прокачивается компрессором и накапливается в ресиверах, предварительно очищенных от конденсата.
Рулевой механизм представляет собой редуктор с усилителем рулевого управления. Конструкция очень надежная и редко ломается. Колесо крутится без особых усилий. Но из-за возраста эти Траки приходится регулярно подтягивать. Машина постоянно «ищет дорогу».
Цена
На данный момент КАМАЗ-53212 можно приобрести на вторичном рынке. Стоимость отличается т.к. у каждой модели разный кузов, а иногда и дополнительное оборудование (речь идет о кранах-манипуляторах).
 Итак, самый простой вариант с бортовым кузовом доступен по цене 200-350 тысяч рублей. Контейнеры КамАЗ или кузова от грузовиков-легковушек стоят порядка 400-500 тысяч.
 А вот версию с манипуляторами можно купить за миллион рублей.
В заключение
Итак, мы выяснили, что КАМАЗ-53212. Несмотря на прекращение производства, эта машина до сих пор пользуется спросом. В основном его покупают для перевозки зерновых культур, используя вместе с прицепом. Для этих целей машина идеальна.Грузовик имеет простое устройство и очень ремонтопригоден. Однако надежность остается под вопросом, поскольку средний возраст машины — около 30 лет.
Продам запчасти КАМАЗ 5320, 4310 новые
Тип объявления: ПродамОпубликовано: 02.12.2013
 Продам запчасти КАМАЗ. 
 Новые запчасти. 
 Шестерня КАМАЗ средняя и задняя, 50 зубьев, 49 зубьев (с запасом) — 45000 и 50000 руб. 
 Ось балансира в сборе (с запасом) — 16000 руб. Радиатор-новый 
 -Двигатель новый 1 комплектация со стартером(с аккумом)-250000 руб 
 -Тяга-новая 
 -Рулевая 
 -Жесткий буксир(стяжка)-5000 руб 
 -Гур 
 -Тормозная система 
 -КПП с делителем 
 -Рулевая 
 -Задние фары (Киржач) 
 -Фонари 
 -Воздушный фильтр 
 И многое другое, сделано по двигателю и подвеске, много по мелочи.
 
 ЦЕНЫ НА ЗВОНОК ПРИЯТНО УДИВЛЯЮТ ВАС, РАБОТАЙТЕ С НАТ. ФИЗИЧЕСКИМ ЛИЦАМ И ОРГАНИЗАЦИЯМ, НАЛИЧНЫЙ ИЛИ БЕЗНАЛИЧНЫЙ РАСЧЕТ. 
 Отправлено в регионы. 
 Могу скинуть полную цену на Эл. Почта.
Что такое файл cookie?
Файл cookie — это небольшой текстовый файл, который сохраняется на вашем компьютере/мобильном устройстве, когда вы посещаете веб-сайт. Этот текстовый файл может хранить информацию, которая может быть прочитана веб-сайтом, если вы посетите его позже. Некоторые файлы cookie необходимы для правильной работы веб-сайта.Другие файлы cookie полезны для посетителя. Файлы cookie означают, что вам не нужно вводить одну и ту же информацию каждый раз при повторном посещении веб-сайта.
Почему мы используем файлы cookie?
 Мы используем файлы cookie, чтобы обеспечить вам оптимальный доступ к нашему веб-сайту. Используя файлы cookie, мы можем гарантировать, что одна и та же информация не будет отображаться каждый раз при повторном посещении веб-сайта.
 Файлы cookie также могут помочь оптимизировать работу веб-сайта. Они облегчают просмотр нашего веб-сайта.
Для защиты ваших персональных данных и предотвращения потери информации или противоправных действий применяются соответствующие организационные и технические меры.
Почему мы используем файлы cookie сторонних поставщиков?
Мы используем файлы cookie сторонних поставщиков, чтобы иметь возможность оценивать статистическую информацию в коллективных формах с помощью аналитических инструментов, таких как Google Analytics. Для этой цели используются как постоянные, так и временные файлы cookie. Постоянные файлы cookie будут храниться на вашем компьютере или мобильном устройстве не более 24 месяцев.
Как отключить файлы cookie?
 Вы можете просто изменить настройки своего браузера, чтобы отключить все файлы cookie.Просто нажмите «Справка» и выполните поиск «Блокировать файлы cookie». Обратите внимание: если вы деактивируете файлы cookie, веб-сайт может отображаться только частично или не отображаться вовсе.
КамАЗ-53212: описание и технические данные
КамАЗ, пожалуй, самый известный в России завод по выпуску большегрузных грузовиков. Одна из первых моделей – КамАЗ-5320. Этот грузовик самый массовый. Даже сейчас его можно встретить на дорогах России. Но было еще много модификаций, построенных на его базе.Один из них КамАЗ-53212. Технические характеристики, фото и особенности этого автомобиля — далее в этой статье.
Описание
 Итак, что это за машина? КамАЗ-53212 — бортовой большегрузный автомобиль с колесной формулой 6 х 4. Машина является удлиненной версией модели 5320 и построена на ее базе. Впервые этот грузовик сошел с конвейера в 1979 году. Что примечательно, серийное производство автомобиля не прекратилось после распада СССР, а продолжалось до 2002 года.Данная модель способна работать при экстремально низких и высоких температурах, использоваться в условиях повышенной влажности, а также на высоте до трех километров над уровнем моря. Ввиду этого на базе грузовика КАМАЗ-53212 также создавался военный автомобиль, предназначенный для перевозки грузов и личного состава.
Внешний вид
Как выглядит эта машина, читатель может увидеть на фото в нашей статье. При взгляде на экстерьер становится понятно, что грузовик имеет минимум отличий от базовой модели 5320.Если присмотреться, то можно заметить более длинную базу. В остальном это два одинаковых автомобиля. Отметим, что модель 53212 универсальна. Его устанавливали не только на бортовые кузова. Также ходили КамАЗы с цельнометаллическими фурами, были и бензовозы. Часто можно встретить зерновоз КамАЗ-53212. А некоторые перевозчики устанавливают сюда тентованные кузова от грузовиков-иномарок (один из примеров можно увидеть на фото ниже).
В общем, мы использовали КамАЗ-53212 с прицепом ГКБ, который имел такие же размеры.Настил грузовика и прицепа деревянный. Сцепка имеет откидные борта с возможностью установки каркаса для тента.
 В середине 90-х грузовик претерпел небольшие изменения. Так, на Камском автомобильном заводе использовали новую кабину. У нее была «глухая» решетка радиатора.
 Головная оптика расположена в металлическом бампере. Как и прежде, в салоне используется лобовое стекло из двух частей с центральной перегородкой. Также не изменилась форма дверей и крыши.
Кабины первого образца были хорошо защищены от коррозии.Однако модели последних годов выпуска сильно ржавеют, — говорят владельцы. Особенно подвержены коррозии решетки радиатора и нижняя часть салона.
Габаритные размеры, клиренс
Общая длина грузовика 8,53 метра. Ширина 2,5, высота 3,8 метра. Дорожный просвет – 28 сантиметров. Ширина колеи составляет 1,85 и 2,02 метра для задней и передней осей соответственно. Размер шин 9.00R20. Высокий дорожный просвет – одно из главных преимуществ этого грузовика.Машину можно использовать для различных типов дорожного покрытия. Также автомобиль хорошо подходит для перевозки зерна.
Салон
 Дизайн кабины идентичен модели 5320, не менялся с начала 1970-х годов. Салон рассчитан на трех человек, включая двух пассажиров. КамАЗ-53212 также комплектовался спальным мешком.
 Сиденье водителя подрессоренное, с регулировкой длины и наклона спинки. По сравнению с другими грузовиками кабина КамАЗа в те годы была одной из самых удобных и безопасных (даже оборудованных ремнями безопасности).Но по современным меркам салон может быть довольно неудобным и неэргономичным.
Руль двухспицевый, без регулировок. Передняя панель выполнена из металла. На щитке — пара стрелочных приборов и датчик давления воздуха в системе. Кстати, последним был детектор звука. Когда в системе не хватало воздуха, в салоне раздавался характерный звук.
Технические характеристики
 КАМАЗ-53212 всех годов выпуска с одним двигателем.Это дизельный атмосферный восьмицилиндровый агрегат КамАЗ-740.10. Это V-образный двигатель с механическим ТНВД. При объеме 10 857 кубических сантиметров он развивал мощность 210 лошадиных сил. Диаметр и ход поршней были одинаковыми и составляли 120 миллиметров. Мотор имеет 16-клапанную компоновку, то есть каждый цилиндр имел по два клапана (один впускной и один выпускной).
 На сегодняшний день многие агрегаты уже исчерпали свой ресурс. Поэтому неудивительно, что такой КамАЗ имеет большой расход масла.Что касается расхода топлива, то здесь стабильной цифры нет. Все зависит от правильной настройки топливного насоса высокого давления, а также от загрузки самого автомобиля и наличия прицепа. Так, расход может составлять от 30 до 45 литров на 100 километров. Ресурс силового агрегата до капитального ремонта составляет 200 тысяч километров. Двигатель можно ремонтировать до четырех раз.
Система охлаждения на КамАЗе работала автоматически. Здесь есть вискомуфта, которая при необходимости самостоятельно задействует вентилятор охлаждения.В ОДС используется антифриз А-40. Система работает по закрытому типу и имеет несколько контуров с двумя термостатами. По поводу СОД владельцы не жалуются. Работает без проблем. Машина не кипит и хорошо себя чувствует при низких температурах.
Трансмиссия
 На этот автомобиль была установлена механическая пятиступенчатая коробка передач с двухступенчатым делителем.
 Дистанционное управление, с помощью механического привода. За переключение передач отвечал отдельный пневматический привод. Коробка, как и двигатель на КамАЗ-53212, не всегда в исправном состоянии.У сегодняшних экземпляров проблемы с КПП. Это износ синхронизаторов, промежуточных и других валов.
Карданная передача на КамАЗ включает 2 трубчатых вала. Шарниры на игольчатых подшипниках. Последние необходимо смазывать с запасом для продления срока службы. Передача главных мостов также двойная. Однако шестерни различаются по типу зубьев. Средний мост оснащен межосевым блокируемым дифференциалом.
Шасси
Спереди автомобиль оборудован зависимой подвеской.Это шкворневая балка с телескопическими амортизаторами и полуэллиптическими рессорами. Сзади имеется подвеска на балансирах.
 Концы пружин выполнены по скользящему типу. Автомобиль комплектовался камерными 20-дюймовыми радиальными шинами со стандартным рисунком протектора. Колеса на КамАЗе не имеют дисков и не сбалансированы.
 А в качестве стопора используются бортик и кольца для ключей.
Тормоза и рулевое управление
Тормозная система включает несколько механизмов:
- Рабочие.
 - Вспомогательный.
 - Парковка.
 - Запасной.
 
Все колеса имеют барабанные механизмы диаметром 420 миллиметров. Привод тормозов пневматический. При использовании парковки в работу включаются пружинные аккумуляторы энергии. Они заблокировали колодки на средней и задней осях автомобиля. Вспомогательная тормозная система активируется с помощью специальной кнопки. Воздух прокачивается с помощью компрессора и хранится в ресиверах, предварительно очищенный от конденсата.
Рулевой механизм — редуктор с гидроусилителем. Конструкция очень надежна и редко выходит из строя. Руль крутится без особых усилий. Но в силу возраста эти КамАЗы приходится регулярно подруливать. Машина постоянно «ищет дорогу».
Цена
 На данный момент КамАЗ-53212 можно приобрести на вторичном рынке.
 Стоимость разная, потому что каждая модель комплектуется разными кузовами, а иногда и дополнительным оборудованием (речь идет о кранах, манипуляторах).
Итак, самые простые версии с бортовым кузовом доступны по цене 200-350 тысяч рублей. КамАЗы с контейнерами или кузовами от грузовиков-иномарок стоят порядка 400-500 тысяч. А вот версии с манипуляторами можно купить за миллион рублей.
Наконец-то
Итак, мы выяснили, что такое КамАЗ-53212. Несмотря на прекращение производства, эта машина до сих пор пользуется спросом. В основном его покупают для перевозки зерновых культур, используя вместе с прицепом.Для этих целей машина идеальна. Грузовик имеет простое устройство и очень ремонтопригоден. Однако надежность остается под вопросом, так как средний возраст автомобиля составляет около 30 лет.
.
 
 Соответственно, чем это значение больше, тем мощнее тяговое усилие колес грузовика.
 Точно так же межколесный дифференциал раздает вращающий момент левому и правому колесу в необходимой пропорции, так чтобы предотвратить скольжение на резких поворотах и дорогах с неровным покрытием.
 5
 е. с двумя переключаемыми передачами с разными передаточными числами.
 Ведущая коническая шестерня 20 установлена в горловине картера главной передачи на двух роликовых конических подшипниках 24, 2в, между внутренними обоймами которых имеются распорная втулка и регулировочные шайбы 25. Шлифованный конец ступицы этой шестерни соединен с конической шестерней межосевого дифференциала, а внутри ступицы проходит вал 21 привода, одним концом соединенный с конической шестерней межосевого дифференциала, а другим при помощи карданной передачи с ведущим валом главной передачи заднего моста.
 Крутящий момент от корпуса межколесного дифференциала, к которому прикреплена ведомая цилиндрическая шестерня 16 главной передачи, передается на крестовину 15, а от нее через сателлиты на шестерни полуосей. Сателлиты, действуя с одинаковой силой на правую и левую шестерни полуосей, создают на них равные крутящие моменты.
 Ведущая коническая шестерня 13 установлена на шлицах ведущего проходного вала 15 (для среднего моста). Этот вал опирается на два конических роликовых подшипника 12 и 18, которые закрыты крышками, имеющими регулировочные прокладки 11 и 16. Выходные концы вала уплотняются самоподжимными сальниками, защищенными грязеотражательными кольцами. На концах проходного вала (для среднего моста) устанавливаются фланцы карданных шарниров 10, 17. Фланец 17 привода к заднему мосту меньше по размерам, чем фланец 10, на который подводится крутящий момент от межосевого дифференциала раздаточной коробки.
 Ведомая цилиндрическая шестерня 22 соединена с половинами (чашками) корпуса дифференциала, каждая из которых опирается на конический подшипник.
 рис.3) осуществляется подбором необходимой толщины регулировочных шайб, которые устанавливаются между внутренней обоймой переднего подшипника и опорной шайбой. Момент сопротивления проворачиванию вала ведущей шестерни должен быть 0,8-3,0 Н-м (0,08-0,30 кгс-м). При проверке этого момента крышку стакана подшипника надо сдвинуть в сторону фланца так, чтобы сальник не оказывал сопротивления вращению. После окончательного подбора регулировочных шайб гайку фланца карданного шарнира затягивают моментом 240-360 Н-м (24-36 кгс-м) и зашплинтовывают.
 Преднатяг контролируют по величине деформации картера при затягивании регулировочных гаек. При регулировке предварительно затягивают болты крепления крышек 22 моментом 100-120 Н-м (10-12 кгс-см). Затем завертыванием регулировочных гаек обеспечивают такой преднатяг подшипников, при котором расстояние между торцами крышек подшипников увеличивается на 0,1-0,15 мм. Расстояние замеряют между площадками для стопоров гаек подшипников дифференциала. Для того чтобы ролики в обоймах подшипников занимали правильное положение, в процессе регулировки корпус дифференциала надо провернуть несколько раз. При достижении необходимого преднатяга регулировочные гайки стопорят, а болты крепления крышек подшипников окончательно затягивают моментом 250-320 Н-м (25-32 кгс-м) и также стопорят.
 Регулировка подшипников 12, 18 (см. рис.4) ведущего проходного вала осуществляется изменением толщины набора регулировочных прокладок 11 и 16. При правильно отрегулированных подшипниках момент сопротивления проворачиванию ведущего проходного вала должен быть 1-2 Н-м (0,1-0,2 кгс-см). Болты крепления крышек подшипников надо затягивать моментом 60-80 Н-м (6-8 кгс-м).
 Затяжку болтов крышки подшипников проводить моментом 60-80 Н-м (6-8 кгс-м).
 Регулировочные работы выполняйте на снятой с автомобиля главной передачи. Величину натяга контролируйте моментом, необходимым, для поворота вала. Момент сопротивления повороту определяйте при помощи динамометра.
 – 325 с., ил.25.
 Основным способом изменения направления движения является …
 Компрессор, регулятор …

 Б этих условиях дифференциал блокируют, ведущие валы главных передач ведущих ростов жестко соединяются и вращаются с одинаковыми частотами. При этом буксование ведущих колес уменьшается, а проходимость автомобиля улучшается.
 


 скорость 

 См
 По этой схеме в конструкцию дизеля внесен ряд изменений и преобразований — добавлен газосмеситель, функция хранения, управления и ввода газа, функция взаимосвязанного регулирования насосной рейкой, отвечающей за подачу дизельного топлива, и газовый редуктор. Более того, нашла свое место функция защиты двигателя от перегрузок и аварий, если перестала функционировать система подачи топлива.

 5 т
